
11月26日,大冢制药宣布,其创新药物 斯贝利单抗(Voyxact)已获得FDA加速批准,用于治疗有疾病进展风险的原发性免疫球蛋白A肾病(IgAN)成人患者,以显著减少蛋白尿,能实现1月给药一次。
由此,IgA肾病治疗药物步入了长效给药研发阶段。
今年8月和9月,诺华的阿曲生坦和伊普可泮分别在国内获批用于IgA肾病,同时期,国内荣昌生物的泰它西普拟纳入优先审评品种,用于治疗具有进展风险的原发性免疫球蛋白A(IgA)肾病成人患者。
IgA肾病已经成了近期的行业热潮,有多款新品上市,蓝海泛红。
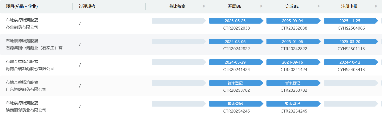
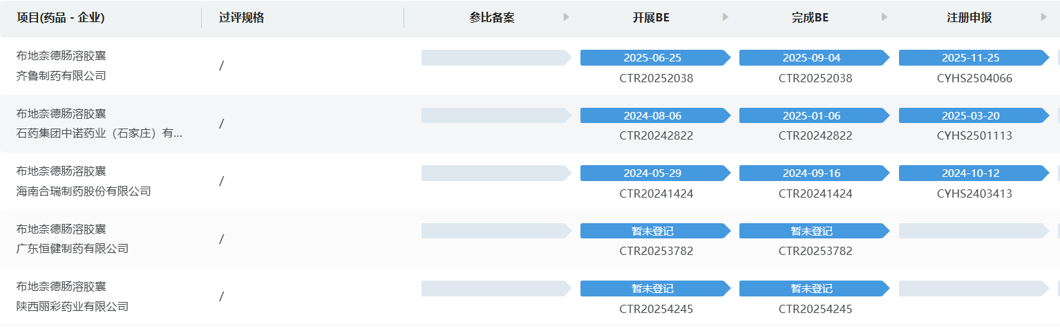
此前IgA肾病治疗药物最成功的品种当属布地奈德肠溶胶囊,布地奈德肠溶胶囊(耐赋康®)是全球首个IgA肾病对因治疗药物,也是被美国FDA、欧盟EMA、中国NMPA三大权威机构先后批准为全球第一款IgA肾病的对因治疗药物。原研公司为Calliditas,2019年,云顶新耀引进了其在大中华地区和新加坡的商业化权益,并于2023年11月24日在中国附条件获批上市。
目前仅进口一家企业获批,云顶新耀获得了该产品在中国大陆地区的独家商业化权益。
今年5月,云顶新耀的耐赋康被纳入指南预审版,推荐对有疾病进展风险的IgA肾病患者进行9个月的布地奈德肠溶胶囊对因治疗,不受蛋白尿水平的限制,以降低致病性IgA(Gd-IgA1)(2B)。
这一突破性推荐标志着IgA肾病治疗领域迈入了一个全新的阶段,证实了其作为IgA肾病一线治疗基石的地位。
布地奈德肠溶胶囊作为重磅药物,其临床价值的认可也转化为了亮眼的市场业绩。数据显示,布地奈德国内市场2024年销售额达75亿元,同比增长11%,2025年第一季度销售额再破18亿元。










川公网安备51019002008863号
本网站未发布麻醉药品、精神药品、医疗用毒性药品、放射性药品、戒毒药品和医疗机构制剂的产品信息
收藏
登录后参与评论
暂无评论