
12月29日,NMPA发了一批通知件,比拉斯汀又一次霸屏,一天内7家企业被下通知件。

继上次三天驳回7家之后,这次一天内就驳回了7家,这个品种究竟怎么了?此前推测是因为比拉斯汀目前在国内从未获批儿童适应症,或是因适应症选择问题。但有业内对此提出质疑,适应症问题没有发补的可能,山东朗诺和深圳贝美的比拉斯汀口服溶液两者均进入了资料发补阶段。

图源:药可知道公众号
同时有业内提出另一个推测:原料药问题。

图源:药可知道公众号
据悉,比拉斯汀原料存在一定难度,晶型极难控制,且杂质谱复杂。
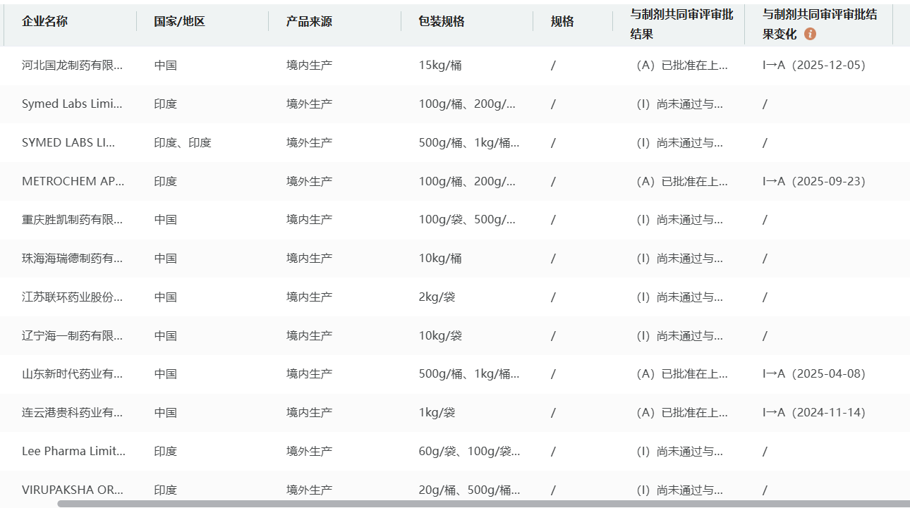
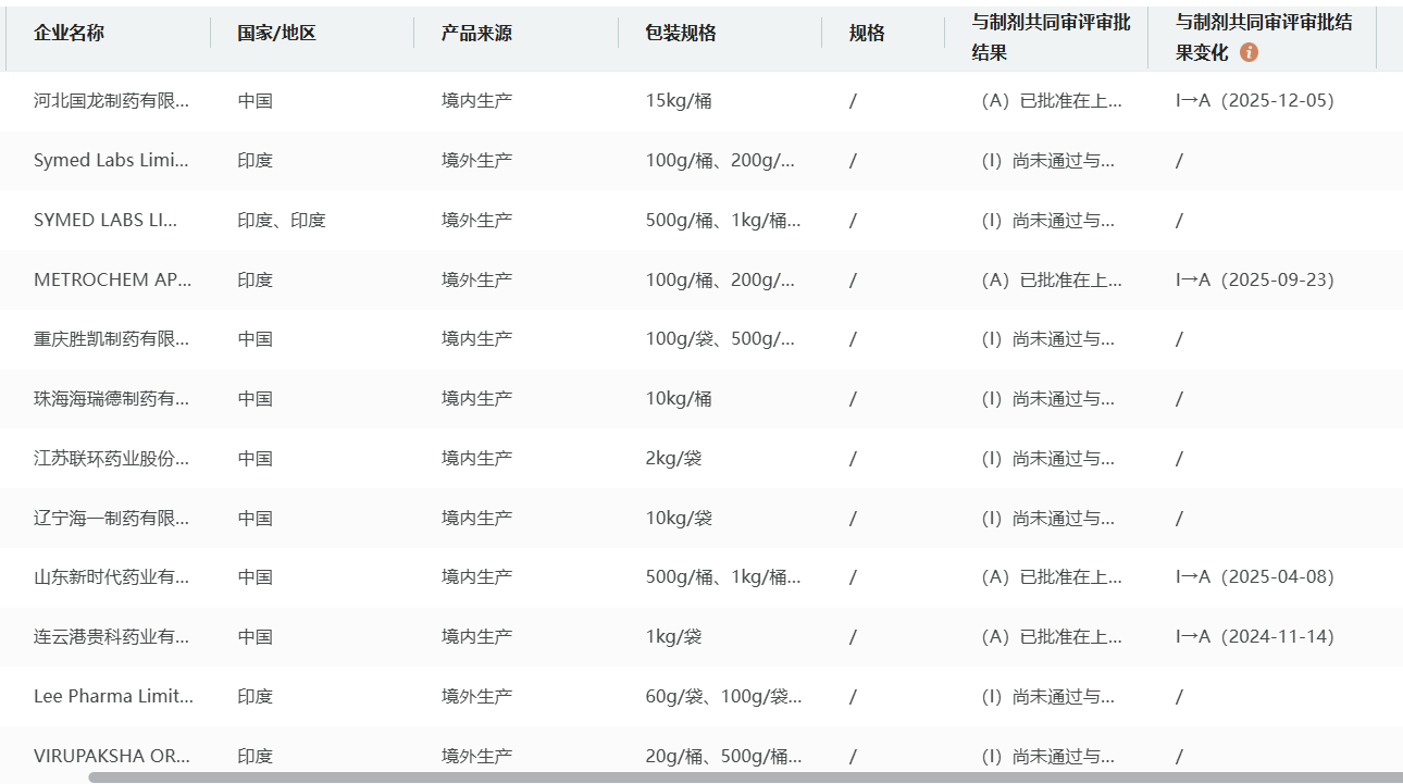
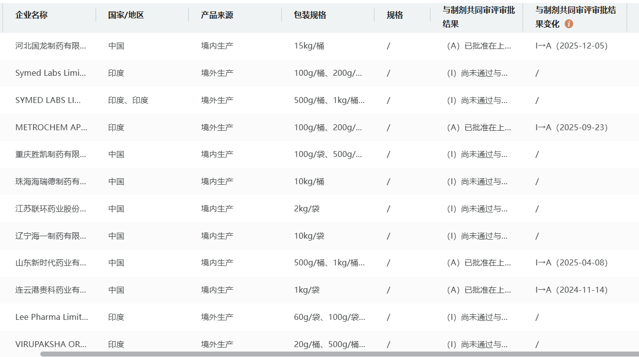
目前此品种原料药共有12家企业登记,其中4家已成功转A,包括三家国内药企,河北国龙制药、山东新时代药业和连云港贵州药业;还有一家印度药企Metrochem。

查数据,找摩熵!图源:摩熵医药数据库
比拉斯汀国内共有3家药企持有批文,原研意大利Menarini、江苏华阳制药和山东新时代药业。
从转A时间可以初步推测出已上市企业使用了哪家原料药(仅猜测)。
江苏华阳制药的比拉斯汀片于2024年11月11日过评,大概率用的是连云港贵科药业有限公司的原料药。
山东新时代的比拉斯汀片2025年4月25日过评,大概率用的是自有原料药。
山东新时代的比拉斯汀口崩片在2025年9月19日过评,这个时间点与印度企业METROCHEM的原料药转A时间接近,但存疑,山东新时代自己有原料何必去印度外购。
河北国龙制药的原料药是跟哪家制剂联合申报转A的无从得知。
注意到,印度的原料是有成功转A的。
只能说比拉斯汀原料药存在难度,关联的某家原料或许不符合工艺要求,导致如此批量驳回的惨案。
目前比拉斯汀片剂已有9家企业收到代表失败的通知件,尚有12家企业在走审评流程,其中浙江普利、山东朗诺、江苏悦兴均已完成发补资料审评,于12月离开新报任务,就是不知结果是批准件还是通知件。
印度企业Heter从审评进度看,今年7月给了发补资料的机会,暂未提报资料。
比拉斯汀口服溶液已有5家企业收到了通知件,尚有12家企业在走审评流程,海南海灵化学制药正在进行发补资料审评。
比拉斯汀口崩片已有2家企业收到通知件,尚有4家在走审评流程,山东朗诺同样已完成发补资料审核。
如果真是选择的原料药有问题,山东朗诺片剂、口服溶液、口崩片申报时间相差不多,审评进度也很接近,口服溶液已经失败,其余两款或许有些危险了。
附表1:比拉斯汀未被批准目录

附表2:比拉斯汀正在审评目录(截图自摩熵医药数据库)
比拉斯汀片:

比拉斯汀口服溶液:

比拉斯汀口崩片:

参考来源:
[1] NMPA官网
[2] 摩熵医药(原药融云)数据库
[3] 药可知道公众号
扩展阅读:
1. 鲁南制药拿下比拉斯汀口崩片国内首仿+首家过评,过敏市场迎新局
3. 仿制药市场波澜:近200个产品过评,乙酰半胱氨酸注射液继续被驳回!
查数据,找摩熵!想要解锁更多药物研发信息吗?查询摩熵医药(原药融云)数据库(vip.pharnexcloud.com/?zmt-mhwz)掌握药物基本信息、市场竞争格局、销售情况与各维度分析、药企研发进展、临床试验情况、申报审批情况、各国上市情况、最新市场动态、市场规模与前景等,以及帮助企业抉择可否投入时提供数据参考!注册立享15天免费试用!








川公网安备51019002008863号
本网站未发布麻醉药品、精神药品、医疗用毒性药品、放射性药品、戒毒药品和医疗机构制剂的产品信息
收藏
登录后参与评论
暂无评论