
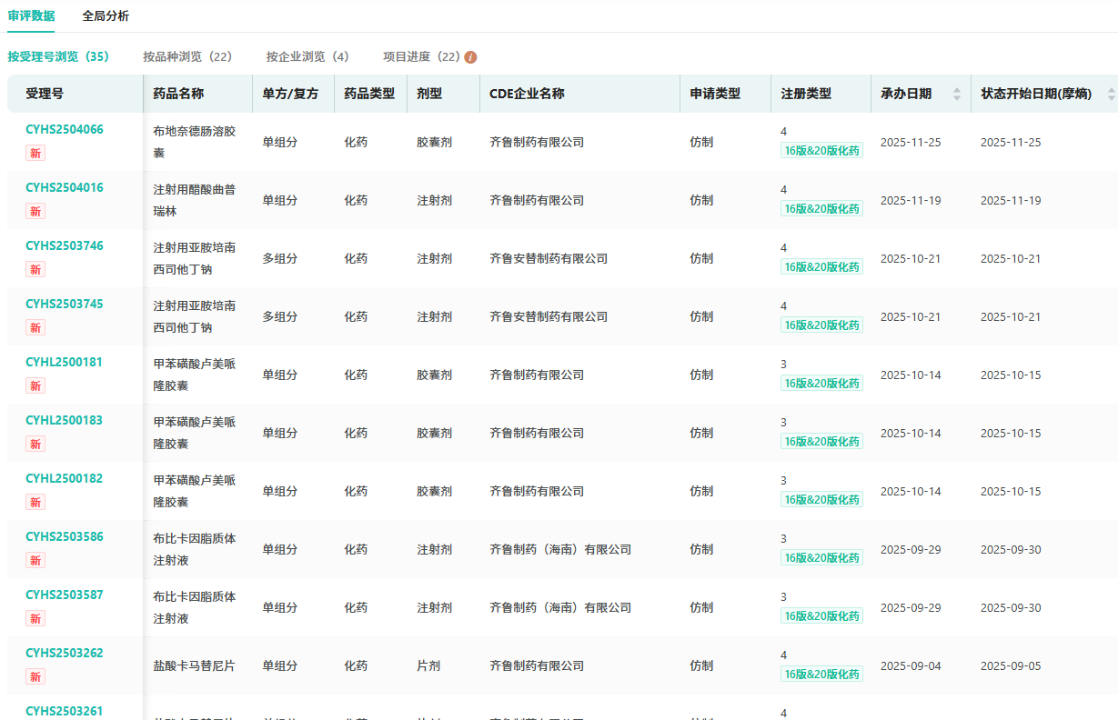
11月25日,据CDE官网显示,齐鲁制药提交的4类仿制药——布地奈德肠溶胶囊的上市申请获受理。据摩熵医药数据库显示,此前已上市的布地奈德制剂主要有吸入用混悬液、鼻喷雾剂、吸入气雾剂、吸入粉雾剂等剂型,国内尚无布地奈德肠溶胶囊的仿制药企业获批。

截图来源:CDE官网
布地奈德肠溶胶囊(商品名:耐赋康)是全球首款IgA肾病对因治疗药物,由Calliditas Therapeutics研发。2023年11月,布地奈德肠溶胶囊在国内获批,成为我国唯一一款获批IgA肾病适应症的治疗药物。
布地奈德是一种具有抗炎作用的糖皮质激素类药物,吸入用布地奈德混悬液为目前国内市场上最主要的布地奈德制剂,摩熵医药数据显示,吸入用布地奈德混悬液在2024年全终端医院销售额超53亿元,同比增长达31.94%,2025年上半年销售额超20亿元,市场潜力可期。而布地奈德肠溶胶囊在2025年上半年也取得了超9千万元的销售额。










川公网安备51019002008863号
本网站未发布麻醉药品、精神药品、医疗用毒性药品、放射性药品、戒毒药品和医疗机构制剂的产品信息
收藏
登录后参与评论
暂无评论