
10月8日,据NMPA官网最新公示,齐鲁制药申报的利奥西呱片获批上市并视同通过一致性评价,该产品为首家获批上市。针对利奥西呱,默沙东与拜耳已战略合作推广,2023年全球销售额超9亿美元。

截图来源:NMPA官网
利奥西呱原研是拜耳/默沙东联合开发的一款可溶性鸟苷酸环化酶(sGC)激动剂,适应症为用于治疗慢性血栓栓塞性肺动脉高压(CTEPH)和动脉肺动脉高压(PAH)。2013年获FDA批准上市,用于慢性血栓栓塞性肺动脉高压和肺动脉高压。据药融云数据库显示,利奥西呱在2023年全球的销售额超9亿美元。利奥西呱片在2023年全国院内的销售额超6千万,同比增长达33.37%。

截图来源:摩熵医药(原药融云)全国医院销售数据库
利奥西呱于2017年9月进入中国市场,目前已经通过谈判进入了医保乙类目录。2023年医保目录仅含7款肺动脉高压靶向药,利奥西呱为其中之一。据药融云数据库显示,此前,利奥西呱片在国内市场上只有原研上市销售。此次齐鲁药业顺利获批,拿下国内首仿+首家过评。

截图来源:摩熵医药(原药融云)过评药品汇总数据库
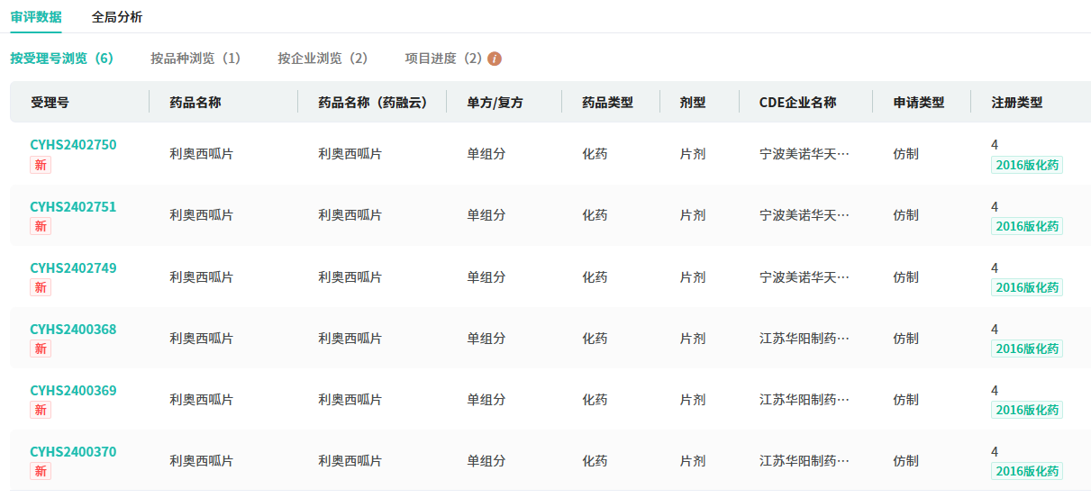
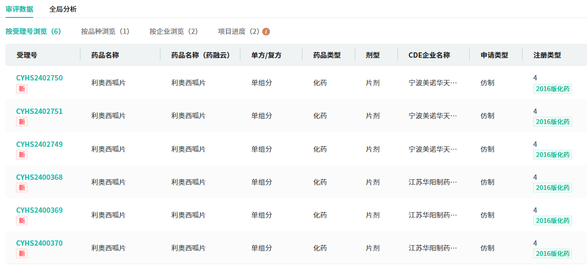
利奥西呱在中国的化合物专利已于2023年在中国到期,据药融云数据库显示,利奥西呱片目前有宁波美诺华天康药业、江苏华阳制药2家药企提交了4类仿制药报产。

截图来源:摩熵医药(原药融云)中国药品审评数据库
2024年至今,齐鲁制药(含子公司)有37个品种过评,其中利奥西呱片、卡维地洛片、二甲双胍恩格列净片(Ⅵ)、头孢泊肟酯片、恩曲他滨利匹韦林丙酚替诺福韦片等9个品种为首家过评。
参考来源:
[1] NMPA官网
[2] 药融云数据库
<END>
想要解锁更多药物研发信息吗?查询药融云数据库(vip.pharnexcloud.com/?zmt-mhwz)掌握药物基本信息、市场竞争格局、销售情况与各维度分析、药企研发进展、临床试验情况、申报审批情况、各国上市情况、最新市场动态、市场规模与前景等,以及帮助企业抉择可否投入时提供数据参考!注册立享15天免费试用!








川公网安备51019002008863号
本网站未发布麻醉药品、精神药品、医疗用毒性药品、放射性药品、戒毒药品和医疗机构制剂的产品信息
收藏
登录后参与评论
暂无评论