
据药融云数据库获悉:近期,烨辉医药与其子公司BK Pharmaceuticals Limited(BK Pharma)共同宣布,乐舒克® (甲磺酸贝舒地尔片)/Belumosudil正式获得中国国家药品监督管理局(NMPA)批准,用于治疗对糖皮质激素或其他系统治疗应答不充分的12岁及以上的cGVHD患者。

截图来源:NMPA官网
乐舒克®(甲磺酸贝舒地尔片)是中国第一个也是唯一一个获批的靶向Rho相关卷曲螺旋激酶2(ROCK2)的疗法,这是一种调节炎症反应和纤维化过程的信号通路。
cGVHD是一种可能发生在异基因造血干细胞移植后的严重并发症,移植过来的造血干细胞产生的免疫细胞攻击受体的组织,严重的可导致移植失败、患者的血液肿瘤复发,甚至死亡。
关于烨辉医药
一家以科技创新、临床应用创新为特色的生物制药公司。针对临床治疗上还存在未满足医学需求的疾病,致力于开发和商业化创新药物以填补治疗空白。烨辉医药总部位于上海张江,是一家迅速发展的生物制药企业。产品管线的搭建建立在内部研发、与尖端生物科技公司的合作以及引进海外优质在研药物的基础上,凭借一支实力雄厚、经验丰富的专业团队,借助资本的力量,烨辉医药致力于为中国和全球的患者提供解决临床痛点的高质量创新药物。
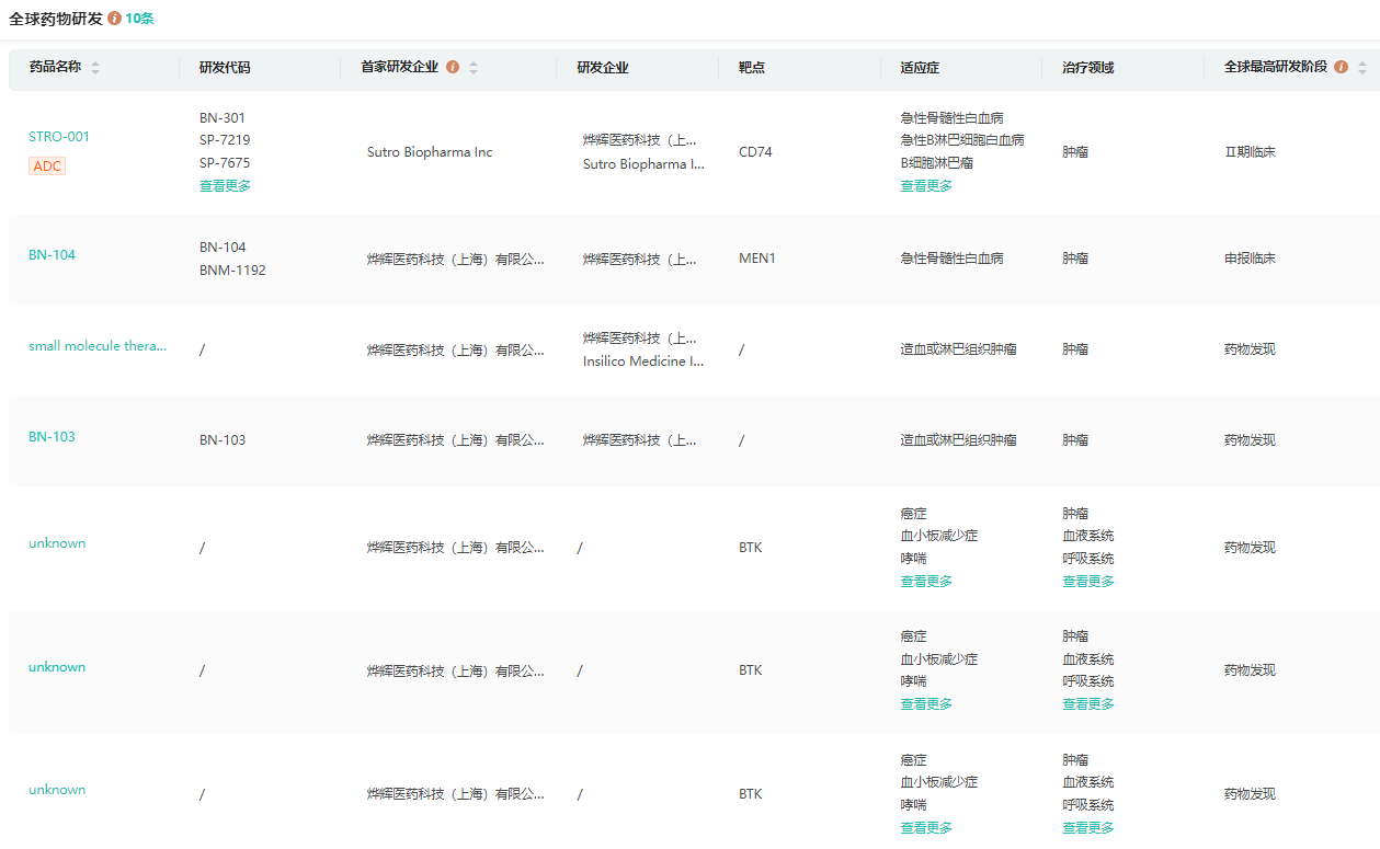
烨辉医药全球药物研发管线

截图来源:药融云全球药物研发数据库
要解锁更多企业药品研发信息吗?查询药融云数据库(vip.pharnexcloud.com/?zmt-mhwz)掌握药品各国上市情况、药品批文信息、销售情况与各维度分析、市场竞争格局、一致性评价情况、集采中标情况、药企申报审批信息、最新动态与前景等,以及帮助企业抉择可否投入时提供数据参考!注册立享15天免费试用!








川公网安备51019002008863号
本网站未发布麻醉药品、精神药品、医疗用毒性药品、放射性药品、戒毒药品和医疗机构制剂的产品信息
收藏
登录后参与评论
暂无评论