
近期,儿童肺炎支原体肺炎席卷全国各大医院,全国多地儿科门诊经历就诊高峰。而支原体肺炎大势尚未褪去,甲流、疱疹性咽峡炎、手足口等多种传染病已经开始有流行趋势。
儿童支原体肺炎来势汹汹,自行用药需谨慎
肺炎支原体肺炎(MPP)指肺炎支原体感染引起的肺部炎症,可以累及支气管、细支气管、肺泡和肺间质。肺炎支原体肺炎是我国5岁及以上儿童最主要的社区获得性肺炎(CAP)。
今年2月,国家卫健委发布的《儿童肺炎支原体肺炎诊疗指南》中,指出大环内酯类抗菌药物为MPP的首选治疗用药,包括阿奇霉素、克拉霉素、红霉素、罗红霉素和乙酰吉他霉素。此外,根据辨证施治原则,MPP还可以联合使用清热宣肺等中药治疗。
因此,被认为可治疗肺炎支原体感染的用药“三件套”——“阿奇霉素+布洛芬+愈酚甲麻那敏”最近也在网络上热传。但医生提醒,阿奇霉素不能自行随意使用,需经过医生判断,孩子确需服用阿奇霉素来进行抗感染治疗,用药仍有很多需要注意的细节。不建议家长盲目照搬网络上的推荐自行用药。
阿奇霉素国内获批上市适应症(部分)

图片来源:药融云全球药物研发数据库
儿科用药市场规模超416亿,市场需求巨大
由于儿童各器官发育尚不完善,对药物代谢、排泄能力较低,药物不良反应相对高发。而儿科中成药由于副作用小、药效安全等原因,市场需求一直很大。
今年六月,国家中医药管理局综合司联合国家药品监督管理局综合司发布通知,为加快推动古代经典名方中药复方制剂上市,将《古代经典名方关键信息表(“异功散”等儿科7首方剂)》对外公布。儿科中成药国产新药迎来政策红利,有望加速上市。
药融云数据显示,在我国零售和等级医院终端市场,儿童用药销售额2022年超416亿元,今年上半年销售额近233亿。在医院终端中成药市场,儿科用药2019年的销售规模为91亿元,2020年受疫情影响大幅下滑,2021年起恢复正增长,2022年升至96亿元,是2013年以来的销售峰值。
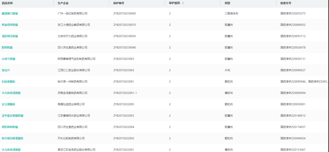
中药保护品种查询

图片来源:药融云中药保护品种数据库
在利好政策激励和用药需求增加的双重刺激下,中成药儿科用药在全国医院终端市场快速回暖。2023年上半年儿科中成药迎来爆发,市场规模首超52亿元,今年有望突破100亿大关。
医院市场儿童感冒中成药,济川药业、康缘药业领跑
在全国医院终端,咳嗽和感冒用药居儿童用药榜首。其中,TOP20产品中,10余个品种销售过亿,独家产品表现抢眼,济川药业的小儿豉翘清热颗粒、康缘药业的金振口服液等产品领跑市场。
药融云全国医院销售(全终端)数据库显示,小儿豉翘清热颗粒2022年在医院端的销售规模达到19.31亿元,同比增长19%;金振口服液医院端的销售规模突破10亿元大关,同比增长36.23%。
济川药业的小儿豉翘清热颗粒是儿科感冒用药,它主要用于治疗小儿感冒、急性扁桃体炎、上呼吸道感染、流行性感冒、手足口病、疱疹性咽峡炎等疾病。

图片来源:药融云全国医院销售(全终端)数据库
小儿豉翘清热颗粒一直稳坐儿童感冒中成药销售冠军宝座,在医院终端从2015-2019年及2021-2022年的销售额增长率均在双位数,并在2018年成功突破10亿元大关,2022年涨至近20亿元。
江苏康缘药业的金振口服液是儿科止咳祛痰用药,具有清热解毒、化痰止咳等功效,同样可用于用于治疗小儿感冒、急性扁桃体炎、上呼吸道感染、流行性感冒等疾病。在医院终端市场,金振口服液从2015-2019年及2021-2022年的销售额增长率也同样在双位数,并在2022年成功晋升成10亿产品。

图片来源:药融云全国医院销售(全终端)数据库
目前,在儿科用药市场中,济川药业、一品红(芩香清解口服液)、扬子江药业(神曲消食口服液)、康缘药业等药企凭借在儿科疾病领域的独家中成药产品占据了一席之地,多个王牌中药产品连续多年增长。中成药儿科用药市场快速恢复快速,领军企业进一步抢占市场,亿级产品洗牌频繁。
新版基药目录调整在即,儿科中成药或受益
截至到现在,我国一共发布过5版基药目录,最近一版是2018年的。在基药目录中,最值得关注的方向之一就是儿科中成药。2018版的基药目录首次在中成药部分增加了儿科用药,但整体来看儿科用药占比仍然比较有限,儿科专用药仅22个品种,其中化学药品5个品种,中成药17个品种(13种组方)。
近几年,政策层面一直在向儿科用药倾斜,从2021年的《中国儿童发展纲要(2021—2030年)》到今年出炉的《关于进一步加强儿童临床用药管理工作的通知》,无一不强调国家儿童基本药物目录的重要性。
基药目录药品查询

图片来源:药融云基药目录数据库
儿科用药本身市场也足够广阔,无论是在医院端还是零售端,儿科用药的销售规模一直呈现稳步增长态势。儿科中成药市场持续火热,吸引到越来越多药企进入赛道。
药融云数据显示,目前国内有超过40款儿科中药新药处于申请临床及以上阶段(不含已上市产品新增适应症或人群),涉及济川药业、健民药业、葫芦娃药业、康缘药业等多家明星企业。
<END>
要解锁更多企业药品研发信息吗?查询药融云数据库(vip.pharnexcloud.com/?zmt-mhwz)掌握药品各国上市情况、药品批文信息、销售情况与各维度分析、市场竞争格局、一致性评价情况、集采中标情况、药企申报审批信息、最新动态与前景等,以及帮助企业抉择可否投入时提供数据参考!注册立享15天免费试用!








川公网安备51019002008863号
本网站未发布麻醉药品、精神药品、医疗用毒性药品、放射性药品、戒毒药品和医疗机构制剂的产品信息
收藏
登录后参与评论
暂无评论