药物体外溶出行为可预测体内崩解、溶出和吸收情况,并反映制剂质量。不同溶出介质的溶出曲线能更全面、灵敏地体现关键要素变化。当溶出曲线数量足够时,可建立溶出曲线数据库,为口服固体制剂监管和研发提供科学参考。
所以掌握药品溶出曲线的查询方法,就成为了仿制药研发的一项基本功。都知道溶出曲线是评价口服固体制剂质量的关键指标,尤其在仿制药研发和一致性评价中尤为重要。然而,各国溶出数据的查询渠道分散、语言壁垒高,常让新入研究者无从下手。本文整合国家药监局、FDA、日本橙皮书及摩熵医药平台等权威信源,分享美国、日本、中国等国溶出曲线信息的查询方法。
①美国FDA溶出方法数据库
FDA溶出方法数据库收录了1300余种药品的溶出方法及数据,覆盖桨法、篮法等主流装置,虽然fda不直接提供溶出曲线本身,但可以通过一系列指南和方法来规范溶出曲线的研究和比较,包括参比制剂(RLD)的溶出条件(如介质、转速、取样时间等),但数据格式较基础,需结合文献解读。

查询步骤:
▲访问FDA溶出方法数据库
▲输入药品英文名或活性成分检索(如上图输入的“chlorthalidone”)
▲获取溶出介质、转速、取样时间点等关键参数(注意:部分数据需付费订阅)
查询技巧:可结合摩熵医药-美国橙皮书免费查询参比制剂信息,实现中美数据交叉验证。
②日本橙皮书(医疗用药药品品质情报集)
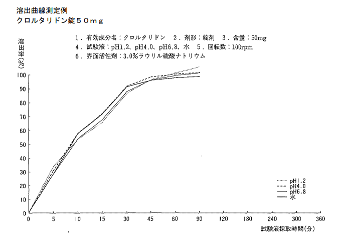
日本厚生省每年发布的权威溶出数据,现已收录了1200余种与原研药溶出行为一致的仿制药,还包含溶出度试验方法、质量标准及再评价进展等内容,尤其是提供了4种pH介质(1.2、4.0、6.8、水)下的标准溶出曲线及试验条件,数据详尽,提供直观的曲线对比图等信息。
查询步骤:
①进入日本橙皮书官网

②搜索通用名,如上图搜索的氯噻酮(chlorthalidone的日语译文),点击‘溶出曲线’链接即可展示其溶出曲线,如下图。

图:日本橙皮书-氯噻酮溶出曲线
另外补充一下仿制药质量信息研究数据库(蓝皮书)的查询方法,日本蓝皮书收集大部分日本上市的基础药品,详细介绍了药品溶出试验方法和溶出数据,对一致性评价有很大参考作用。
查询步骤:首先进入日本‘仿制药和生物仿制药质量信息研究组’官网,点击查看溶出试验信息,以查看‘厄贝沙坦片’为例,可以看到16家药企关于20mg规格的’厄贝沙坦片’对比数据。




相比于FDA不同的是,日本溶出曲线数据库有溶出曲线图例,对同一品种不同厂家之间不同溶出行为可进行直观比较,并且可以直观地反映参比制剂在不同介质条件下的溶出行为。
③国家药监局NMPA官网收载的日本溶出信息
国家药监局官网整合了日本橙皮书编译数据,支持中文检索,涵盖溶出方法、标准曲线及原料药理化性质,但数据截止2011年,这里就不详细介绍了。更多数据也可通过摩熵医药-日本橙皮书数据库来免费查询药品溶出数据,弥补缺失数据。
④摩熵医药官网
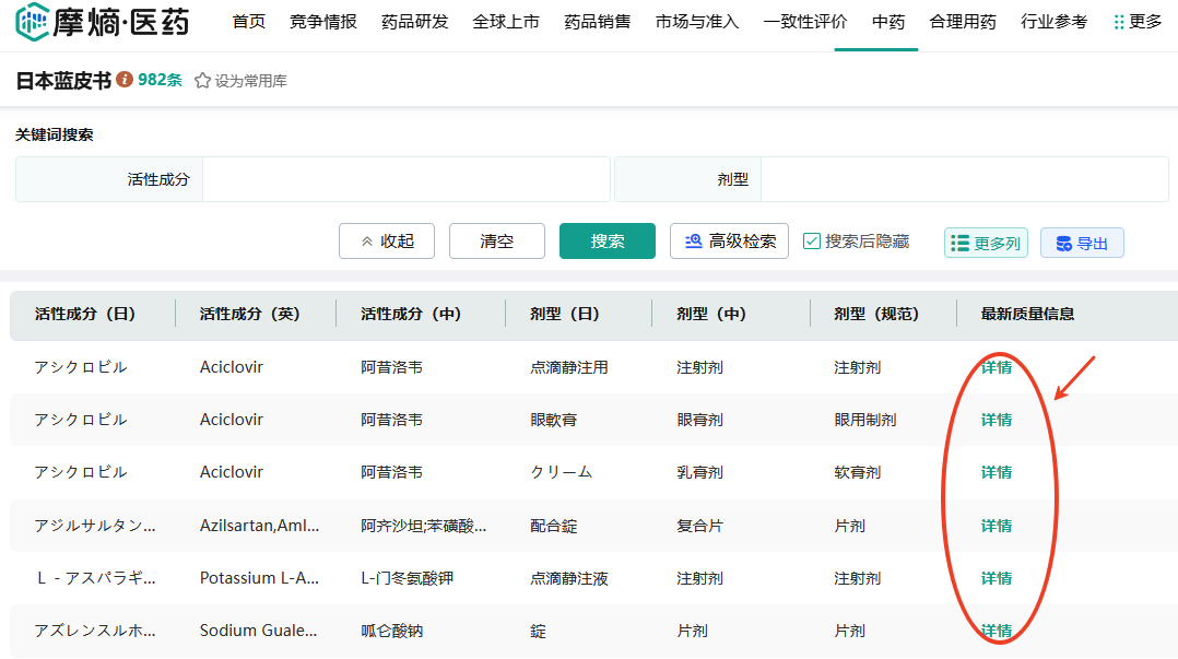
摩熵医药官网的【日本橙皮书】、【日本蓝皮书】即《医疗用药品最新质量信息集》、【美国橙皮书】及【药品标准】等多个数据库目前均为免费公开使用,其中日本橙皮书与日本蓝皮书均可快速搜索得到药品溶出信息。

截至2025年,摩熵医药的【日本橙皮书】已收录1万2千余条数据。该数据库信息比美国更细致,包含完整的说明书。用户可查询日本上市药品的活性成分、商品名、持证商、溶出曲线及说明书文件。


摩熵医药的【日本蓝皮书】是《日本医疗用药品最新质量信息集》的简称。它基于日本仿制药质量信息研讨会的检验结果,汇集了各有效成分的质量信息近1000条,旨在为医药工作者提供参考,提升仿制药质量的可信度。蓝皮书收录的药品原则上为列入日本国家医疗保险药品价格标准的仿制药(不包括过渡期药品),但不涵盖生物制品、酶制品等难以比较质量的药品。
日本蓝皮书记录了以下内容:文件发布日期、有效成分、仿制药名称、原研药名称、适应症/功效、用法用量、添加剂、解离常数、溶解度、原研药稳定性、膜透过性、BCS/Biowaiver选项、药效分类、规格单位、生物等效性试验结果、溶出试验结果、仿制药质量检验结果及分析方法等。

截至2025年,摩熵医药的【美国橙皮书】已收录四万余条数据。该数据库在FDA官网基础上,提供更全面的检索方式,支持精确查询和条件筛选。用户可通过输入药品名称、正文内容等方式,实现多维度检索。检索结果涵盖产品剂型、给药途径、注册审批号、批准日期、专利号、市场状态、是否为参比药物、是否为参比标准、专利独占许可信息等详细信息。

最后说一下欧洲地区的药品溶出数据吧,欧洲暂无集中公开的溶出数据库,但可参考欧洲药典(Ph. Eur.)及EMA官网,里面有部分药品审评报告(EPAR)中可能包含溶出试验数据。
免费资源汇总:
FDA数据库:www.accessdata.fda.gov/scripts/cder/dissolution/index.cfm
日本橙皮书:www.jp-orangebook.gr.jp/cgi-bin/search_h/search.cgi
摩熵医药(曾用名:药融云):www.pharnexcloud.com
部分参考内容:《中国药事》2021年第35卷第4期
原标题:《美、日溶出曲线数据库对比研究及我国溶出曲线数据库建设进展》
作者:刘倩,张广超,牛剑钊,许鸣镝(中国食品药品检定研究院,北京)







川公网安备51019002008863号
本网站未发布麻醉药品、精神药品、医疗用毒性药品、放射性药品、戒毒药品和医疗机构制剂的产品信息
收藏
登录后参与评论
暂无评论