
近日,中国中药行业的上市企业纷纷发布了2022年上半年报。今天我们就来看看四家传统中药老字号企业云南白药、东阿阿胶、片仔癀、同仁堂上半年的业绩情况。
传统中药老字号企业2022上半年业绩比拼(部分)

数据来源:药融云上市医药企业年报数据库
从营收情况来看,从高到低分别是云南白药、同仁堂、片仔癀、东阿阿胶。
其中,云南白药营收破百亿达到180.17亿元,虽然在四大传统中药老字号企业中算是一骑绝尘,但是较其2021年同期降低5.59%;归母净利润15亿元,同比下降16.72%,营收净利双降。
云南白药表示,营收同比下滑主要为商业板块受医药集采降价的政策性因素影响,旧的产业逻辑被打破,倒逼药企朝创新方向转型。而医学美容、口腔护理、新零售健康服务赛道成为云南白药第二增长曲线,但就目前来看,其多元化发展收效甚微,其云南白药牙膏、云南白药气雾剂、云南白药膏贴剂依旧是工业产品收入和利润的主要贡献者,尤其是牙膏业务,截至2022年6月末,产品市场份额攀升至24.8%。
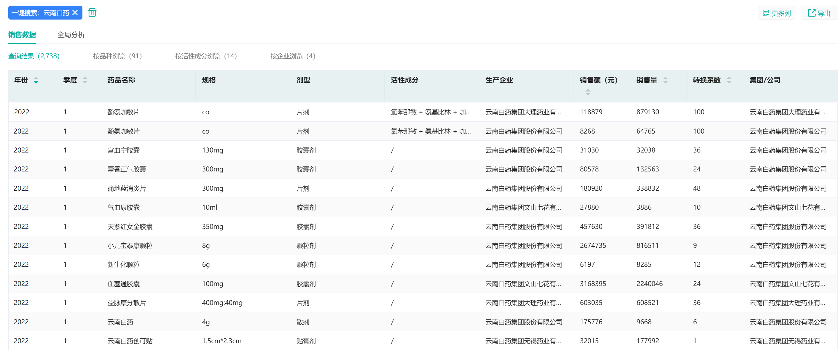
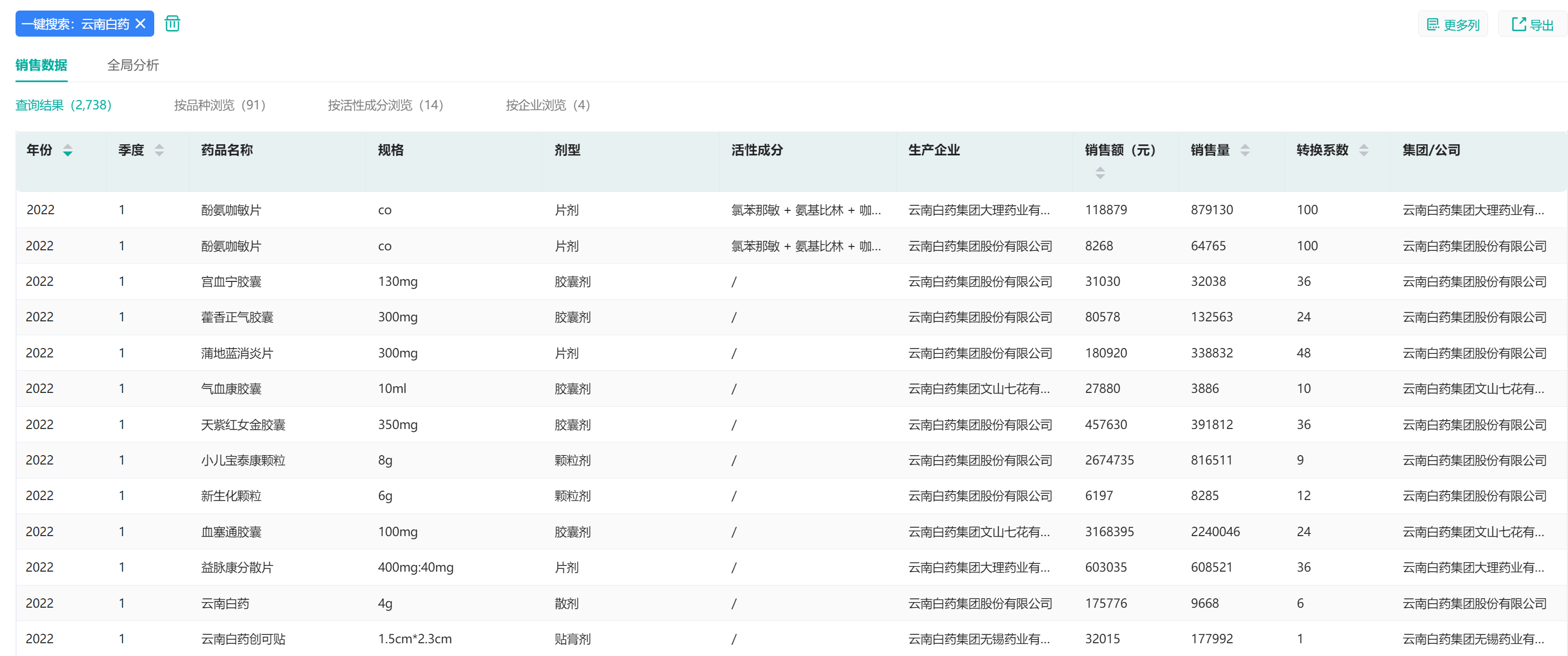
云南白药企业不同药品医院端销售数据(部分)

图片来源:药融云全国医院销售数据库
而同仁堂、片仔癀、东阿阿胶2022年上半年均收获营收净利双增的成绩。
其中,同仁堂延续了一季度“开门红”的良好势头,2022年上半年营业收入75.07亿元,同比增长2.01%;归母净利润7.43亿元,同比增长19.12%。
同仁堂作为中医药老字号企业,常年生产的中成药超过400个品规,品种资源丰富,产品覆盖片剂、硬胶囊剂、颗粒剂、糖浆剂、口服液、口服溶液剂、橡胶膏剂、散剂等 8 种剂型,主要产品为肾炎康复片、血府逐瘀胶囊和脉管复康片,细分市场主要涉及为泌尿系统、心脑血管和周围血管中成药市场。
片仔癀药业2022年上半年实现营收44.23亿元,同比增长14.91%;归母净利润13.14亿元,同比增长17.85%。
漳州片仔癀药业以“片仔癀”为主产品,同时拥有复方片仔癀含片、复方片仔癀软膏、复方片仔癀痔疮软膏、茵胆平肝胶囊、心舒宝片、增乳膏、川贝清肺糖浆、清热止咳颗粒、少林正骨精、藿香正气胶囊、小儿止咳糖浆等系列产品。与此同时,片仔癀还在积极打造属于自己的护肤产品和口腔护理产品。
片仔癀药业药品医院端历年销售趋势

图片来源:药融云全国医院销售数据库
东阿阿胶2022年上半年实现营收18.26亿元,同比增长8.25%;归母净利润3.08亿元,同比增长106.00%。
东阿阿胶营收的三大主力产品是阿胶块、复方阿胶浆和桃花姬阿胶糕,其阿胶及系列产品上半年营收同比增长9.72%至15.94亿元,占总营收比重为87.30%;其他药品及保健品实现营收1.38亿元,占总营收比重的7.55%,同比增加16.14%。
除了主力产品,东阿阿胶还继续深耕气血领域,同时拓展滋阴温阳及骨和心血管相关领域;健康消费品围绕“阿胶+”和“+阿胶”等品类,打造养生膏方、阿胶养颜软胶囊、祛黄褐斑口服液等美容类产品。
东阿阿胶企业药品申报TOP10

图片来源:药融云中国药品审评数据库
从归母净利润来看,东阿阿胶的净利润增长幅度最大。在经历了2019年巨亏4.55亿之后,东阿阿胶在2020年开始扭亏为盈,并于2021年开始大幅修复业绩。进入2022年,随着东阿阿胶的毛利率持续修复,上半年净利润得以翻倍。
从销售费用来看,报告期内云南白药销售费用20.1亿元,同比下降4.19%;同仁堂14.6亿元,同比增长2.67%;片仔癀2.8亿元,同比下降18.84%。而东阿阿胶6.99亿元,同比增长28.26%,远远高于营收增长的8.25%,销售费用率同比增长5.98%达到38.29%,可见东阿阿胶在营销上加大了力度投放。
从研发费用来看,云南白药研发投入1.29亿元,同比增长21.54%;同仁堂研发投入0.72亿元,同比增长%41.18%;片仔癀研发费达1.1亿元,同比增长83.33%;东阿阿胶研发投入0.63亿元,同比增长8.62%。
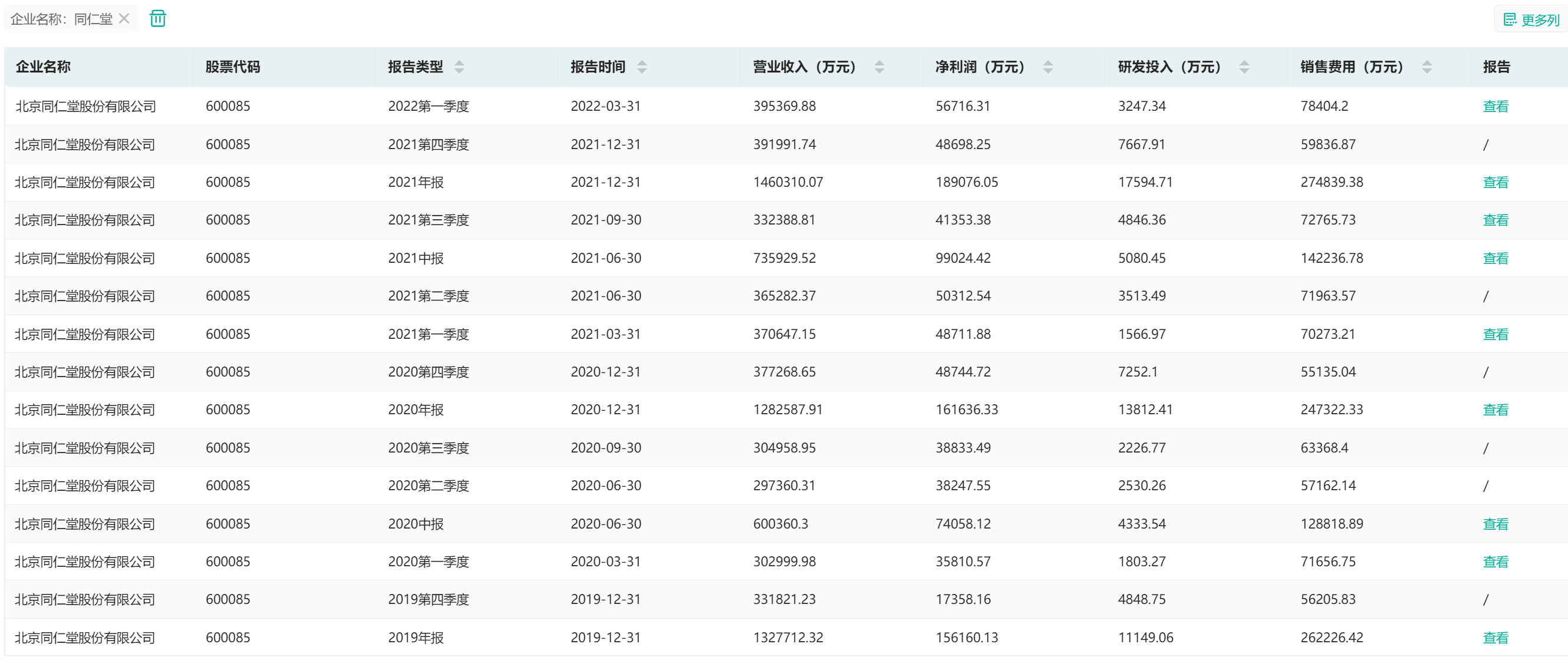
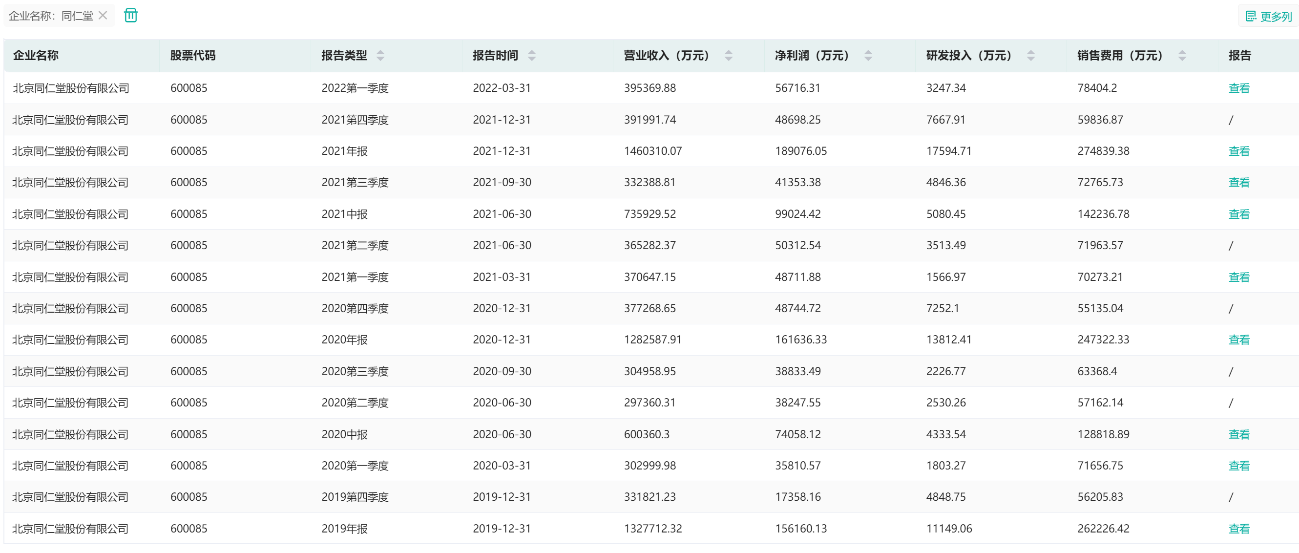
同仁堂历年年报数据(部分)

图片来源:药融云上市医药企业年报数据库
可以看到,各家的研发费用相较于销售费用都较低,但是增长幅度较大。中药企业研发投入低是长期饱受诟病的问题,但随着国家多项政策相继出台加大对中医药产业的扶持力度,鼓励中药产业创新,在政策红利和用药需求下,许多中药企业也加快了产品创新的步伐。
据药融云中国药品审评数据库显示,2019-2021年,共有17个中药新药获批上市。其中,2021年中药新药获批12个,获批数量为近年之最(《2021年中药新药获批上市盘点!数量创新高!哪些药企值得关注?》)。在医药产业新形势中,强大的自主研发能力与全球资源整合能力,才是现代生物医药科技企业竞争的关键。
想要解锁更多药企药品信息吗?查询药融云数据库(vip.pharnexcloud.com/?zmt-mhwz)掌握药企药品布局情况、销售情况与各维度分析、药品申报审批情况、最新进展、市场规模与企业年报等数据!注册立享15天免费试用和虎年首份医药数据大礼包!

<END>







川公网安备51019002008863号
本网站未发布麻醉药品、精神药品、医疗用毒性药品、放射性药品、戒毒药品和医疗机构制剂的产品信息
收藏
登录后参与评论
暂无评论