
10月8日,国家药监局发布公告称,华领医药的葡萄糖激酶激活剂(GK),1类创新药多格列艾汀片(商品名:华堂宁)上市。该药品适用于改善成人2型糖尿病患者的血糖控制。据悉,多格列艾汀片是全球第一款获批上市的葡萄糖激酶激活剂类药物,也是在上海诞生的“全球首创”糖尿病新药。

多扎格列艾汀是葡萄糖激酶激活剂,作用于胰岛、肠道内分泌细胞以及肝脏等葡萄糖储存与输出器官中的葡萄糖激酶靶点,改善2型糖尿病患者血糖稳态失调。该药品的上市为2型糖尿病患者提供了新的治疗选择。
华领医药创始人陈力博士,十年前在上海创立了华领医药。后与罗氏签约,获得了葡萄糖激酶激活剂项目在全球的独家开发和商业化权利,陈力博士带领团队研制出第四代葡萄糖激酶激活剂。“葡萄糖激酶是人体内的血糖传感器,它的失灵是2型糖尿病的根本病因。”陈力说,“如果开发出一种能修复传感器功能的葡萄糖激酶激活剂,就会改善患者的血糖自主调控能力,有望从源头上控制2型糖尿病的进展,并延缓并发症的发生。”
据悉,华领医药的多扎格列艾汀片于2012年在上海张江启动研发项目,2021年完成相关临床试验并以1类新药向药监局递交上市申请。据药融云数据库统计,华领医药该葡萄糖激酶激活剂类药物从被药审中心承办到此次顺利获批上市,总共用时超五百天:
- 2021年4月26日,华领医药递交的多扎格列艾汀片的上市申请被药审中心承办,进入新报任务;
- 2021年7月7日,通知生产现场核查;
- 2022年1月11日,CDE寄发通知;
- 2022年2月15日,多扎格列艾汀片离开新报任务,CDE寄发通知;
- 2022年3月25日,进入补充资料任务,
- 2022年9月15日,离开补充资料任务;
- 2022年10月8日,国家药监局发布公告,批准华领医药对多扎格列艾汀片进行生产销售。
多扎格列艾汀片审评时间轴(部分)(微信搜索"药融云小程序"查看更多)

截图来源:药融云中国药品审评数据库
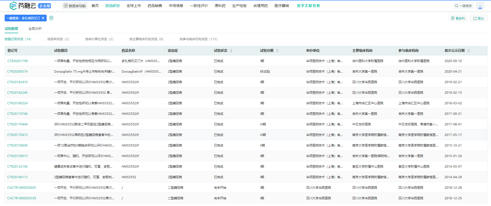
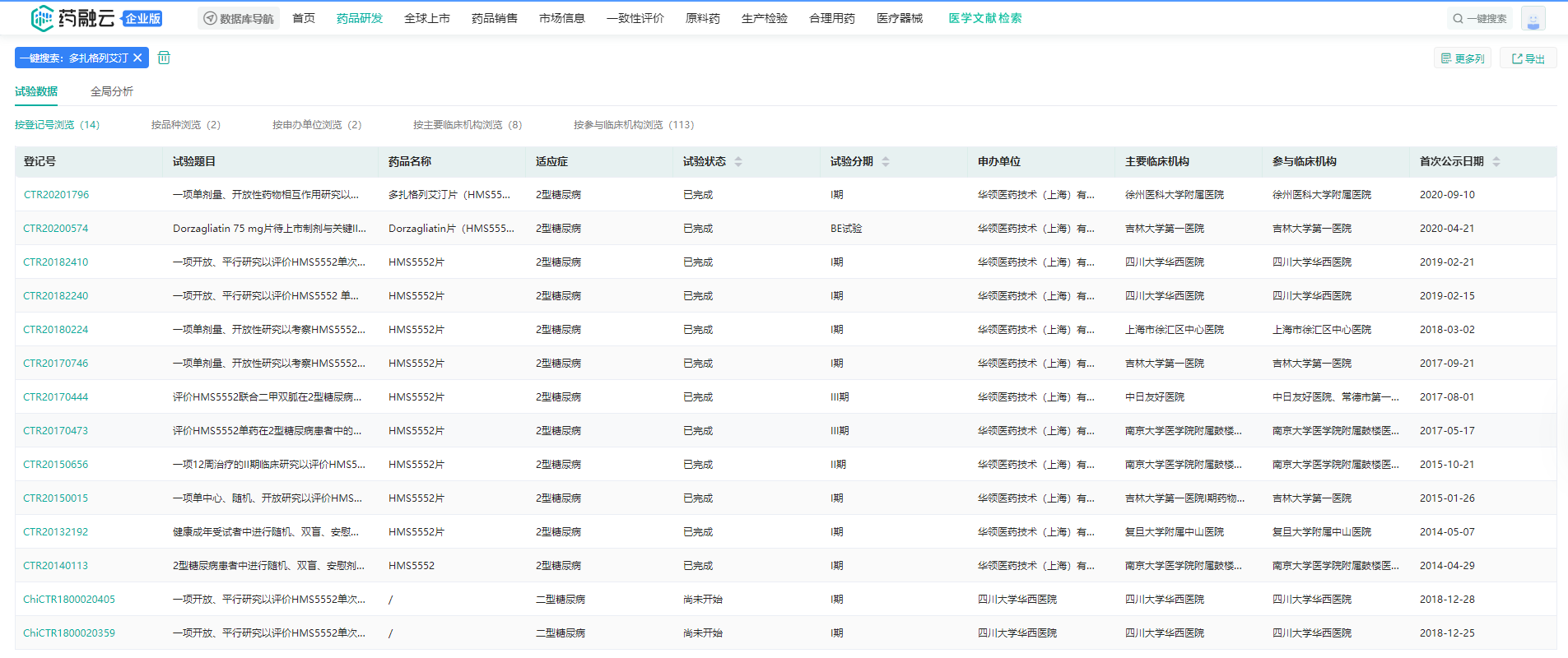
华领医药对该葡萄糖激酶激活剂的研发赋予了极大的重视与期待。据药融云数据库查询显示,华领医药此前曾联合多所医院对多扎格列艾汀片开展多项针对2型糖尿病的临床试验。包括徐州医科大学附属医院、吉林大学第一医院、四川大学华西医院、南京大学医学院等。临床试验结果良好,对2型糖尿病患者的血糖控制效果明显,有望为2型糖尿病患者带来福音。
华领医药对多扎格列艾汀片开展的临床试验情况

截图来源:药融云中国临床试验数据库
参考来源:
[1]国家药监局官网
[2] 药融云数据库
想要解锁更多药企创新药研发信息吗?查询药融云数据库(vip.pharnexcloud.com/?zmt-mhwz)掌握药企创新药产品布局、药物研发信息、申报审批情况、临床试验信息、最新进展、市场规模与前景等,以及帮助企业抉择可否投入研发时提供数据参考!注册立享15天免费试用!

<END>







川公网安备51019002008863号
本网站未发布麻醉药品、精神药品、医疗用毒性药品、放射性药品、戒毒药品和医疗机构制剂的产品信息
收藏
登录后参与评论
暂无评论