2月8日,苏州特瑞药业股份有限公司提交的艾司奥美拉唑镁肠溶胶囊的上市注册申请被CDE承办。
艾司奥美拉唑属于质子泵抑制剂,是奥美拉唑的S异构体,通过特异性地抑制胃壁细胞H+-K+ATP酶而阻断胃酸分泌的最后步骤。奥美拉唑S异构体和R异构体在胃壁细胞的酸性环境中转化为活性成分。艾司奥美拉唑在日剂量20-40mg范围内抑制胃酸分泌的活性呈剂量依赖性。
对于奥美拉唑这一类在酸性条件下不稳定易受到胃酸影响的药物,将之制备为肠溶制剂可以保护药物不受胃酸破坏,更好地从小肠吸收进入血液作用于胃部泌细胞质子泵,提高其生物利用度。
据药融云数据库显示,艾司奥美拉唑的销售额自2014年—2019年一直处于持续上升趋势,最高同比增长30.04%,销售额于2019年达到最高48.42亿元。近两年销售额稍有下降,但依旧稳定在年销售额46亿元上下。在剂型方面,销售最多的是注射剂,其次是片剂,最后是胶囊剂。在企业方面,阿斯利康占了六成的市场份额,其次是正大天晴药业集团、江苏奥赛康、重庆莱美药业。
艾司奥美拉唑全国医院销售情况

截图来源:药融云全国医院销售数据库
作为仿制药大品种艾司奥美拉唑镁肠溶制剂的参比制剂也有较为明确的文件参考。在仿制药参比制剂目录(第十批)、(第十二批)、(第二十三批)、(第二十七批)以及(第二十九批)中,分别列出了艾司奥美拉唑镁肠溶片、艾司奥美拉唑镁肠溶胶囊、艾司奥美拉唑镁肠溶干混悬剂所对应的参比制剂情况,见下图。










艾司奥美拉唑肠溶制剂上市申请承办情况
目前CDE共承办45个艾司奥美拉唑镁肠溶制剂受理号(包括14个埃索美拉唑镁肠溶片受理号),其中包括肠溶片受理号19个,肠溶胶囊受理号16个,肠溶干混悬剂受理号10个。

艾司奥美拉唑肠溶制剂获批上市情况
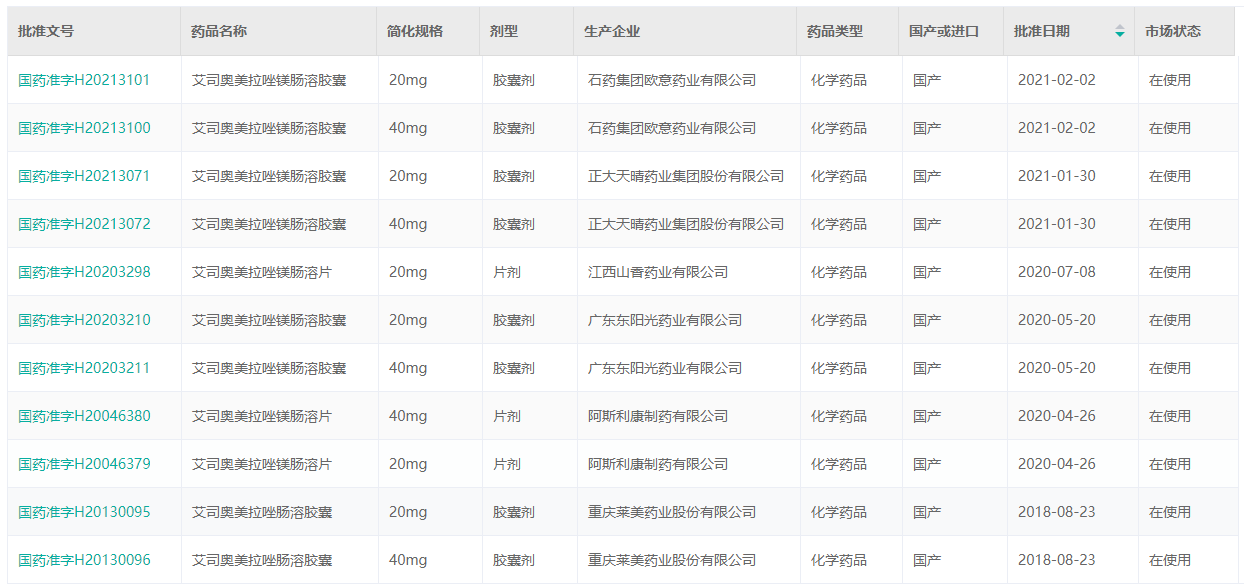
据药融云查询,目前共有9款国产艾司奥美拉唑镁肠溶制剂在国内获批上市,分别为艾司奥美拉唑镁肠溶片和艾司奥美拉唑镁肠溶胶囊。此外共有6款进口艾司奥美拉唑镁肠溶片在国内获批上市。
国产艾司奥美拉唑镁肠溶制剂

截图来源:药融云中国药品批文数据库
进口艾司奥美拉唑镁肠溶制剂

截图来源:药融云中国药品批文数据库
参考来源:
CDE官网/NMPA官网;
正大天晴艾司奥美拉唑镁肠溶胶囊说明书;
药融云数据库 https://www.pharnexcloud.com/

想要了解更多数据内容吗?欢迎注册药融云数据库!注册立享15天免费使用和虎年首份医药数据大礼包!
<END>







川公网安备51019002008863号
本网站未发布麻醉药品、精神药品、医疗用毒性药品、放射性药品、戒毒药品和医疗机构制剂的产品信息
收藏
登录后参与评论
暂无评论