截至5月5日,有74家中药上市企业公布了2022年业绩报告。其中,有51家企业营收实现同比增长,占比近七成;37家企业营收、净利润实现双涨,其中增速均达两位数的占比六成。总的来说,中医药行业整体经营情况向好,保持相对稳定增长。
2022年受中药材涨价等因素影响,中药企业成本上升、利润下降。行业利润总体承压下,多家老牌头部中药企业凭借深厚的技术优势和品牌竞争力,业绩表现出色。其中,白云山、云南白药、华润三九、同仁堂、太极集团、以岭药业6家企业营收超百亿元,且均创历史新高。
白云山2022年年报信息查询

图片来源:药融云上市医药企业年报数据库
而在中成药集采、国家医保目录动态调整、中医药传承创新等行业趋势之下,加码新药研发也成为诸多中药企业的选择。从研发投入看,以岭药业、白云山超10亿元,天士力、康缘药业、华润三九、济川药业等企业超5亿元。
研发能力是衡量一家医药企业的重要指标。近年来,以岭药业在研发投入方面保持持续增长态势,2018~2021年研发费用分别为3.17亿元、3.91亿元、6.54亿元、7.92亿元。2022年以岭药业的研发费用增长至10.32亿元,同比增长30.28%。
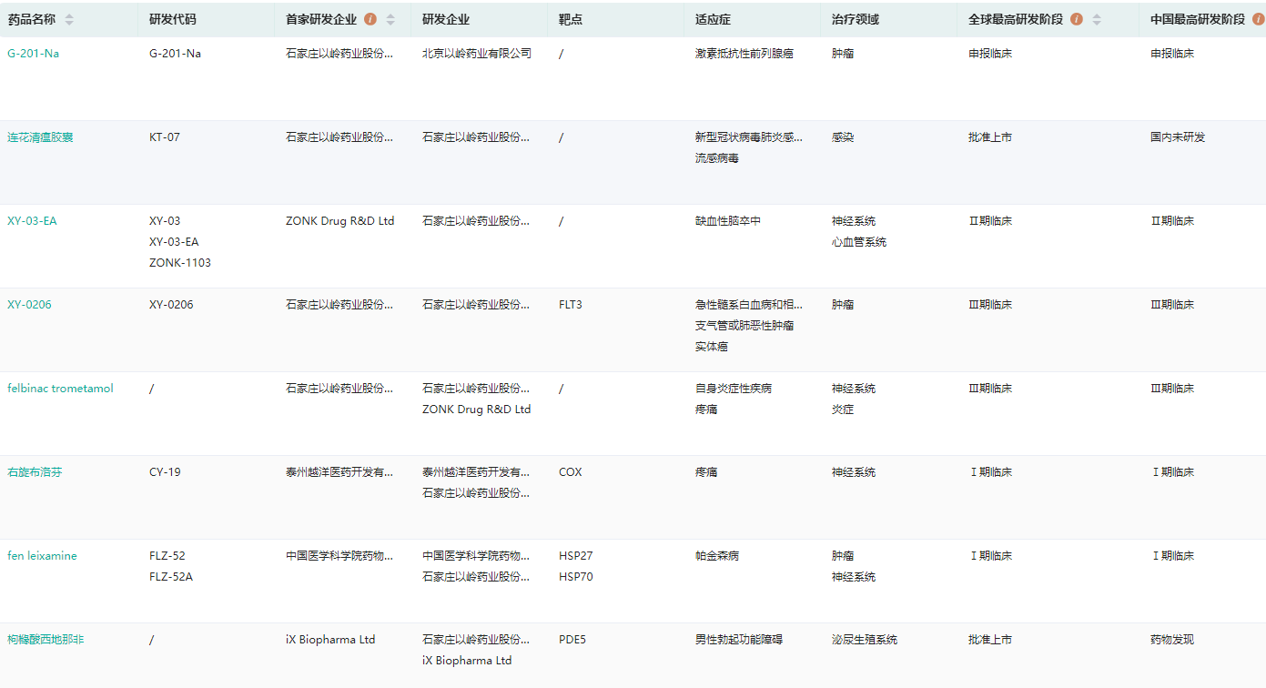
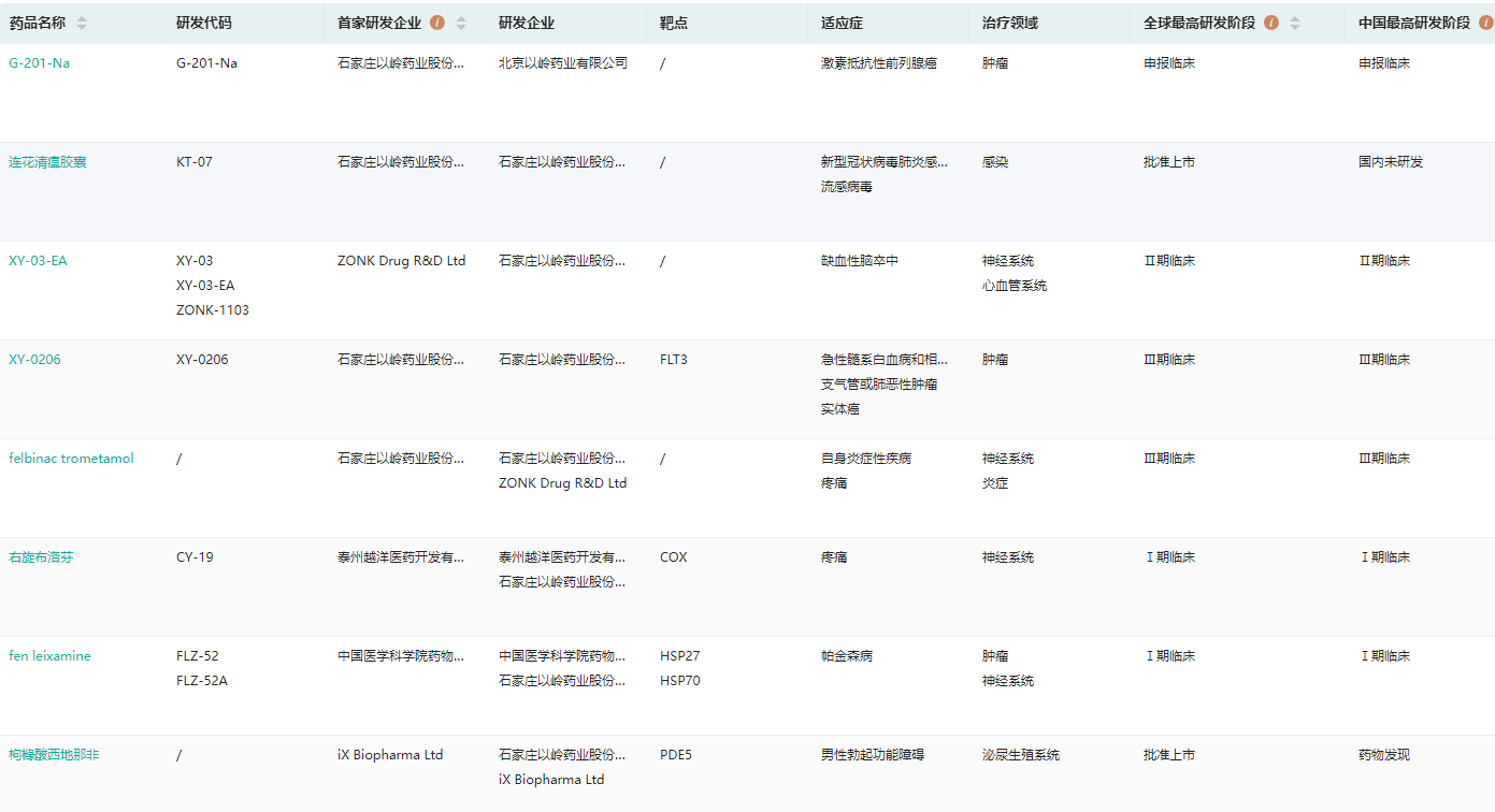
药融云数据库显示,目前以岭药业已上市13个产品,现有研发管线覆盖在研中药创新药品种40余个,覆盖临床12个系统疾病。其中,XY-0206、felbinac trometamol已处于III期临床阶段,XY-03-EA处于II期临床阶段。
以岭药业在研管线进度查询(部分,完整内容请登录“药融云数据库www.pharnexcloud.com/?mh”查看)

图片来源:药融云全球药物研发数据库
同时,围绕神经系统、肿瘤、心血管系统、泌尿生殖系统、感染、炎症等发病率高、市场用药量大的治疗领域,开发系列拥有自主知识产权的专利中药,目前拥有专利中药13个,其中10个列入国家医保目录,5个列入国家基本药物目录。
药融云全国医院销售数据库显示,以岭药业2022年在全国医院市场的销售规模达到39.27亿元,同比增长22%;其中,销售额排名前十的药品(按通用名进行排序)分别是:连花清瘟、通心络、参松养心、芪苈强心、津力达、夏荔芪、连花清咳、养正消积、美托洛尔、二甲双胍。
2022年以岭药业医院端市场TOP10药品

图片来源:药融云全国医院销售数据库
排名位列第一的连花清瘟产品销售额11.88亿元,占比总销售额的30.26%。2022年以岭药业的呼吸系统类产品连花清瘟、连花清咳受到市场需求激增的影响实现较快增长。除此之外,心脑血管疾病用药也是其主导品类,其中,通心络胶囊、参松养心胶囊和芪苈强心胶囊三个创新专利中药,治疗范围涵盖了缺血性心脑血管病、心律失常、心力衰竭三个适应症,被市场冠以“通络三宝”之名。
2022年白云山的研发投入合计10.65亿元,同比增长21.1%。其中,费用化研发投入8.14亿元,资本化研发投入2.5亿元。其2022年的主要研发项目投入,包括头孢克肟系列制剂一致性评价研究、滋肾育胎丸治疗卵巢储备功能减退药理学及探索性临床研究、小柴胡颗粒儿童用药开发的临床前研究、清开灵系列大品种开发等。
白云山的药品涉及内科用药、抗微生物药、男性用药以及镇痛、解热、抗风湿、抗痛风药等多个治疗领域。药融云数据库显示,白云山2022年在全国医院市场的销售规模达到51.63亿元,其中医院端销售额排名前十的药品分别是:烟酰胺注射液、滋肾育胎丸、注射用头孢呋辛钠、烟酸注射液、脑心清片、注射用头孢硫脒、头孢克肟颗粒、头孢克肟分散片、注射用哌拉西林钠、华佗再造丸。

图片来源:药融云全国医院销售数据库
其中,烟酰胺注射液以10.83亿元的销售额位居第一;在整个医院端市场,白云山的烟酰胺注射液占据了46.54%的市场份额,其次是国药集团,占据43.45%,然后是南国药业占据7.42%。
药融云全球药物研发数据库显示,目前,白云山的在研创新药项目有15个,覆盖肿瘤、感染、血液系统、心血管系统、神经系统、呼吸系统、泌尿生殖系统等治疗领域。其中,BY-S10已处于II期临床阶段;HG-030、头孢嗪脒钠(BYS-02)等药品处于I期临床阶段。
白云山在研管线进度查询(部分)

图片来源:药融云全球药物研发数据库
BYS10片是白云山制药总厂研发的选择性RET小分子抑制剂,适应症为非小细胞肺癌、甲状腺髓样癌等晚期实体瘤。而头孢嗪脒钠是国内近二十年来唯一成功获得临床批件的头孢类1类新药。
与此同时,包括云南白药、天士力、步长制药、康缘药业等传统中药企业近年来都加快了创新的布局.随着中药新药审批制度的逐步改革,中药企业正在加大研发投入,新药报审的热情也有所恢复。
2021年我国批准上市中药新药12个,中药新药获批数量首次突破两位数。2022年中药天然药物新药批准上市10个,其中有3款1类中药天然药物新药。中药新药的研发正在逐步引起重视且已展现出一定的成果。
虽然中药新药研发仍存在很多问题,但相信在不远的未来,中药新药上市速度有望进一步提升,中药研发也会进入到快速发展的新局面。
想要解锁更多药企信息吗?查询药融云数据库(vip.pharnexcloud.com/?zmt-mhwz)掌握药企公司基本信息、投融资情况、产品管线分布、药物销售情况与各维度分析、药物研发情况、年度报告、最新进展动态、临床试验信息、市场规模与前景等,以及帮助企业抉择可否投入时提供数据参考!注册立享15天免费试用!

<END>








川公网安备51019002008863号
本网站未发布麻醉药品、精神药品、医疗用毒性药品、放射性药品、戒毒药品和医疗机构制剂的产品信息
收藏
登录后参与评论
暂无评论