
近期,据NMPA官网公示,湖北省宏源药业科技的4类仿制药磷酸西格列汀片获批并视同通过一致性评价。据药融云数据库显示,磷酸西格列汀片在2022年全国院内销售额近16亿元。

截图来源:药融云中国药品审评数据库
磷酸西格列汀片是由默沙东公司研发,国内首个用于治疗2型糖尿病的二肽基肽酶4(DPP-4)抑制剂。它是临床研究出的新型控糖药物,特点为选择性强,使用后血糖能被较好控制。
全球畅销药物,院内市场峰值近16亿元!
作为全球畅销药物,磷酸西格列汀自2006年获美国FDA批准生产以来,其年销售额一度达到40.86亿美元,近年来也稳定在30-40亿美元的水平。据药融云数据统计,磷酸西格列汀片在2022年全国院内销售额近16亿元,同比增长达1.93%,2023年(截止Q3)在全国院内销售额超11亿元,其中默沙东占据主要市场份额,达99.14%;正大天晴占据0.86%,相较于2022年,市场份额有所提升。

截图来源:药融云全国医院销售数据库
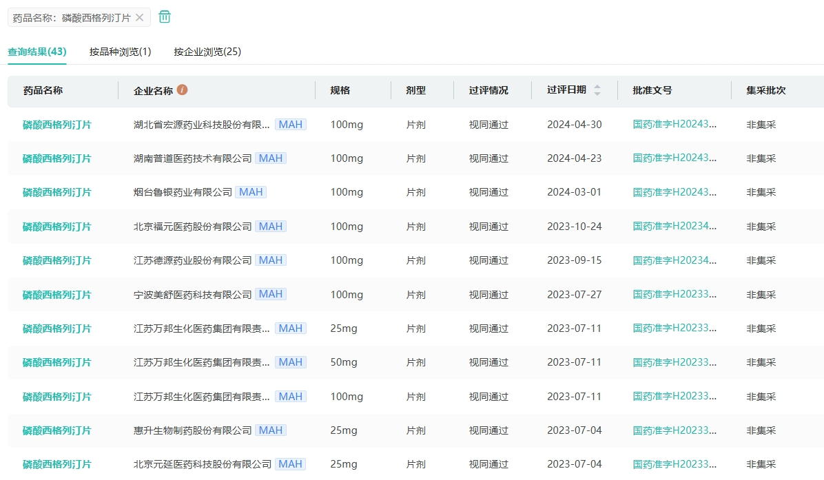
磷酸西格列汀片作为少数未被集采的口服降糖药,市场竞争态势尤为激烈。目前已有24家过评药企以及1家原研默沙东共同角逐的激烈局面,过评业含头部明星药企,如甘李药业、石药集团欧意药业、辰欣药业、扬子江药业、福元医药、正大天晴药业、四川科伦药业、齐鲁制药、江苏万邦生化医药等。

截图来源:药融云过评药品汇总数据库
专利将到期,磷酸西格列汀或成集采焦点!
磷酸西格列汀,作为全球首个口服二肽基肽酶4(DPP-4)抑制剂,其化合物专利CN1290848C已于2022年7月4日到期,但晶型专利CN100430397C的保护期限将持续至2024年6月18日。随着晶型专利有效期临近尾声,仅剩下不到一个月的时间,市场将引来各路药企的激烈争夺。

截图来源:药融云全球药品上市专利数据库
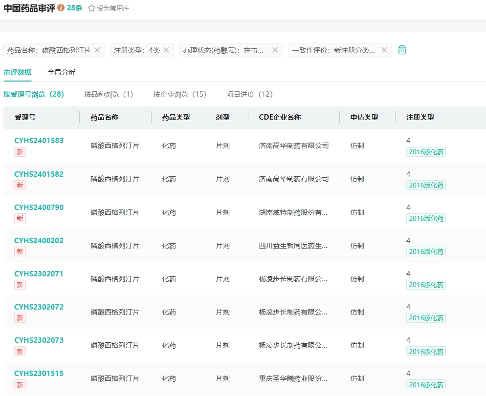
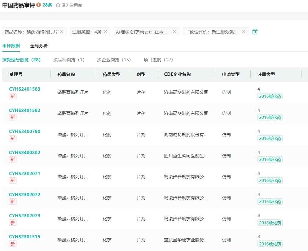
在专利保护期内,不少企业已经通过开发不同晶型来绕开原研专利,如正大天晴等公司已有相关药品上市销售。其他企业受到专利限制,制剂并未形成销售,但关于该药品的市场布局早已竞争白热化。据药融云数据统计,目前磷酸西格列汀片有山东新时代药业、江西施美药业、重庆圣华曦药业、湖南威特制药等超10家药企提交了4类注册仿制申请,均在审评审批中。

截图来源:药融云中国药品审评数据库
此前,磷酸西格列汀片因原研专利期未到,一直未能纳入集采。随着第十批集采的临近,磷酸西格汀列或成集采的焦点品种。西格列汀专利将在6月18日到期,按照往年底线发布招标文件并在月底截止申报资格的惯例,若第十批集采6月发布采购邀请,西格列汀有望踩点进入集采目录。在中国市场,随着仿制药的上市,原研企业默沙东的市场份额预计将逐渐被瓜分,但目前磷酸西格列汀市场仍处于快速放量阶段,显示出其强大的市场潜力和竞争力。
参考来源:
[1] NMPA官网
[2] 药融云数据库
<END>
想要解锁更多药物研发信息吗?查询药融云数据库(vip.pharnexcloud.com/?zmt-mhwz)掌握药物基本信息、市场竞争格局、销售情况与各维度分析、药企研发进展、临床试验情况、申报审批情况、各国上市情况、最新市场动态、市场规模与前景等,以及帮助企业抉择可否投入时提供数据参考!注册立享15天免费试用!








浙公网安备33011002015279
本网站未发布麻醉药品、精神药品、医疗用毒性药品、放射性药品、戒毒药品和医疗机构制剂的产品信息
收藏
登录后参与评论
暂无评论