
6月25日,上海阳光医药采购网发布《关于暂停部分药品采购资格的通知》,根据国家医疗保障局相关文件,因部分企业未按要求调整药品价格,即日起暂停部分药品的采购资格。

截图来源:上海阳光医药采购网
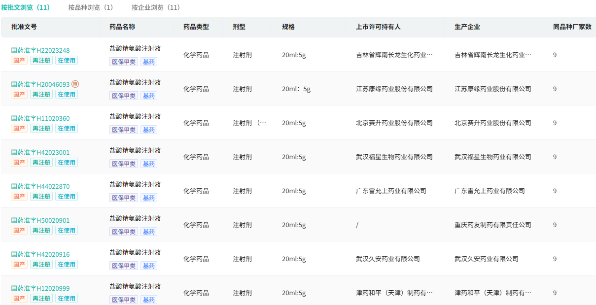
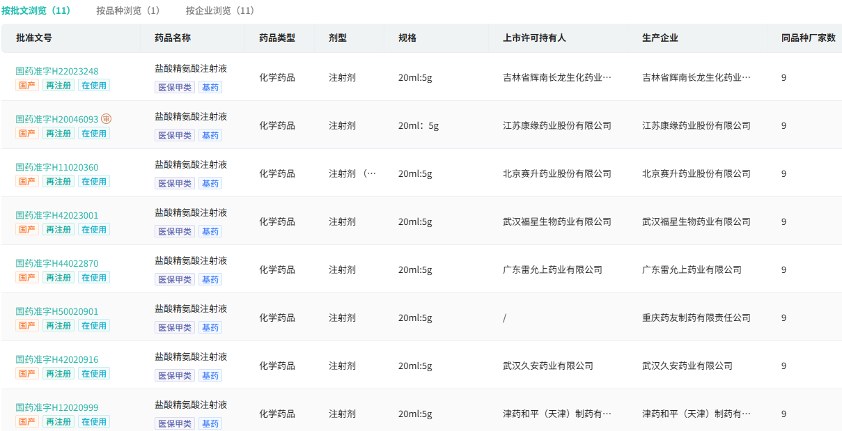
被暂停的两款药物分别是安徽长江药业的盐酸多巴酚丁胺注射液,吉林省辉南长龙生化药业的盐酸精氨酸注射液。
多巴酚丁胺最早由美国礼来公司(Eli Lilly and Company)开发,1978年7月在美国上市(商品名:DOBUTREX®)。原研公司多巴酚丁胺未在国内上市。

截图来源:摩熵医药药品研发数据库
盐酸多巴酚丁胺注射液是一种常用强心药,能够增强心脏的收缩能力,是国家基本药物之一。作为急诊、ICU、心内、心外、儿科等科室急救大品种,盐酸多巴酚丁胺注射液目前已被纳入2018版国家基药目录及2022版国家医保甲类药目录。
摩熵医药销售数据显示,盐酸多巴酚丁胺注射液2022年在国内医院端销售规模超过5亿元,2023年为5.9亿,同比增长10.71%。











川公网安备51019002008863号
本网站未发布麻醉药品、精神药品、医疗用毒性药品、放射性药品、戒毒药品和医疗机构制剂的产品信息
收藏
登录后参与评论
暂无评论