
近日,一份关于《第十一批国家组织药品集中采购拟采购药品清单》意见的函在业内流出,揭开了新一轮国家药品集采的序幕,但这份网传清单尚非最终定稿。其中,有14个拟采购品种卫健委药政司进行重点研判,存在被剔除的可能性。

研判品种分为两类:
一是仿制药适应症少于原研药的5个品种:包括达格列净片、艾曲泊帕乙醇胺片等。
二是临床使用风险较高的9个品种:如万古霉素注射剂(特殊使用级抗菌药)、甲氨蝶呤注射剂(存在鞘内注射风险)以及辅助生殖用药曲普瑞林注射剂等。
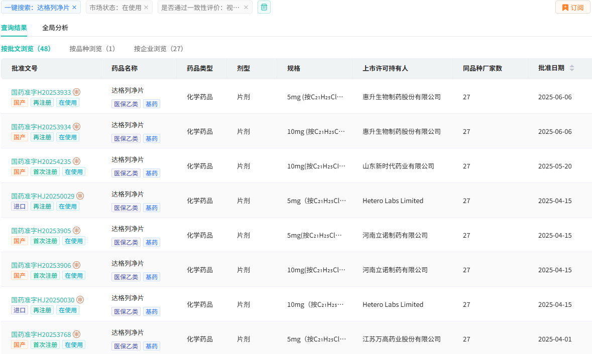
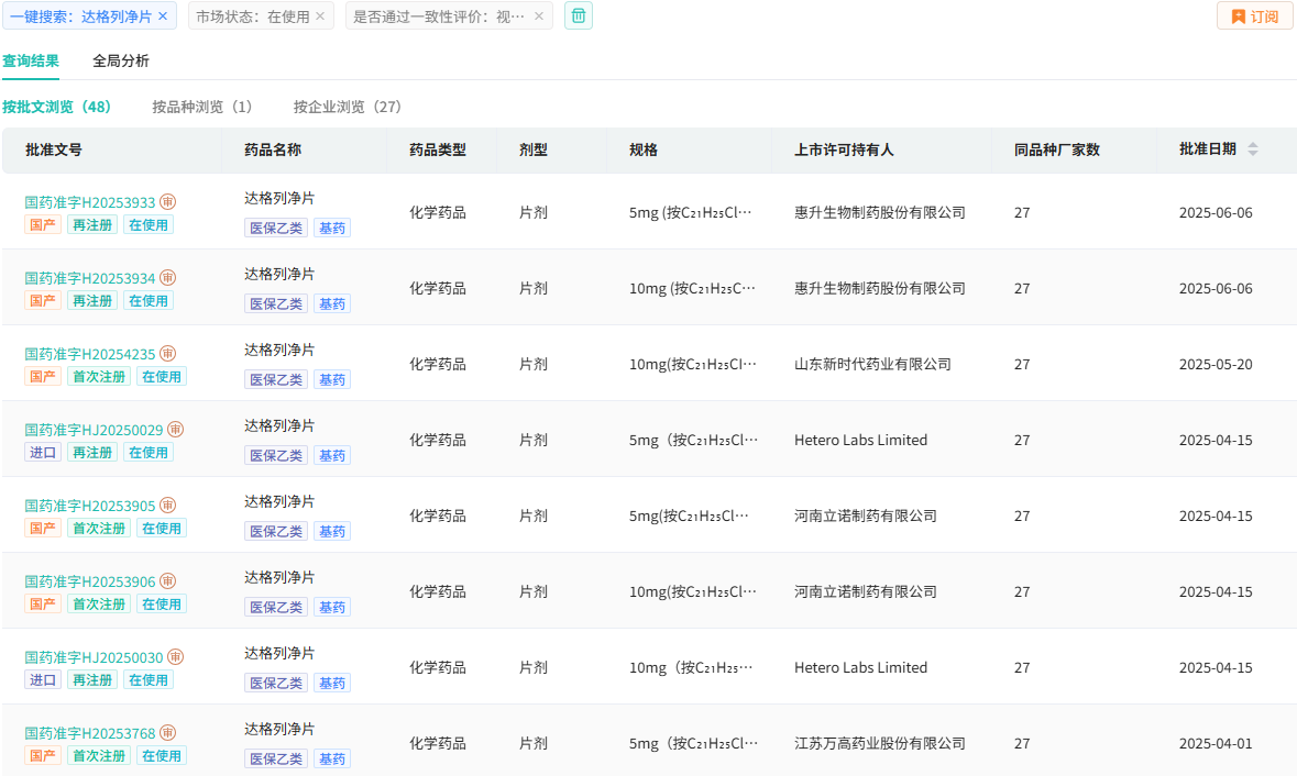
以达格列净为例,其仿制药仅有糖尿病适应症,而原研药还拥有心衰和慢性肾脏病适应症,临床使用范围差异显著。
达格列净片,由百时美施贵宝开发,是全球首款获批上市的SGLT-2(钠-葡萄糖协同转运蛋白-2)抑制剂,后全球销售权被阿斯利康收购。该品种于2012年在欧洲首次获批上市,以其独特的降糖机制和卓越的治疗效果赢得了广泛赞誉。

截图来源:摩熵医药全球药物研发数据库
据摩熵医药销售数据,2023年达格列净片全球销售额高达63.93亿美元,同比增36%。2024 年同比增长28.19%至81.95亿美元。

截图来源:摩熵医药全球药物研发数据库
2017年进入中国市场后,达格列净片取得极佳的销售表现,2023年销售额攀升至60.42亿元。

图片来源:摩熵咨询《口服降糖药市场专题研究报告》
在国内医院端市场,达格列净片累计销售额超132亿元,23年突破40亿大关,同比增长31.86%。阿斯利康垄断市场,占据98.19%的市场份额。











川公网安备51019002008863号
本网站未发布麻醉药品、精神药品、医疗用毒性药品、放射性药品、戒毒药品和医疗机构制剂的产品信息
收藏
登录后参与评论
暂无评论