在国内市场帕拉米韦上市剂型涵盖帕拉米韦注射液与帕拉米韦氯化钠注射液。其中,帕拉米韦注射液的生产批文涉及35家企业,包括齐鲁制药、扬子江药业、中国大冢制药、石药集团等;而帕拉米韦氯化钠注射液的生产企业仅有2家,即广州南新制药和山东齐都药业。

截图来源:摩熵医药中国药品批文数据库
2013年,南新制药的帕拉米韦氯化钠注射液在国内获批上市。因原研产品未进入中国市场,该领域长期由南新制药主导。当前,该企业占据帕拉米韦94.49%的市场份额。

截图来源:摩熵医药全国医院(全终端)销售数据库
2023年3月,中润药业的帕拉米韦注射液获批上市,成为国内首仿。同年6月,扬子江药业集团四川海蓉药业获批,视同过评,成为国内第二家获得该品种仿制批文的企业。

截图来源:摩熵医药一致性评价数据库
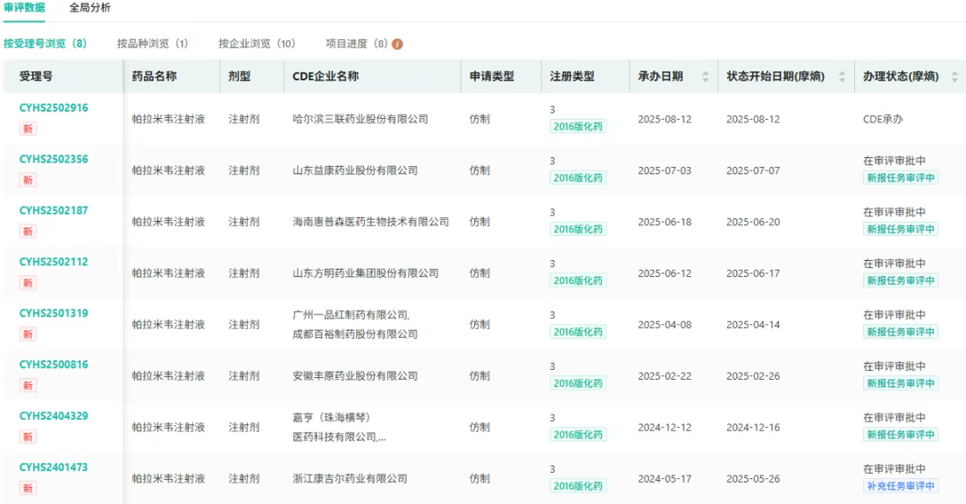
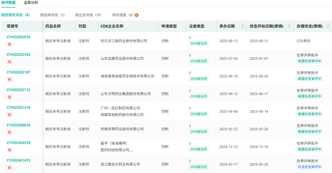
当前还有浙江康吉尔药业、广州一品红制药、山东益康药业等10家企业的帕拉米韦注射液在审评审批中。

截图来源:摩熵医药中国药品审评数据库
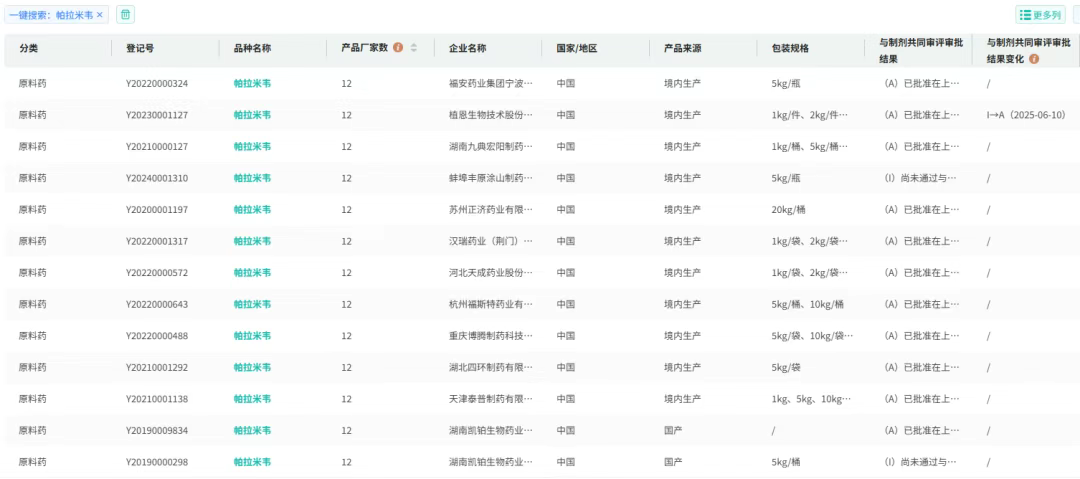
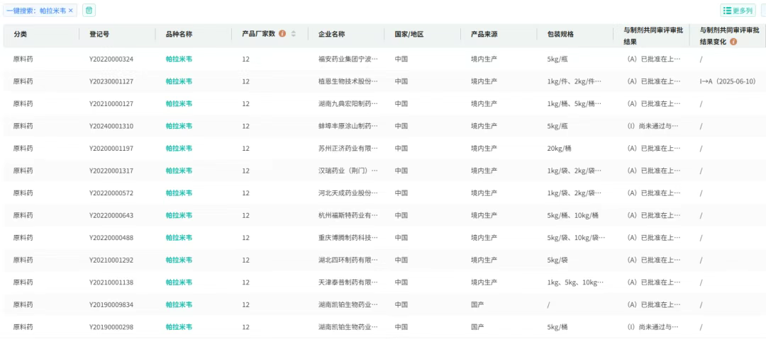
摩熵医药数据显示,帕拉米韦原料药目前已有12家企业完成备案流程。其中有10家的产品处于 “A” 状态,即已通过审评,或与制剂成功实现关联。

截图来源:摩熵医药CDE原料药、药用辅料和药包材登记信息数据库
2025年4月7日上海阳光医药采购网公示,取消山西阳和医药帕拉米韦注射液中选资格,将该企业及生产企业山西国润制药列入违规名单,暂停这两家企业2025年4月8日至2026年10月7日参与国家药品集采的申报资格。

截图来源:上海阳光医药采购网
该企业取消中选资格后,山西、黑龙江、重庆备供厂家分别为广州绿十字、吉林四环、陕西博森生物,中选价分别为14.70元(60ml:0.3g1袋)、5.55元(20ml:0.2g1支)、5.99元(15ml:0.15g*1支)。

截图来源:摩熵医药药品集中采购数据库
作为年销售额超10亿元的抗流感病毒药物,帕拉米韦的市场竞争已趋激烈。从其市场格局的动态演变中不难发现,抗流感药物领域既充满机遇,也面临规范与竞争的双重考验。随着更多企业的深入布局,期待这一领域能在创新与合规的平衡中持续发展,为临床提供更优质、可及的治疗选择。
想要解锁更多药物研发信息吗?查询摩熵医药(原药融云)数据库(vip.pharnexcloud.com/?zmt-mhwz)掌握药物基本信息、市场竞争格局、销售情况与各维度分析、药企研发进展、临床试验情况、申报审批情况、各国上市情况、最新市场动态、市场规模与前景等,以及帮助企业抉择可否投入时提供数据参考!注册立享15天免费试用!

收藏
登录后参与评论
暂无评论