
近期,艾美疫苗股份有限公司(艾美疫苗,06660.HK)公告称,为推动业务发展、增强综合竞争力,以及保障公司经营目标和未来发展战略的实现,公司决定启动首次公开发行人民币普通股并上市(A股上市)的计划。

据悉,艾美疫苗拥有自主mRNA生产和药物递送技术平台,在药物设计、生产和制剂递送方面已申请多项发明专利。狂犬病mRNA疫苗此前递交IND。狂犬病是迄今为止人类病死率最高的急性传染病之一,一旦发病死亡率接近100%。近年来,狂犬病报告死亡数一直位居我国法定报告传染病前列。目前对于狂犬病尚无有效治疗手段,因此,暴露后及时接种狂犬疫苗是预防狂犬病的关键。
关于艾美疫苗
艾美疫苗是中国第二大、民营第一大的疫苗集团。业务涵盖从研发、制造,到商业化的整个行业价值链,是全球及中国第一大乙肝疫苗制造企业、全球及中国第二大狂犬疫苗制造企业。目前已在中国31个省、自治区及直辖市销售疫苗产品。2021 年 5 月,艾美疫苗收购丽凡达生物,控股 50.2%,丽凡达生物的其他少数股东均为独立第三方。由此,艾美疫苗获得获得丽凡达生物mRNA在研产品及mRNA技术。除了新冠疫苗之外,丽凡达生物还布局了狂犬病疫苗以及 RSV 疫苗。
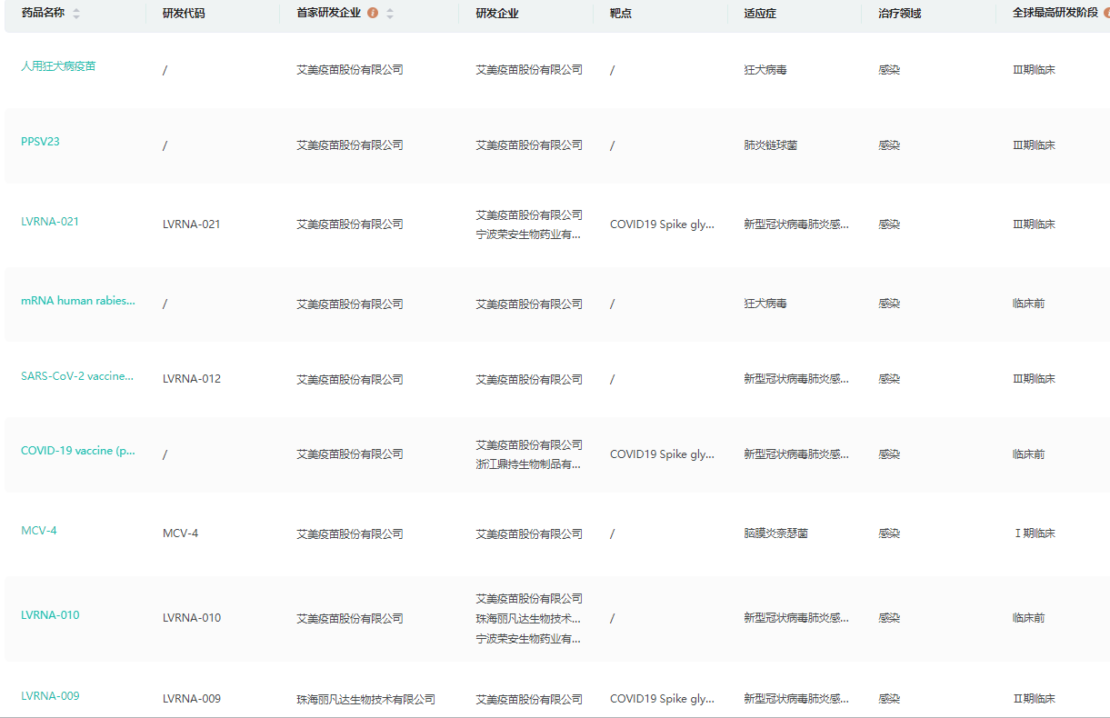
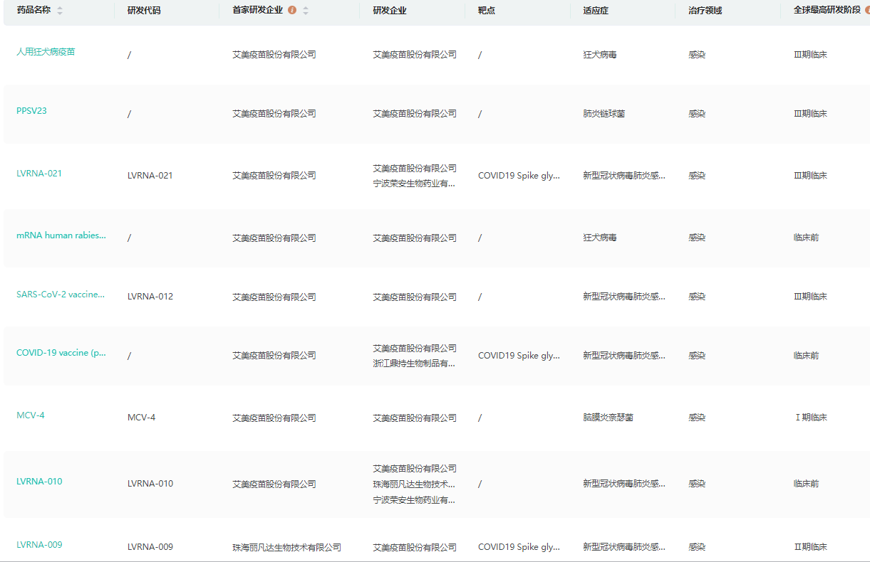
研发管线(部分)

截图来源:药融云全球药物研发数据库
参考资料:
1.公司官网
2.药融云数据库
<END>
要解锁更多企业药品研发信息吗?查询药融云数据库(vip.pharnexcloud.com/?zmt-mhwz)掌握药品各国上市情况、药品批文信息、销售情况与各维度分析、市场竞争格局、一致性评价情况、集采中标情况、药企申报审批信息、最新动态与前景等,以及帮助企业抉择可否投入时提供数据参考!注册立享15天免费试用!








川公网安备51019002008863号
本网站未发布麻醉药品、精神药品、医疗用毒性药品、放射性药品、戒毒药品和医疗机构制剂的产品信息
收藏
登录后参与评论
暂无评论