
近日,美国食品药品监督管理局(FDA)宣布,批准CRISPR/Cas9基因编辑疗法Casgevy(通用名exagamglogene autotemcel,简称exa-cel)上市,用于治疗12岁及以上伴有复发性血管闭塞危象的镰状细胞病(SCD)患者。Casgevy是FDA批准的第一种新型基因组编辑疗法。
而在3周前(当地时间11月16日),英国药品和医疗保健产品监管局(MHRA)宣布授权Casgevy有条件上市,用于治疗12岁及以上镰刀型细胞贫血病(SCD)伴复发性血管闭塞危象(VOCs)患者,以及无法获得人类白细胞抗原(HLA)匹配造血干细胞移植治疗的输血依赖性β地中海贫血(TDT)患者。这是全世界首款获批上市的CRISPR基因编辑疗法。
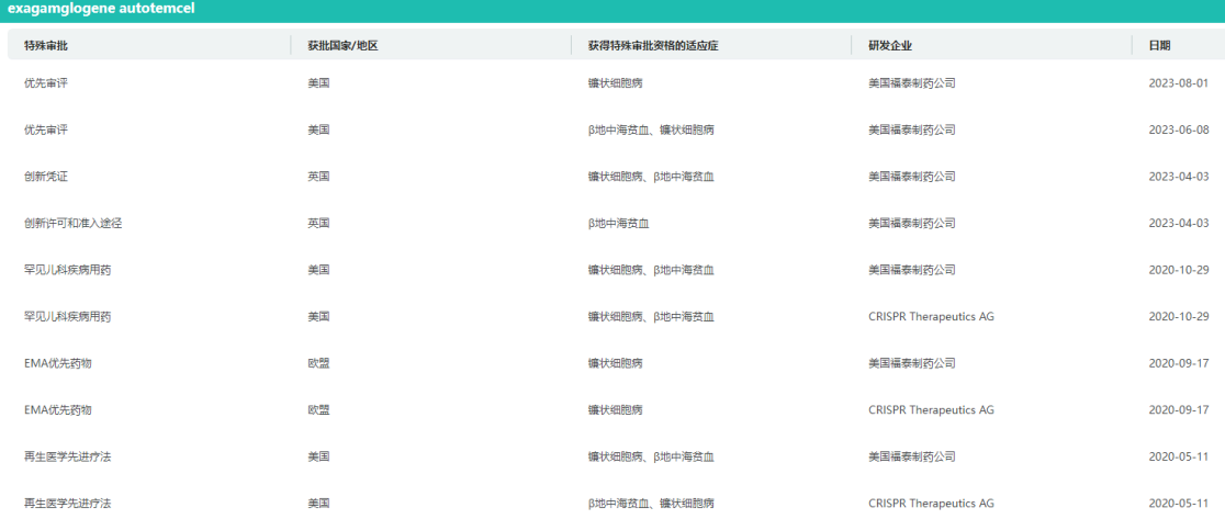
Casgevy特殊审批信息查询

图片来源:药融云全球药物研发数据库
Exa-cel是一款自体细胞疗法,它利用CRISPR/Cas9基因编辑系统,在体外对来自患者的造血干细胞进行编辑,使血红细胞生产高水平的胎儿血红蛋白(HbF)。HbF是携带氧气的血红蛋白的一种形式,在出生时自然存在,随着婴儿的长大,血液中的血红蛋白转换为成人形式的血红蛋白。
通过exa-cel治疗,可以提高HbF水平,有可能缓解输血依赖性β地中海贫血患者的输血需求,并减少镰刀型细胞贫血病患者的疼痛和使人衰弱的血管闭塞性危象。药融云全球药物研发数据库显示,exa-cel曾获FDA授予治疗镰刀型细胞贫血病和输血依赖性β地中海贫血的再生医学先进疗法认定、快速通道资格、孤儿药资格和罕见儿科疾病认定。
2015年,美国大型生物技术公司福泰制药(Vertex Pharmaceuticals)和瑞士药企CRISPR TherapeuticsVertex公司(由诺贝尔化学奖得主、CRISPR 基因编辑先驱 Emmanulle Charpentier所创立)达成战略研究合作,专注于利用CRISPR/Cas9发现和开发针对人类疾病潜在遗传原因的潜在新治疗方法。Vertex公司领导exa-cel的全球开发、制造和商业化。
值得一提的是,CRISPR基因编辑技术是2012年出现的新兴的、能够比较精确地对生物体基因组特定目标基因进行修饰的基因工程技术,被《Nature 》杂志列为2013年年度十大科技进展之一,可对基因进行定点的精确编辑,属于第三代基因编辑技术。
据药融云数据库不完全统计,目前全球有多种CRISPR基因编辑疗法处于活跃研发状态。其中,至少11种疗法已经进入临床试验阶段,包含了多款中国公司开发的产品。比如再生元/Intellia Therapeutics公司的NTLA-2001/NTLA-2002(靶点:TTR、KLKB1基因)、Verve Therapeutics公司的VERVE-101(靶点:PCSK9)、Branca Bunús公司的BrB101(靶点:COL7A1基因)、邦耀生物的BRL-101(靶点:BCL11A)、博雅辑因的ET-01(靶点:BCL11A红系增强子)、本导基因的BD111(靶点:HSV-1病毒基因组)等等。
NTLA-2001全球研发现状

图片来源:药融云全球药物研发数据库
从疾病领域来看,这些疗法的应用范围正在从治疗遗传性疾病扩展到慢性疾病,如心血管疾病、HIV感染等,有望在将来展现出更广泛的应用前景。
关于镰状细胞病
镰状细胞病(sickle cel disease,SCD)是一种常染色体隐性遗传疾病,由表达β-珠蛋白的HBB基因的A·T-to-T·A点突变引起,导致红细胞形态异常,呈现镰刀型。患者可能会出现包括贫血、严重疼痛、免疫缺陷、多器官衰竭,甚至过早死亡。目前,异基因造血干细胞移植(骨髓移植)是FDA批准的唯一治疗方法,但费用巨大、配型困难,因此许多患者只能依赖频繁输血维持生命。
基于CRISPR基因编辑技术的基因疗法取得了重大进展,获得了FDA的批准,为SCD患者带来了新的希望。然而,如何开发出安全、价格合理且负担得起的基因编辑疗法是下一个关键挑战。据报道,这种疗法的定价高达220万美元,对于许多患者来说可能是天文数字。
Vertex公司的CEO表示,他们相信药品的价格能够反映其带来的价值,而这种价值是一次性疗法,可能终生治愈疾病。诺奖得主、CRISPR基因编辑先驱Jennifer Doudna教授也表示,一次性体内注射、无需体外操作和骨髓移植的基因编辑疗法终将成为可能。
虽然Casgevy疗法的获批是一个重要的里程碑,但这并不是旅程的终点。在未来,需要继续探索如何开发出更加安全、经济、有效的基因疗法,让更多的SCD患者能够受益。同时,也需要思考如何让这些疗法更加普及化,让更多的人能够获得治疗的机会。
<END>
要解锁更多企业药品研发信息吗?查询药融云数据库(vip.pharnexcloud.com/?zmt-mhwz)掌握药品各国上市情况、药品批文信息、销售情况与各维度分析、市场竞争格局、一致性评价情况、集采中标情况、药企申报审批信息、最新动态与前景等,以及帮助企业抉择可否投入时提供数据参考!注册立享15天免费试用!








川公网安备51019002008863号
本网站未发布麻醉药品、精神药品、医疗用毒性药品、放射性药品、戒毒药品和医疗机构制剂的产品信息
收藏
登录后参与评论
暂无评论