
近日,据NMPA官网公示,重庆华森制药提交的4类仿制化药甲磺酸雷沙吉兰片获批上市并视同过评。据药融云数据统计,2022年甲磺酸雷沙吉兰片在全国院内销售额突破1亿。此前国内仅3家获批,2021年齐鲁制药拿下国内首仿,此次,重庆华森制药成为国产第4家,进一步满足市场需求,为患者提供更多选择。

截图来源:NMPA官网
雷沙吉兰原研来自丹麦灵北公司和以色列梯瓦公司,是第二代MAO-B抑制剂,主要用于治疗帕金森病(PD)。帕金森病是临床中第二常见的神经退行性疾病,有资料显示,预计2030年我国帕金森病患者数量将达 500万,占全球患者比例的50%,将给社会及患者家庭带来极大的医疗及经济负担。
公开资料显示,雷沙吉兰比第一代单胺氧化酶抑制剂司来吉兰功效强 5~10 倍,副作用小且具有一定的神经保护作用。2017 年 5 月,雷沙吉兰在国内获批进口,商品名为 Azilect(安齐来),后被纳入国家医保目录(乙类)。据药融云统计,雷沙吉兰院内销售额一路走高,2022年突破亿元大关,同比增长了88%,已超在国内上市多年的司来吉兰(2022年院内销售额为6390万元),大有后来居上之势。

截图来源:药融云全国医院销售数据库
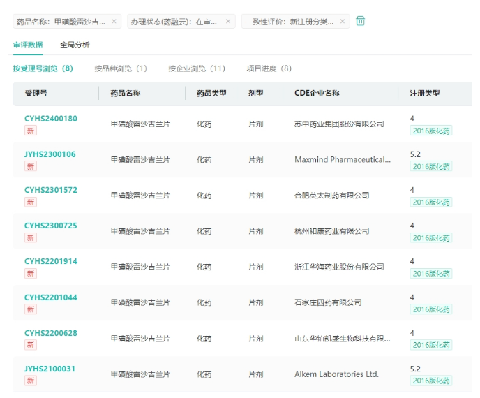
据数据库统计,2021年齐鲁拿下国内首仿,随后常州四药制药也获批生产甲磺酸雷沙吉兰片,并视同通过一致性评价,此次,重庆华森制药为国内第4家获批并过评该品种的药企。

截图来源:药融云过评药品汇总数据库
目前该品种还有石家庄四药、华海药业、杭州和康药业、合肥英太制药等11家药企递交了仿制申请,Alkem Laboratories Ltd.等2家企业递交了5.2类上市申请,尚在审评审批中。

截图来源:药融云中国药品审评数据库
此外,重庆华森制药还布局了富马酸伏诺拉生片、二甲双胍恩格列净片(Ⅰ)、二甲双胍恩格列净片(Ⅵ)、磷酸芦可替尼片、阿戈美拉汀片5款仿制药的上市申请,均在审评审批中。
<END>
要解锁更多企业药品研发信息吗?查询药融云数据库(vip.pharnexcloud.com/?zmt-mhwz)掌握药品各国上市情况、药品批文信息、销售情况与各维度分析、市场竞争格局、一致性评价情况、集采中标情况、药企申报审批信息、最新动态与前景等,以及帮助企业抉择可否投入时提供数据参考!注册立享15天免费试用!








川公网安备51019002008863号
本网站未发布麻醉药品、精神药品、医疗用毒性药品、放射性药品、戒毒药品和医疗机构制剂的产品信息
收藏
登录后参与评论
暂无评论