
近日,据CDE官网公示,重庆圣华曦药业递交的4类仿制化药司来帕格片上市申请获受理。据药融云数据统计,目前,司来帕格片仅原研厂家拥有生产批文,国内暂无企业获批。

截图来源:CDE官网
司来帕格片由瑞士爱可泰隆(Actelion)原研,2015年获FDA批准,商品名为UPTRAVI。该品种是一种口服有效、高选择性和长效的非前列腺素类前列环素受体(IP受体)激动剂,可改善损伤的肺动脉内皮依赖性舒张,并可能抑制人肺平滑肌细胞的增殖、肺血管壁的增厚,以延缓疾病进展及降低因 PAH 而住院的风险。据强生财报,2023年全球销售额超15亿美元,目前司来帕格片已在全球超过 40 个国家获批。
据药融云数据统计,司来帕格片在2022年全国院内市场表现强劲,销售额突破1亿大关,同比增长达61.03%。

截图来源:药融云全国医院销售数据库
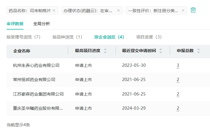
目前,司来帕格片仅原研厂家拥有生产批文,国内暂无企业获批。除此次布局的重庆圣华曦药业,还有江苏豪森药业、常州恒邦药业、杭州朱养心药业3家药企提交了仿制申请,均在审评审批中,首仿也有望在这些企业中诞生。

截图来源:药融云中国药品审评数据库
此外,重庆圣华曦药业还提交了罗沙司他胶囊、沙库巴曲缬沙坦钠片、盐酸贝尼地平片、碘佛醇注射液、碘比醇注射液等24个品种的仿制申请,均在审评审批中。其中碘比醇注射液、罗沙司他胶囊、美阿沙坦钾片、司来帕格片、注射用厄他培南5个品种,国内暂无企业获批,若重庆圣华曦药业,有望获得首仿。
重庆圣华曦药业报产在审的仿制药

截图来源:药融云中国药品审评数据库
重庆圣华曦药业已有坎地沙坦酯片、注射用盐酸头孢替安、甲磺酸伊马替尼片、非布司他片等17个品种过评.2024年至今有利奈唑胺葡萄糖注射液、来曲唑片、盐酸莫西沙星氯化钠注射液3个品种是今年过评。
<END>
要解锁更多企业药品研发信息吗?查询药融云数据库(vip.pharnexcloud.com/?zmt-mhwz)掌握药品各国上市情况、药品批文信息、销售情况与各维度分析、市场竞争格局、一致性评价情况、集采中标情况、药企申报审批信息、最新动态与前景等,以及帮助企业抉择可否投入时提供数据参考!注册立享15天免费试用!








川公网安备51019002008863号
本网站未发布麻醉药品、精神药品、医疗用毒性药品、放射性药品、戒毒药品和医疗机构制剂的产品信息
收藏
登录后参与评论
暂无评论