
据药融云数据库(药融云上市医药企业年报数据库)显示,A股“麻醉一哥”人福医药近日发布了2024年中报。中报显示,人福医药2024年上半年实现营业总收入为128.61亿元,较去年同期增长3.86%,实现4年连续上涨。归母净利润为11.11亿元,同比较去年同期下降16.07%。
宜昌人福作为人福医药的核心资产,依然保持着较高的增速。其2024年上半年实现营业收入和净利润为45.02亿和14.25亿,分别同比增长11.78%和17.59%。其中,神经系统用药实现销售收入约37.4亿元,同比增长约11.2%。
麻醉镇痛领域龙头,两大产品占据企业半壁江山
近年来,人福医药麻醉药产品销售收入猛增,在行业中占据稳定优势地位。据药融云全国医院销售(全终端)数据库显示,在2023年全国医院端的神经系统用药中,宜昌人福的麻醉药(化学药/生物药)产品销售额为71.26亿元,占比达到41.04%,持续保持领先地位,无愧于“麻醉一哥”的称号。
2023年医院端神经系统用药-麻醉药销售企业TOP10

图片来源:药融云全国医院销售(全终端)数据库
其中,宜昌人福最畅销的两款神经系统药物分别是注射用盐酸瑞芬太尼、枸橼酸舒芬太尼注射液,2023年在医院端的销售额分别达到37.49亿元、30.29亿元,占据了企业的半壁江山。
注射用盐酸瑞芬太尼是一款μ阿片类受体激动剂,用于全麻诱导和全麻维持过程中的镇静和镇痛。该药在体内1分钟左右达到血-脑平衡,随后迅速衰减,故起效快、维持时间短,是全身麻醉常用的阿片类药物。
宜昌人福的注射用盐酸瑞芬太尼于2003年获批上市,适应症为“全麻诱导和全麻中维持镇痛”。后又于2024年2月获批“重症监护患者机械通气时的镇痛”新适应症。药融云数据库显示,目前国内有3家企业拥有注射用盐酸瑞芬太尼生产批文,分别是宜昌人福药业、恩华药业、国药集团,其中宜昌人福在医院终端的市场份额最大,占比90.28%。
注射用盐酸瑞芬太尼医院终端市场竞争格局

图片来源:药融云全国医院销售(全终端)数据库
枸橼酸舒芬太尼注射液是一种强效的镇痛剂,在临床上主要用于麻醉前中后的镇痛镇静。一般是复合全麻中常用的药物之一,可以用于麻醉前给药,以及诱导麻醉,并且作为辅助用药与全麻以及局麻,用于各种手术出现的术中、术后、术前各种疼痛使用药物。
宜昌人福的枸橼酸舒芬太尼注射液已获批的适应症为“用于气管内插管,使用人工呼吸的全身麻醉:作为复合麻醉的镇痛用药;作为全身麻醉大手术的麻醉诱导和维持用药”。2024年7月,其新增适应症“用于重症监护患者的镇痛”获批临床试验。目前国内有宜昌人福药业、恩华药业、国药集团3家企业拥有枸橼酸舒芬太尼注射液的生产批文,其中宜昌人福同样占据医院终端超9成市场份额。
5年研发投入46亿,创新药仿制药全面开花
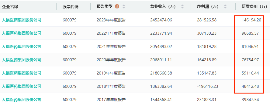
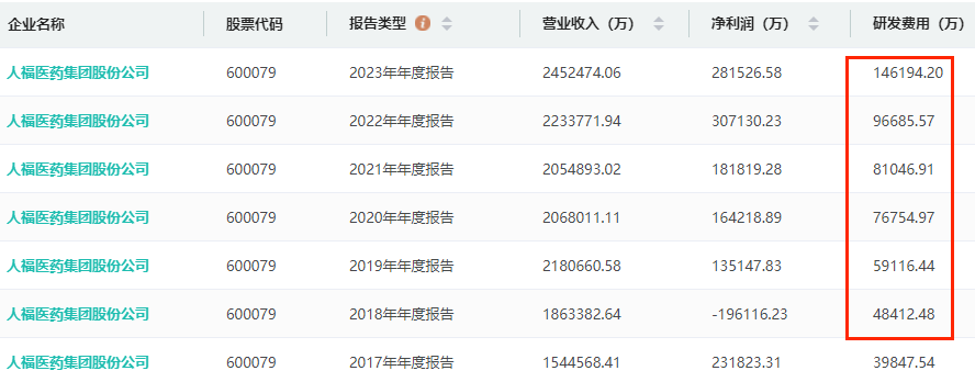
据人福医药2024半年报,其2024年上半年的研发投入7.06亿元,较上年同期增长10.08%。值得关注的是,近年来人福医药研发投入持续增加,药融云数据库显示,2018年至2023年,研发费用分别为4.84亿元、5.91亿元、7.68亿元、8.10亿元、9.67亿元、14.62亿元。
人福医药历年研发费用查询

图片来源:药融云上市医药企业年报数据库
2018年以来,人福医药的研发费用从4.84亿元提升至2023年的14.62亿元,复合年增长率高达24.74%。2023年研发投入近15亿元,较上年同期增长51.21%,是近5年增速最高的一年。
持续稳定的研发投入,人福医药围绕核心产品线,稳步推进各研发项目。目前,人福医药已在神经系统用药、甾体激素类药物、维吾尔民族药等细分领域有序开展创新药、仿制药的研发,化学药、生物药、中成药均有布局。
创新药方面,目前人福医药已有4款1类新药上市,分别为注射用磷丙泊酚二钠、广金钱草总黄酮胶囊、注射用苯磺酸瑞马唑仑和注射用加替沙星。与此同时,药融云数据库显示,人福医药还有近20款新药(10款1类新药)处于申报临床及以上阶段,其中进度较快的有治疗用生物制品1类新药重组质粒-肝细胞生长因子注射液(pUDK-HGF),已进入III期临床试验;三款1类化药HWH-486、HW-021199、HWH-340及一款1.1类中药新药白热斯丸,处于II期临床阶段,LL-50(1类化药)处于I期临床阶段。
HWH-486研发状态及详细信息查询

图片来源:药融云全球药物研发数据库
此外,人福医药还在积极探索现有产品的剂型改良,持续丰富产品管线。其中2类改良型新药主要包括舒芬太尼透皮贴剂、氨酚羟考酮缓释片和RF16001(注射用罗哌卡因微球)等。其中舒芬太尼透皮贴剂、右美托咪定透皮贴剂,已处于II期临床阶段。
仿制药方面,目前人福医药已有76个品种通过/视同通过一致性评价。其中,21个品种为国内首家过评,有8个品种为独家过评,包括盐酸氢吗啡酮缓释片、氯巴占片、地奈德乳膏、布洛芬软胶囊、盐酸羟考酮缓释片、萘普生钠片、盐酸氢吗啡酮注射液、盐酸哌替啶注射液。
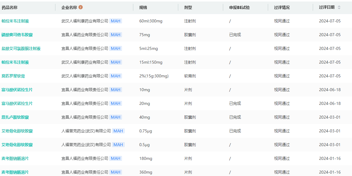
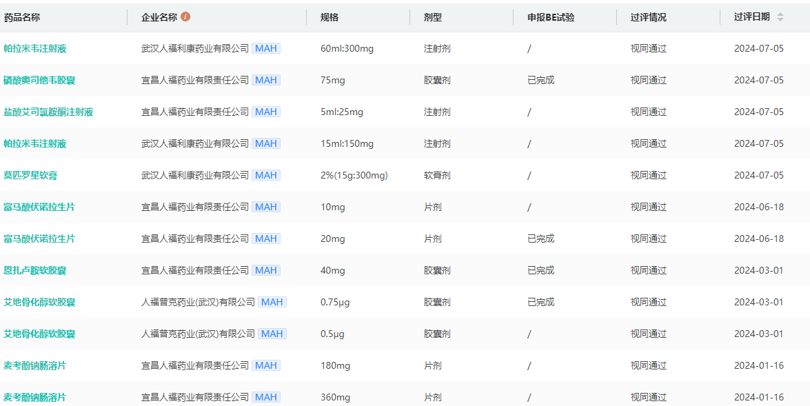
人福医药2024年过评药品信息查询

图片来源:药融云过评药品汇总数据库
今年以来,人福医药已有8个品种(不含新适应症)国内上市并视同过评,包括富马酸伏诺拉生片、帕拉米韦注射液、艾地骨化醇软胶囊、麦考酚钠肠溶片、恩扎卢胺软胶囊、盐酸艾司氯胺酮注射液、磷酸奥司他韦胶囊、莫匹罗星软膏。
参考来源:
[1] 药融云数据库
[2] 人福医药官网/官方披露
<END>
想要解锁更多药物研发信息吗?查询药融云数据库(vip.pharnexcloud.com/?zmt-mhwz)掌握药物基本信息、市场竞争格局、销售情况与各维度分析、药企研发进展、临床试验情况、申报审批情况、各国上市情况、最新市场动态、市场规模与前景等,以及帮助企业抉择可否投入时提供数据参考!注册立享15天免费试用!








川公网安备51019002008863号
本网站未发布麻醉药品、精神药品、医疗用毒性药品、放射性药品、戒毒药品和医疗机构制剂的产品信息
收藏
登录后参与评论
暂无评论