
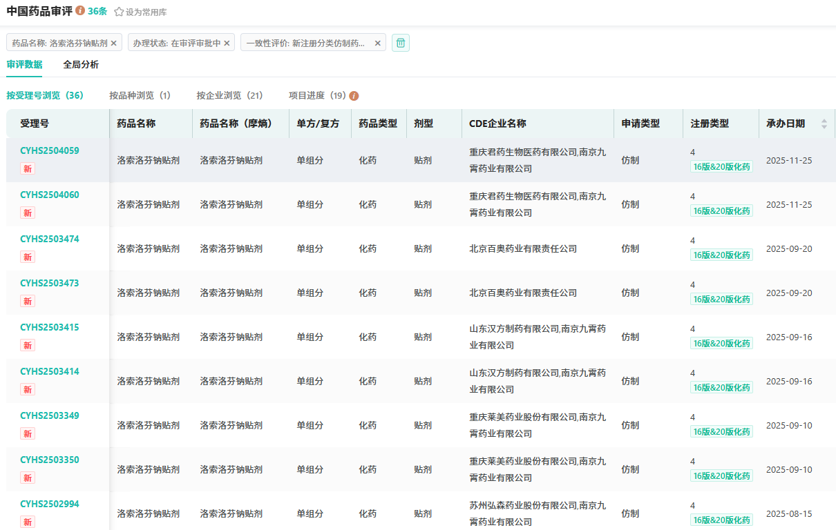
近日,人福医药捷报频传。12月9日,人福医药子公司武汉九珑医药的4类仿制药布洛芬混悬液获NMPA批准上市并视同过评;昨日(12月17日),宜昌人福药业申报的4类仿制药洛索洛芬钠贴剂上市申请又获CDE正式受理,且该品种国内尚无仿制药获批。

截图来源:摩熵医药中国药品审评数据库(查数据,找摩熵)
拿下超4亿元大品种,人福院内市场稳居前三
布洛芬混悬液是一种非甾体抗炎药,通过抑制前列腺素合成发挥解热、镇痛及抗炎作用,主要用于儿童感冒或流感引起的发热、头痛,以及缓解轻至中度疼痛如关节痛、牙痛、肌肉痛等。据摩熵医药数据库显示,该品种在2024年全国医院市场的销售总额超4亿元。










川公网安备51019002008863号
本网站未发布麻醉药品、精神药品、医疗用毒性药品、放射性药品、戒毒药品和医疗机构制剂的产品信息
收藏
登录后参与评论
暂无评论