
8月30日,人福医药发布公告,其控股子公司宜昌人福药业提交的注射用福沙匹坦双葡甲胺获批上市。据药融云数据库显示,该品种在2023年全国院内市场的销售额超5亿元。

截图来源:企业公告
福沙匹坦双葡甲胺由默克研发,是一种神经激肽1(NK1)受体拮抗剂,是阿瑞匹坦的前体药,通过与其他止吐药物联合给药,适用于预防中、高度致吐化疗药物(MEC/HEC)初始和重复治疗过程中出现的恶心和呕吐。据药融云数据库显示,注射用福沙匹坦双葡甲胺在2023年全国院内市场的销售额超5亿元。

截图来源:药融云全国医院销售数据库
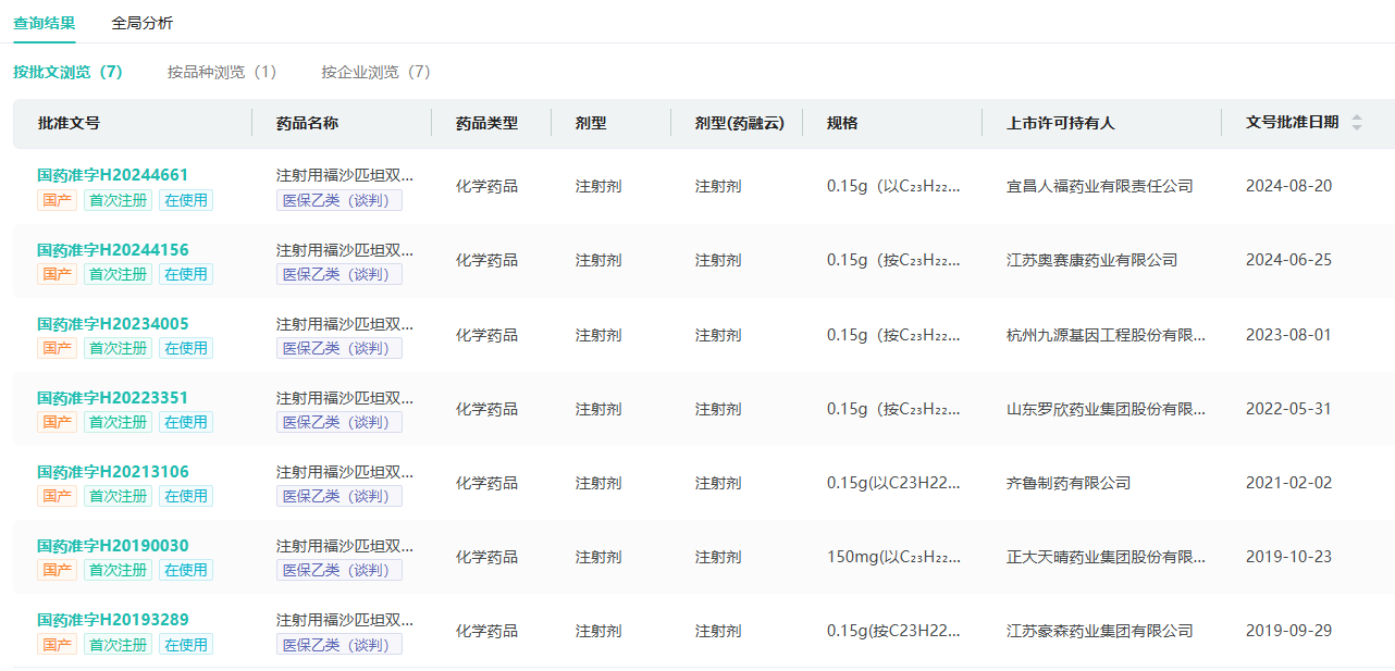
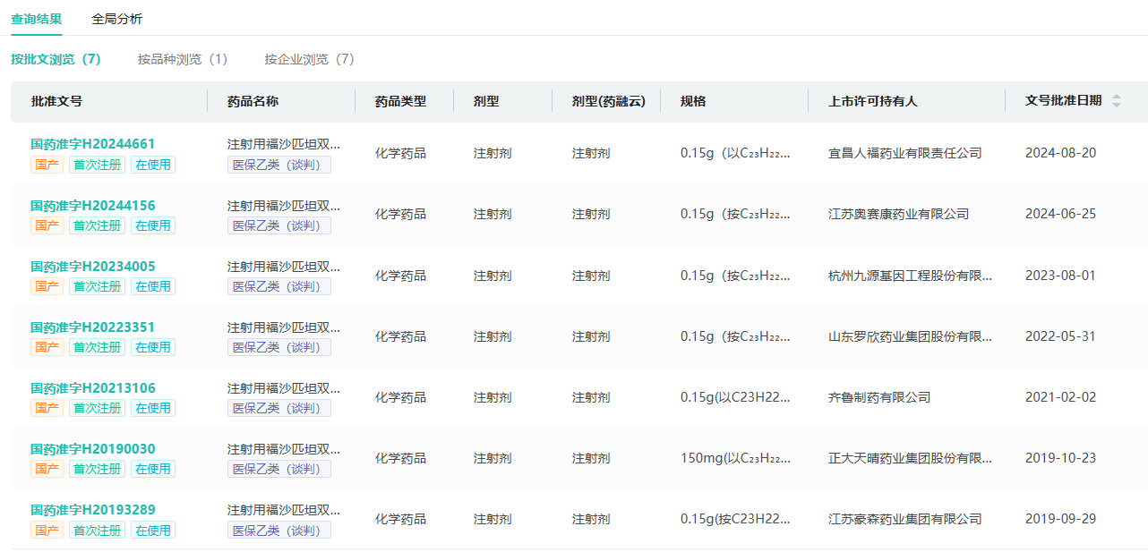
宜昌人福于2023年1月向国家药品监督管理局提交了注射用福沙匹坦双葡甲胺的上市许可申请并获得受理,截至目前该项目累计研发投入约为人民币4,500万元。此次宜昌人福药业获批,成为国内第7家药企拿下该品种的药企。

截图来源:药融云中国药品批文
本次注射用福沙匹坦双葡甲胺获批,标志着宜昌人福具备了在国内市场销售该药品的资格。该产品进一步丰富了公司的产品线,2024年至今,人福医药(含子公司)有他克莫司软膏、注射用福沙匹坦双葡甲胺等19个品种过评,其中注射用盐酸瑞芬太尼、盐酸氢吗啡酮缓释片、盐酸氢吗啡酮注射液3个品种为首家过评。
参考来源:
[1] 人福医药官方公告
[2] 药融云数据库
<END>
想要解锁更多药物研发信息吗?查询药融云数据库(vip.pharnexcloud.com/?zmt-mhwz)掌握药物基本信息、市场竞争格局、销售情况与各维度分析、药企研发进展、临床试验情况、申报审批情况、各国上市情况、最新市场动态、市场规模与前景等,以及帮助企业抉择可否投入时提供数据参考!注册立享15天免费试用!








川公网安备51019002008863号
本网站未发布麻醉药品、精神药品、医疗用毒性药品、放射性药品、戒毒药品和医疗机构制剂的产品信息
收藏
登录后参与评论
暂无评论