
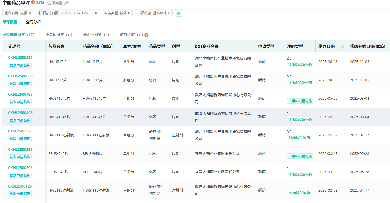
11月19日,据CDE官网显示,宜昌人福药业递交的3类仿制化药二甲磺酸利右苯丙胺胶囊的上市申请获受理。据摩熵医药数据库显示,该品种在国内并未上市,但已经有数家药企已经在进行仿制药的研发,宜昌人福的进度最快。

截图来源:CDE
利右苯丙胺(商品名:Vyvanse)由武田制药开发,是武田的第三大畅销药,最早于2007年3月在美国上市,用于治疗成人和6岁以上儿童的注意力缺陷多动障碍(ADHD),同时也获批用于治疗成人的暴食障碍。
利右苯丙胺在美国、欧洲、日本等地上市,2022年全球销售额超30亿美元。2023年8月,其美国核心专利到期,AMNEAL、SANDOZ INC等多家厂商的仿制药相继获批,受此影响,当年该品种在全球销售额下滑至27.85亿美元。

截图来源:摩熵医药全球药物研发数据库
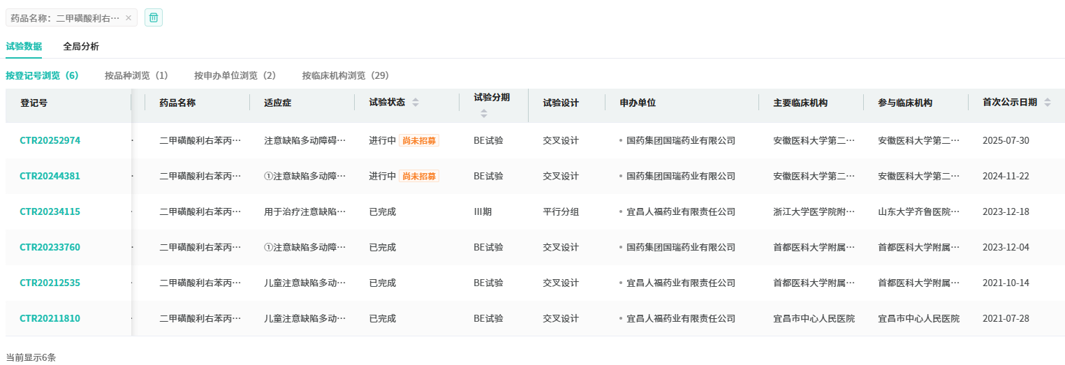
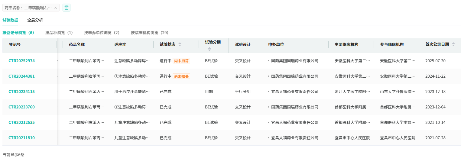
聚焦国内,目前二甲磺酸利右苯丙胺胶囊尚无药企获批上市,但多家药企已积极布局仿制药研发。其中,国药集团国瑞药业正在开展BE试验,招募工作尚未启动;宜昌人福药业进展最快,不仅已完成Ⅲ期临床试验,还提交了3类仿制申请并获CDE受理。若后续获批顺利,宜昌人福药业有望将该品种的国内首仿收入囊中。

截图来源:摩熵医药中国临床试验数据库
近期,人福医药公布了2025年前三季度的业绩。报告显示,公司实现营业总收入178.83亿元,较去年同期下降6.58%;而归母净利润达16.89亿元,同比增长6.22%,展现出稳健的盈利能力。
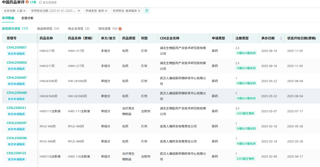
在药品研发领域,人福医药(含子公司)成绩斐然。截至目前,在仿制药研发方面,已有超100款品种成功获批并过评,其中27款为首家过评品种。










川公网安备51019002008863号
本网站未发布麻醉药品、精神药品、医疗用毒性药品、放射性药品、戒毒药品和医疗机构制剂的产品信息
收藏
登录后参与评论
暂无评论