
11月25日,据人福医药集团发布公告,其全资子公司武汉人福创新药物研发中心有限公司获得了玉蚕颗粒的临床试验默示许可,用于主治为补脾益肾,活血利水,用于脾肾气虚、湿瘀阻络证糖尿病肾脏疾病蛋白尿的治疗。

截图来源:企业公告
玉蚕颗粒由创新药研发中心和上海复活石医药科技有限公司联合开发及申报,主要为补脾益肾,活血利水,用于脾肾气虚、湿瘀阻络证糖尿病肾脏疾病蛋白尿的治疗。据摩熵医药数据库显示,在2023年糖尿病(中成药)全国院内销售总额逼近9亿元,同比增长达19.19%。

截图来源:摩熵医药(原药融云)全国医院销售数据库
玉蚕颗粒是人福医药推出的首款针对糖尿病治疗的中药1类创新药物,其研发项目至今已投入资金约900万人民币。人福医药近年来持续加大自主研发创新的力度,并加快创新产品线进行布局。2024年前三季度,公司的研发费用达到约11亿元,同比增长9.2%。

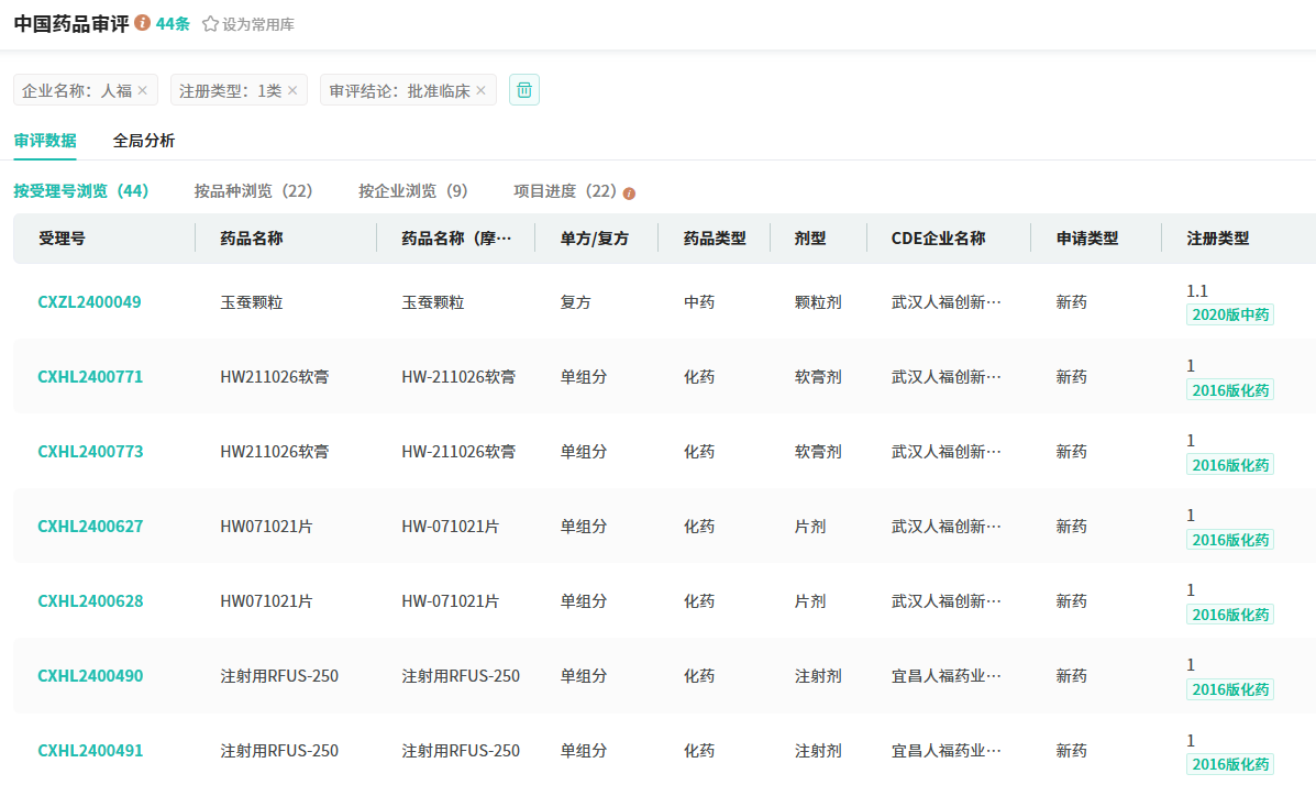
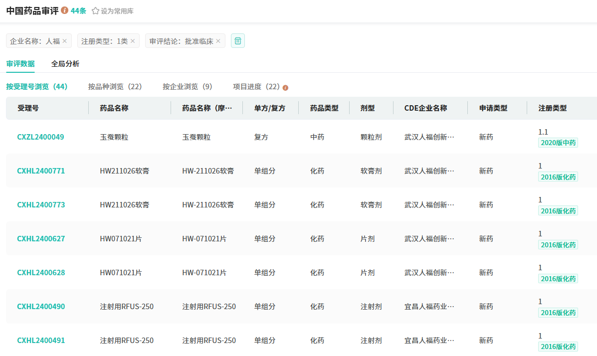
截图来源:摩熵医药(原药融云)中国药品审评数据库
人福医药在新药研发领域,近年来成果颇丰,有超20款1类新药(含子公司)获批临床,其中,HW060015胶囊、HWH486胶囊、RF-A089胶囊、WXFL10040340胶囊、WXFL10230486胶囊1类新药属于抗肿瘤药和免疫机能调节药物,而玉蚕颗粒属于中药1类消化系统与代谢药物。据摩熵医药数据库显示,这两大治疗领域,在2023年全国院内市场的销售总额超1000亿元。










川公网安备51019002008863号
本网站未发布麻醉药品、精神药品、医疗用毒性药品、放射性药品、戒毒药品和医疗机构制剂的产品信息
收藏
登录后参与评论
暂无评论