
近日,据人福医药发布公告称,其控股子公司宜昌人福药业申报的注射用RFUS-250获批临床,拟用于瘙痒症和急慢性疼痛的治疗。公告中提到,截至目前,宜昌人福该项目累计投入约2,000万元人民币。

截图来源:企业公告
注射用RFUS-250是小分子阿片受体激动剂,临床拟用于瘙痒症和急慢性疼痛的治疗,目前,国内尚无同类型产品上市。据药融云数据库显示,2023年神经系统药物(化学药或生物药)在全国院内市场销售额达849.04亿元,同比增长达1.31%。

截图来源:药融云全国院内销售数据库
根据 IQVIA数据统计,2023年,全球治疗瘙痒领域的市场销售额为3.82亿美元,其中阿片受体的治疗瘙痒总占比为14.14%。截至目前,宜昌人福该项目累计投入约2,000万元人民币。在2023年全国院内神经系统药物(化学药或生物药)销售额TOP50榜单中,人福医药(集团计)凭借12.07%的市场份额,一跃成为神经系统药物排名第一的企业。

截图来源:药融云全国院内销售数据库
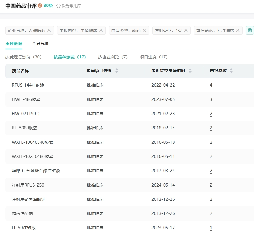
人福医药在神经系统领域持续加大创新药的布局,并陆续进入收获期。目前,人福医药(含子公司)有17款1类新药获批临床,其中有8款神经系统药物。

截图来源:药融云中国药品审评数据库
据药融云数据库显示,注射用RFUS-250是人福医药今年首个获批临床的品种。目前,公司还有多个神经系统1类新药在临床阶段,其中RFUS-144注射液在今年4月进入了II期临床。此外,2020年获批的注射用苯磺酸瑞马唑仑,在2023年全国院内市场的销售额已突破1亿元,同比增长达86.71%,市场潜力可期。
参考来源:
[1] 人福医药官方公告
[2] 药融云数据库
<END>
想要解锁更多药物研发信息吗?查询药融云数据库(vip.pharnexcloud.com/?zmt-mhwz)掌握药物基本信息、市场竞争格局、销售情况与各维度分析、药企研发进展、临床试验情况、申报审批情况、各国上市情况、最新市场动态、市场规模与前景等,以及帮助企业抉择可否投入时提供数据参考!注册立享15天免费试用!








川公网安备51019002008863号
本网站未发布麻醉药品、精神药品、医疗用毒性药品、放射性药品、戒毒药品和医疗机构制剂的产品信息
收藏
登录后参与评论
暂无评论