
7月18日,据国家药监局发布公告,对韩国大熊制药(DAEWOONG BIO INC.)的注射用头孢地嗪钠开展境外生产现场动态检查。因大熊制药未按要求接受国家药监局对于国家组织集采中选药品该药品的境外现场动态检查,国家药监局将该检查判定为“不符合要求”,并对该产品采取暂停进口、销售和使用措施。

18亿+集采进口药遭停售,市场销售额逐年下降!
注射用头孢地嗪钠是一种抗生素类药物,属于第三代头孢菌素类。用于敏感细菌引起的感染,如上、下泌尿道感染,下呼吸道感染,淋病等。据药融云数据库显示,这款昔日在全国院内市场销售额超18亿元的大品种,近年来销售额显著下滑,已缩减至仅3亿元左右的规模。近三年来,注射用头孢地嗪钠在全国医院内的市场规模持续萎缩,呈现出明显的下降趋势。2022年销售额达6.93亿元,同比下滑34.03%;2023年销售额达3.24亿元,同比下滑53.39%;2024年一季度表现仍不佳,销售额仅达4千万元,同比下滑59.35%。

截图来源:药融云全国医院销售数据库
在2023年4月注射用头孢地嗪钠被纳入第八批国家集采,当时,大熊制药以每盒41.2元的价格中选,供应区域是山西、吉林、福建、湖北、广西、宁夏,执行时间从2023年7月起。2023年韩国大熊制药在全国医院市场以高达54.47%的市场份额稳居榜首。到现在执行刚满一年,大熊制药的产品就被暂停销售了。

截图来源:药融云全国医院销售数据库
国家联采办同时公告,取消大熊制药生产注射用头孢地嗪钠的中选资格,并将该企业列入违规名单,同时暂停该企业自2024年7月18日至2026年1月17日参与国家组织药品集中采购活动的申报资格。
国内4家药企入第八批集采,且药品价格更低
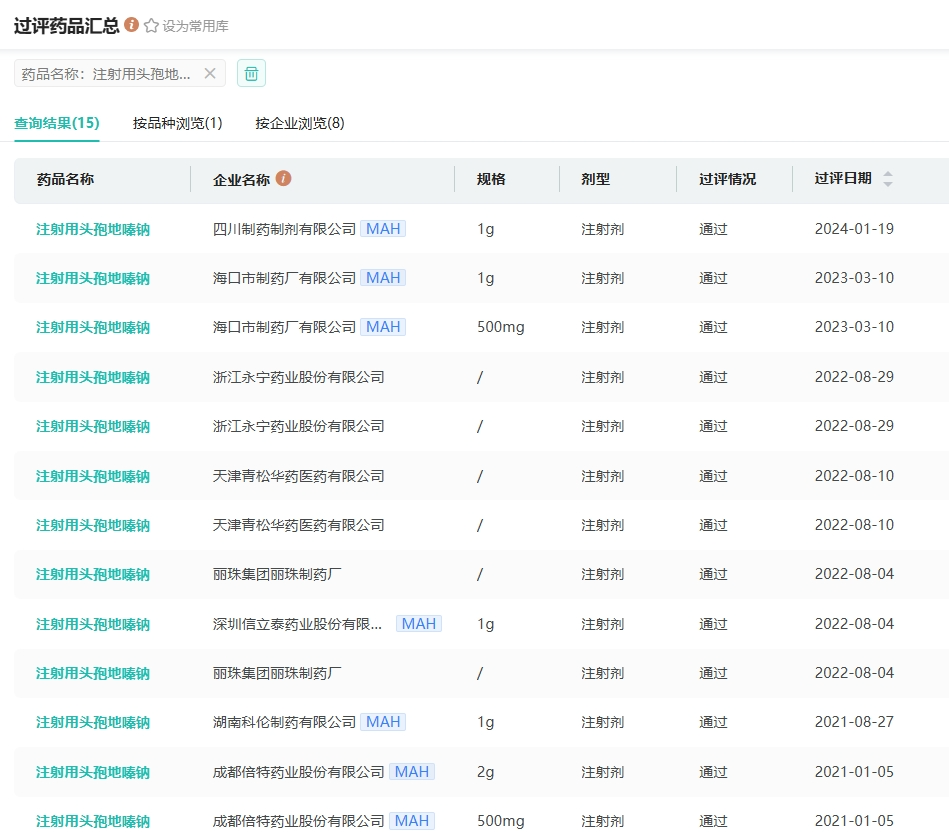
据药融云数据库显示,目前,注射用头孢地嗪钠有成都倍特药业、丽珠集团丽珠制药厂、天津青松华药医药、四川制药制剂、湖南科伦制药等8家药企过评。

截图来源:药融云过评药品汇总数据库
在第八批国家集采中,注射用头孢地嗪钠共有5家药企中选,包括大熊制药、海口市制药厂、丽珠集团、浙江永宁药业及湖南科伦制药。其中,大熊制药以最高中选价格脱颖而出,其0.5g*10瓶/盒的规格产品中标。相同的规格与包装下,海口市制药厂的中选价格更低,为38.90元/盒。而天津、山西、福建3地则有丽珠集团的28.90元/盒的注射用头孢地嗪钠可供选择。
参考来源:
[1] NMPA官网
[2] 药融云数据库
<END>
想要解锁更多药物研发信息吗?查询药融云数据库(vip.pharnexcloud.com/?zmt-mhwz)掌握药物基本信息、市场竞争格局、销售情况与各维度分析、药企研发进展、临床试验情况、申报审批情况、各国上市情况、最新市场动态、市场规模与前景等,以及帮助企业抉择可否投入时提供数据参考!注册立享15天免费试用!








川公网安备51019002008863号
本网站未发布麻醉药品、精神药品、医疗用毒性药品、放射性药品、戒毒药品和医疗机构制剂的产品信息
收藏
登录后参与评论
暂无评论