
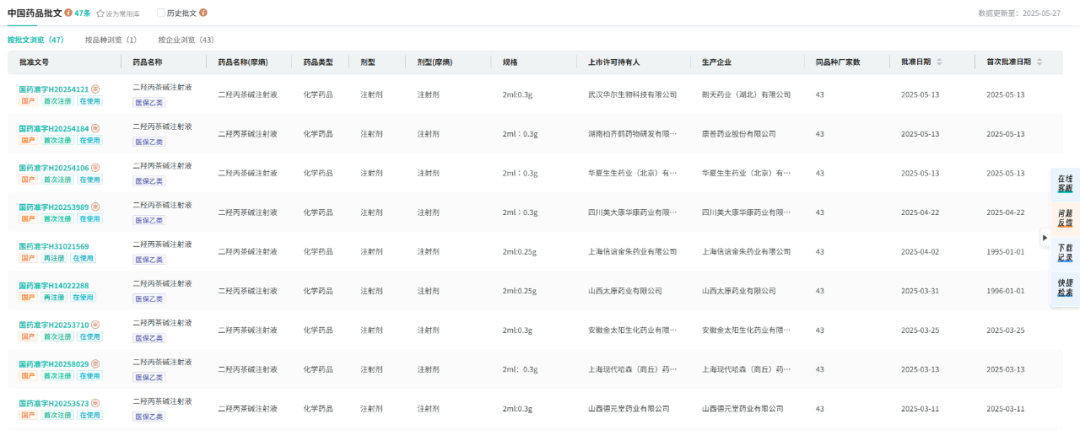
5月28日,据摩熵医药数据库的最新数据显示,石药集团欧意药业有限公司提交的二羟丙茶碱注射液已通过仿制药一致性评价。

截图来源:摩熵医药-过评药品汇总数据库
二羟丙茶碱注射液是一种平滑肌松弛药,属于茶碱类药物,具有扩张支气管、扩张冠状动脉以及强心等多重作用。在临床上,它被广泛应用于支气管哮喘、喘息型支气管炎、阻塞性肺气肿等疾病的治疗,用于缓解喘息症状,同时也适用于心源性肺水肿引起的哮喘,尤其对于不能耐受茶碱的哮喘病例,更是有着独特的优势。
二羟丙茶碱的原研厂家为日本卫材,然而原研品牌并未在国内上市,这使得国内市场主要由国产仿制药占据主导地位。
从销售数据来看,二羟丙茶碱注射液的市场表现也十分亮眼。据摩熵医药数据库显示,2023年该药品在全国医院销售(全终端)的销售额超2.5亿元,同比增长高达107.2%。进入2024年,仅在前两个季度(Q1-Q2),其销售额就已超1.1亿元,展现出巨大的市场潜力和广阔的发展前景。









川公网安备51019002008863号
本网站未发布麻醉药品、精神药品、医疗用毒性药品、放射性药品、戒毒药品和医疗机构制剂的产品信息
收藏
登录后参与评论
暂无评论