
两笔合计超8亿元的重磅收购,让沉寂许久的仿制药交易市场再起波澜。
2025年9月,南新制药率先出手,公告拟以不超过4.8亿元收购未来医药旗下的多种微量元素注射液资产组。仅仅三个月后,佐力药业也宣布以3.56亿元完成对西藏未来生物同类资产组的战略性收购。
收购热潮未歇,市场准入的争夺已同步上演。12月23日,石家庄四药的多种微量元素注射液(Ⅲ)上市申请正式获CDE受理,预示着这一赛道的竞争即将进入新阶段。

截图来源:CDE官网
在集采常态化的今天,仿制药交易价格普遍走低,而多种微量元素注射液却接连出现数亿元的高价收购,这背后隐藏着怎样的商业逻辑?
一、年销20亿临床“硬通货”,许昌未来领跑国内药企
多种微量元素注射液听起来并不像肿瘤靶向药那样“高大上”,但它在临床上却是名副其实的“硬通货”。 作为肠外营养微量元素的核心来源,它广泛用于术后恢复、肿瘤支持、ICU重症维持等关键场景,具有强临床必需性。 该产品线中的Ⅰ型、Ⅱ型均为国家医保乙类品种,纳入多省集采,获多项临床指南与专家共识推荐,已在多科室广泛应用。
市场数据清晰印证了其“硬通货”价值:据摩熵医药数据库显示,多种微量元素注射液相关剂型在全终端院内市场销售额持续攀升,2023年突破20亿元,2024年销售额也维持在18亿元以上的高位”,其中,Ⅰ、Ⅱ型产品合计贡献9.18亿元收入,独占市场57.52%的份额。竞争格局方面,许昌未来制药以26.73%的市场份额,在国内企业中保持领先。

查数据,找摩熵!图源:摩熵医药全终端医院销售数据库
更具爆发力的是在研新剂型。多种微量元素注射液(Ⅲ)在2024年全终端医院的销售额已超千万元,2025年上半年突破500万元,同比增速高达1324.12%,成为市场中最具潜力的增长点。
二、两大药企重金布局,佐力药业闯入新蓝海
面对这个增长迅猛的市场,两家药企做出了相似的战略选择。
2025年9月,南新制药宣布拟以不超过4.8亿元收购未来医药的多种微量元素注射液资产组。值得注意的是,交易标的特别包含了客户资料和市场渠道,显示出收购方对现有销售网络的重视。

截图来源:企业公告
三个月后,佐力药业以3.56亿元收购西藏未来生物及其全资子公司旗下“多种微量元素注射液”资产组,正式接手该产品线。至此,医药界关注多年的未来生物两款上市药品多种微量元素注射液I、II,以及在研品种多种微量元素注射液(Ⅲ),找到了新东家。

截图来源:企业公告
该产品应用广泛但竞争格局集中,市场长期由费森尤斯卡比华瑞制药、卫信康、未来医药等少数企业主导。此次收购为佐力药业提供了切入该领域的宝贵机会。
现成渠道与稳定收益:收购标的已进入广东联盟、京津冀“3+N”等集采体系,覆盖全国20多个省份,能为佐力药业带来即时的收入与利润。
在研管线储备未来增长:多种微量元素注射液(Ⅲ)在研产品通过优化元素配比,在安全性和有效性上更具优势,上市后有望冲击外资主导的高端市场。
战略协同构建新生态:佐力药业核心产品“乌灵胶囊”在神经、精神及老年患者群体中基础扎实,与肠外营养适用人群高度重合。此次收购不仅丰富了产品矩阵,也为公司开辟了新的治疗领域,形成了从门诊到住院、从治疗到支持的全方位布局。
三、高壁垒赛道:仅7家企业的角逐
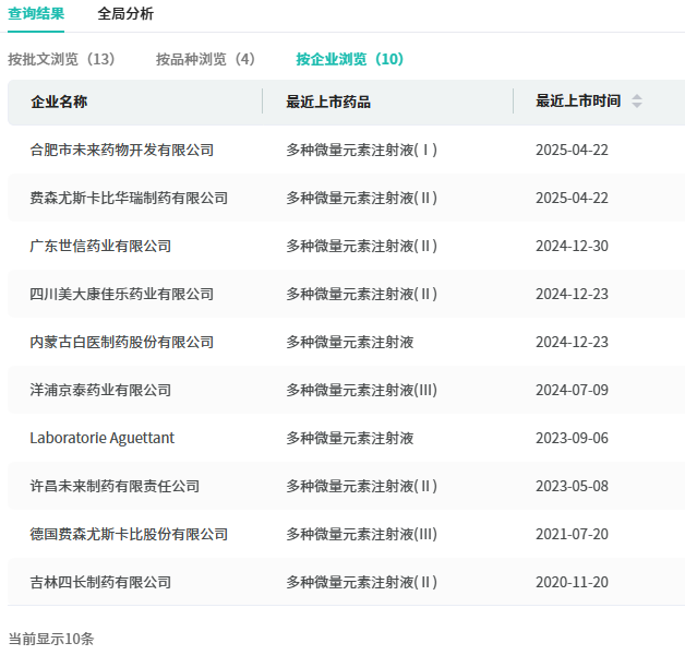
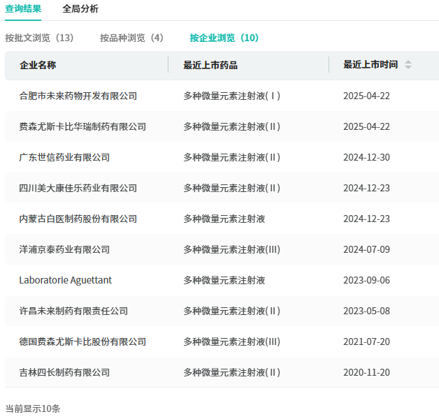
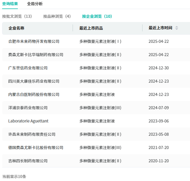
多种微量元素注射液市场的特点是玩家少、门槛高。目前,该系列产品在国内仅有10家药企获得生产批文,其中多种微量元素注射液(Ⅲ)只有洋浦京泰药业和Fresenius Kabi Deutschland GmbH两家企业获批。
值得关注的是,洋浦京泰药业的多种微量元素注射液(Ⅲ)已于2024年7月16日获批上市,并通过一致性评价,成功拿下国内首仿。

查数据,找摩熵!图源:摩熵医药中国药品批文数据库
除了已获批的两家企业外,仁合益康、合肥未来药物等企业的多种微量元素注射液(Ⅲ)上市申请目前正处于审评审批阶段。算上刚刚提交申请的石家庄四药,总共不超过7家企业在竞争这个品种。










川公网安备51019002008863号
本网站未发布麻醉药品、精神药品、医疗用毒性药品、放射性药品、戒毒药品和医疗机构制剂的产品信息
收藏
登录后参与评论
暂无评论