该品种于2022年7月由山东中健康桥制药独家获批上市,并于2024年3月通过一致性评价,成为国内首家过评企业。随着北京诚济制药和仁合益康集团的铝镁匹林片(Ⅱ)于2025年12月25日同日获批,该品种正式告别长达数年的独家垄断,迈入“三家争鸣”的新竞争阶段。
北京诚济制药早在2021年就提交了上市申请,历经两轮发补,耗时四年多终获批准,过程不易。截至目前,该品种已有山东中健康桥制药、北京诚济制药和仁合益康集团3家企业获批并过评。

查数据,找摩熵!图源:摩熵医药过评药品汇总数据库
研发竞争激烈,多家企业布局
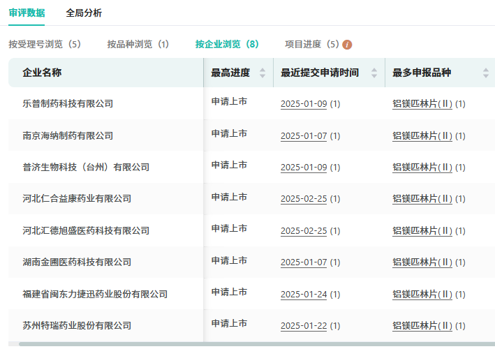
在仿制药布局方面,据摩熵医药数据库显示,目前仍有南京海纳制药、乐普制药科技等8家企业提交了铝镁匹林片(Ⅱ)的仿制申请,均处于审评审批阶段。

查数据,找摩熵!截图来源:摩熵医药中国药品审评数据库
在临床研发阶段,另有上海安必生制药、浙江京新药业、浙江华海药业等10家企业正在进行BE试验,还有12家企业已完成BE试验。随着新玩家入局,这一超4亿元规模的品种市场格局将发生深刻变化。
在带量采购常态化的背景下,新获批企业为快速抢占市场份额,极有可能通过价格竞争打破原有市场平衡。 从临床需求来看,铝镁匹林片(Ⅱ)作为抗血小板治疗的基础用药,其复方制剂形式能够减轻胃肠道不良反应,提高患者依从性。在老龄化进程加速的背景下,其市场需求预计将持续增长。
结语
铝镁匹林片(Ⅱ)的“破局”是国内仿制药市场竞争的缩影。随着更多企业完成研发并获批上市,这一品种的市场竞争将更加激烈。如何在保证质量的前提下控制成本、构建差异化优势,将成为企业突围的关键。
参考来源:
[1] NMPA官网
[2] 摩熵医药(原药融云)数据库
扩展阅读:
1. NMPA同日驳回5条二甲硅油乳剂申请,海纳独家过评
2. 大涨173%!武田“亿级”新型抑酸药,2企业同日入局!
3. 11亿+重磅注射剂,苑东生物、先施药业同日获批!
查数据,找摩熵!想要解锁更多药物研发信息吗?查询摩熵医药(原药融云)数据库(vip.pharnexcloud.com/?zmt-mhwz)掌握药物基本信息、市场竞争格局、销售情况与各维度分析、药企研发进展、临床试验情况、申报审批情况、各国上市情况、最新市场动态、市场规模与前景等,以及帮助企业抉择可否投入时提供数据参考!注册立享15天免费试用!

收藏
登录后参与评论
暂无评论