
昨日,据CDE官网最新公示,湖南先施制药和双鹤药业递交的4类仿制化药富马酸伏诺拉生片上市申请获同日受理。目前,该品种国内共有3家企业拥有批文,另有20余家药企布局中。

截图来源:CDE官网
富马酸伏诺拉生片是武田原研的新型抑酸药,最早于2015年2月在日本上市,用于治疗酸相关疾病,包括反流性食管炎(Reflux Esophagitis, 简称RE)、胃溃疡、十二指肠溃疡、在使用低剂量阿司匹林或非甾体类抗炎药治疗期间预防胃溃疡或十二指肠溃疡的复发和幽门螺杆菌的根除。
据悉,目前临床应用最广的抑酸药物是质子泵抑制剂(PPI),尽管PPI在抑酸领域占据了主导份额,但存在半衰期短、抑酸不足等痛点。相较于PPI,钾离子竞争性酸阻滞剂(P-CAB)富马酸伏诺拉生片拥有首剂全效、强效抑酸、半衰期较长(一天仅需服药一次)等特点,同时较PPI更快缓解症状。最新中国GERD指南已将P-CAB作为RE的首选药物之一。
2019年底,富马酸伏诺拉生片在中国获批上市,用于治疗反流性食管炎,商品名:沃克,成为首款获批进入中国市场的钾离子竞争性酸阻滞剂。2020年底,沃克成功进入国家医保药品目录,定价为28元/20mg。在2023年版的国家医保目录中,该产品已被列入常规目录,并维持其原有的使用范围限制,限于治疗反流性食管炎的患者。据药融云数据统计,2021年,富马酸伏诺拉生片进入市场,全国院内销售额一举破亿,达到1.57亿元。2022年全国院内销售额超4亿元,同比增长达173%,上升趋势明显,市场前景可观。

截图来源:药融云数据全国医院销售数据库
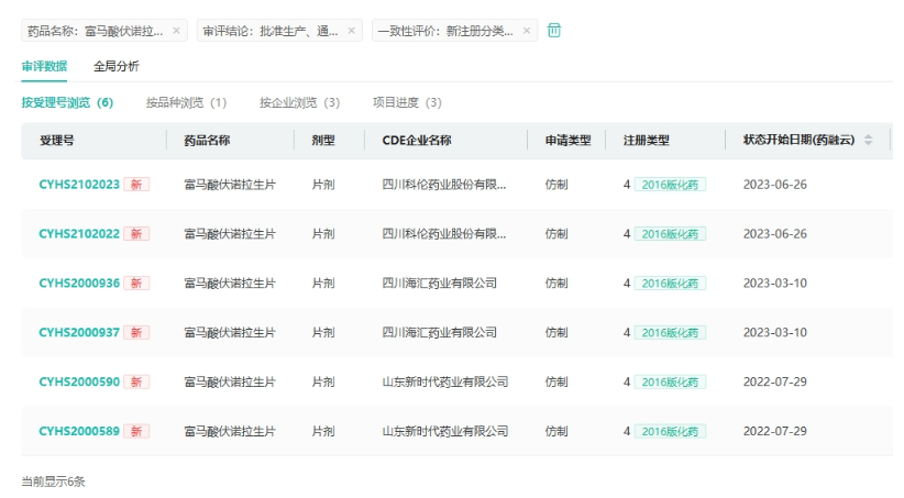
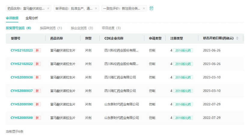
此前富马酸伏诺拉生片由武田独家生产销售。截至目前获得富马酸伏诺拉生片生产批文的国内药企包括了山东新时代药业、四川海汇药业、四川科伦药业3家,其中山东新时代于2022年7月顺利斩获首仿+首家过评;后扬子江药业子公司四川海汇药业于2023年3月第二家获批,科伦药业于2023年6月第三家获批。此次湖南先施制药和双鹤药业最新入局,抢国产第四家。

截图来源:药融云中国药品审评数据库
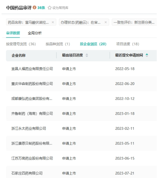
除此次提交了2家企业,还有石家庄四药、齐鲁制药、山东朗诺制药、宜昌人福药业、正大天晴药业等18家药企提交了富马酸伏诺拉生片的上市申请,均在审评审批中。

截图来源:药融云中国药品审评数据库
此外,湖南先施制药、湖南千金湘江药业等近20家药企均正在开展富马酸伏诺拉生片的BE试验;山东新时代药业的2.2类新药富马酸伏诺拉生注射液正在开展临床I期试验,拟用于消化性溃疡的治疗。
<END>
要解锁更多企业药品研发信息吗?查询药融云数据库(vip.pharnexcloud.com/?zmt-mhwz)掌握药品各国上市情况、药品批文信息、销售情况与各维度分析、市场竞争格局、一致性评价情况、集采中标情况、药企申报审批信息、最新动态与前景等,以及帮助企业抉择可否投入时提供数据参考!注册立享15天免费试用!








川公网安备51019002008863号
本网站未发布麻醉药品、精神药品、医疗用毒性药品、放射性药品、戒毒药品和医疗机构制剂的产品信息
收藏
登录后参与评论
暂无评论