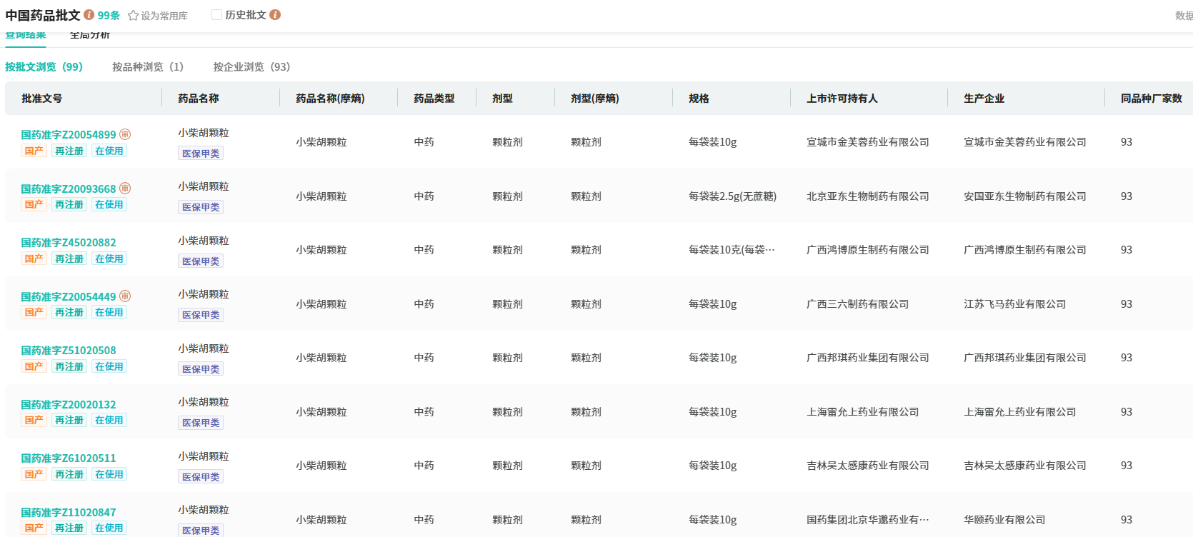
截至目前,该品种有3家药企拥有生产批文,其中有2家药企过评。2020年1月,正大清江制药获批并通过一致性评价,拿下国内首仿,2024年6月四川绿叶制药拿下国内第2家。在竞争格局上,正大清江制药占据院内96.54%的市场份额。正大清江的“垄断地位”短期内无人能撼动。

查数据,找摩熵!图源:摩熵医药-全终端医院销售数据库
对正大清江而言,盐酸氨基葡萄糖片 是当之无愧的“业绩压舱石”,支撑着企业相关板块的稳定增长。此次停采直接导致该品种短期放量节奏被迫放缓,原本稳固的市场优势暂时失效,企业不得不重新规划市场策略,力争挽回停采带来的损失。
三、9亿+贴膏独撑半壁江山,奇正藏药稳坐贴膏剂头部
消痛贴膏 是奇正藏药的核心大单品,上市30年,年销售额达十亿级别,占公司营收半壁江山。作为国家医保乙类、OTC乙类(双跨)品种,具消肿、止痛、抗炎、化瘀四效合一功效,在消炎镇痛膏类目中生命周期更长、属性更稀缺,尤胜 氟比洛芬、洛索洛芬钠 等新型化药贴膏。其独有的藏药属性支撑坚挺价格,并带动销量持续攀升——近三年全终端医院市场销售额连年增长,销售峰值均超10亿元,2025年前三季度销售额超9亿元。

查数据,找摩熵!图源:摩熵医药-全终端医院销售数据库
奇正藏药 虽拥有 消痛贴膏 、铁棒锤止痛膏、伤湿止痛膏等多个品种,但 消痛贴膏 始终是最核心的收入支柱。凭借该品种,奇正藏药稳居中成药贴膏剂第一梯队头部,近几年 消痛贴膏 院内市场由奇正藏药独占。2024年,公司贴膏剂销量达1.93亿贴,同比增长18.34%,其中绝大部分增量来自消痛贴膏的贡献。
如今这根“支柱”被暂停采购,奇正的“半壁江山”瞬间失稳。短期推广要延后,渠道策略得重构——对依赖单一大单品的药企来说,“命门”被碰的滋味,不好受。
小结
此次3个重磅品种被暂停采购,不仅直接冲击华润三九、正大清江、奇正藏药三家药企,打乱其既定市场规划与业绩预期,更再次凸显了医药集中采购的规范性与公平性——在行业监管不断趋严的背景下,无论是头部药企还是细分领域龙头,都需应对政策变化带来的市场波动。因此,减少单一大单品依赖、完善产品矩阵,或将成为药企抵御风险的关键。
参考来源:
[1] 上海阳光采购网
[2] 摩熵医药(原药融云)数据库
扩展阅读:
1. 药品价格治理下,28个中成药40个品规被暂停采购,广盛原等29家企业牵涉其中!
2. 15款药紧急停采!百利药业70倍价差引问询,5家药企竞逐马来酸依那普利市场
3. 康恩贝生物乙酰半胱氨酸泡腾片被暂停采购,48亿化痰药市场生变!
查数据,找摩熵!想要解锁更多药品信息吗?查询摩熵医药(原药融云)数据库(vip.pharnexcloud.com/?zmt-mhwz)掌握药品各国上市情况、药品批文信息、销售情况与各维度分析、市场竞争格局、一致性评价情况、集采中标情况、药企申报审批信息、最新动态与前景等,以及帮助企业抉择可否投入时提供数据参考!注册立享15天免费试用!

收藏
登录后参与评论
暂无评论