
核药领域正迎来商业化突破的关键时刻。2024年,诺华两款核药明星产品 Pluvicto 与 Lutathera 创下超20亿美元的销售佳绩,2025年前三季度 Pluvicto 的营收已达到13.89亿美元,接近去年全年销售额,同比增长33%。
诺华在2025JPM大会上预测,Pluvicto 销售峰值预计超过50亿美元。在国内,远大医药的 钇[90Y]微球注射液 2024年收入近5亿港元,实现近140%的惊人增长。
这一系列亮眼的商业化数据,不仅彻底点燃了市场对放射性药物的热情,更昭示着一个集诊断与治疗于一体的精准医疗新时代正加速到来。
在治疗性核药中,RDC成为当前最具想象力的发展方向,吸引了诺华、礼来、阿斯利康、强生等跨国巨头以及国内先通医药、辐联医药等创新企业竞相涌入。

β核素当道:RDC的黄金时代与内卷初现
放射性配体偶联药物(RDC),被誉为“核药界的ADC”,其结构精巧,由靶向配体、连接子、螯合剂和放射性同位素四部分构成。它如同一枚枚“生物导弹”,通过配体精准导航至肿瘤细胞,再由放射性核素释放射线,实现对癌细胞的精准“爆破”。
当前,RDC赛道的主流技术路线围绕β核素——镥-177(Lu-177)展开。
Lu-177之所以备受青睐,源于其近乎完美的“药物属性”:6.7天的半衰期为生产、运输和药物标记提供了充足窗口;衰变时释放的少量γ射线,可用于显像追踪,实现治疗过程的可视化;更重要的是,其释放的β射线能量适中、射程较短(约670微米),能在高效杀伤小体积肿瘤及转移灶的同时,最大限度地减少对周围健康组织的损伤。
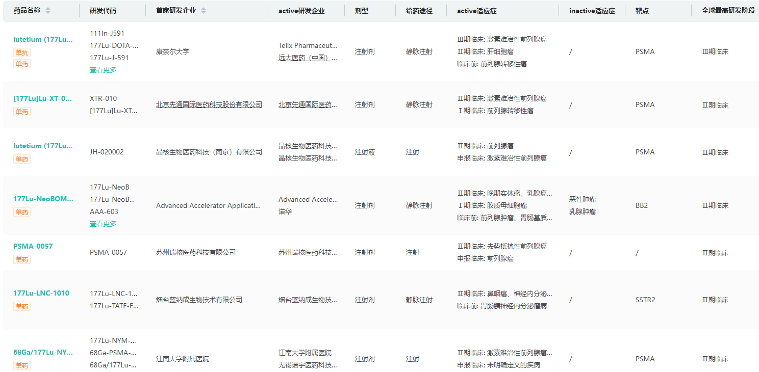
诺华的 Lutathera 和 Pluvicto 正是基于Lu-177的典范之作。据摩熵医药数据库统计,在国内远大医药的 ITM-11 、蓝纳成生物的 LNC-1011 、晶核生物的 JH-020002 等20多个创新药已进入临床阶段,且靶点集中在PSMA和SSTR,一场围绕 Lu-177 的“百舸争流”已然上演。然而,赛道的拥挤也催生了新的思考:如何在激烈的同质化竞争中脱颖而出?答案,正指向更具颠覆性的下一代技术——α核素。
国内处于临床阶段的镥-177创新药(部分)

图片来源:摩熵医药-全球药物研发数据库
α粒子的崛起:核药领域的“下一个制高点”
为寻求差异化突破,行业焦点正转向α核素,尤其是“明星核素”锕-225(Ac-225)。与β粒子相比,α粒子体积更大、能量更高,却仅能穿透50至100微米的距离,相当于3-5个细胞的宽度,这种“精准爆破”的特性让能量几乎全部沉积在靶细胞及其紧邻区域,在高效杀伤肿瘤的同时,最大限度保护健康组织。
更值得关注的是,α粒子的单次杀伤效率极高,所需放射性活度远低于β核素,显著降低了全身性副作用风险;其造成的DNA双链断裂难以修复,对放疗抵抗性癌细胞同样有效,这些优势使其成为攻克难治性肿瘤的潜在利器。正因如此,α疗法被视为β疗法之后下一代核药治疗的制高点,而Ac-225则成为这一前沿竞赛的核心。
全球竞速:Ac-225赛道的并购与研发热潮
围绕Ac-225,一场由跨国药企主导的竞速赛已全面展开。
拜耳是早期布局者,其基于镭-223的药物 Xofigo 早在2013年获批,并通过收购持续加码α平台。
诺华作为核药领域最大赢家,除已上市的 Lutathera 与 Pluvicto 外,还通过收购Mariana获得Ac-225核药 MC-339(靶向DLL3),并推进其下一代产品 AAA817(Ac-PSMA-617)II/III期研究,剑指PSMA阳性转移性去势抵抗性前列腺癌(mCRPC)。
礼来、BMS、阿斯利康等巨头则通过并购加速布局:
2023年,BMS以41亿美元收购RayzeBio,获核心产品 RYZ101(Ac-225-SSTR2靶向药);
2024年,阿斯利康收购Fusion,获得Ⅲ期在研的锕基PSMA靶向药 FPI-2265,有望成为首款锕基核药;
礼来14亿美元收购Point Biopharma,获得 PNT2004(Ac-225-SSTR2)和 PNT2001(Ac-225-PSMA),并联手Aktis Oncology开发迷你蛋白靶向α药物。
与海外市场的火热形成对比,国内在Ac-225领域的布局尚处起步阶段,仅诺华的 AAA817 与辐联科技的 [225Ac]Ac-FL-020 进度领先。
辐联科技是国内锕-225领域应用居前的典型代表,目前 [225Ac] Ac-FL-020 在国内处于I期临床阶段,成为国内α核药研发的先锋。其另一款锕- 225产品 FL-091 在2024年7月授权给了SK Biopharmaceuticals公司。该公司管线中还包括多款锕-225核药,靶向SSTR2、c-MET、B7H3等多个靶点。
辐联科技[225Ac]Ac-FL-020全球研发进度查询

图片来源:摩熵医药-全球药物研发数据库
供应链瓶颈:同位素的“卡脖子”难题
制约国内Ac-225核药发展的核心瓶颈,在于同位素原料的供应。Ac-225的生产工艺极其复杂,需要从钍-229衰变链中提取,辐射风险高,全球年产量不足10居里,与临床超1000居里/年的潜在需求存在巨大缺口,此前BMS的 RYZ101 就因核素短缺暂停Ⅲ期临床。
为破解“卡脖子”难题,中国正从源头发力。在政策与基建的双重推动下,中国绵阳研究堆已能通过“辐照Ra-226靶”途径生产出临床前研究用的Ac-225,展现出规模化生产的潜力。秦山核电站则探索从乏燃料中提取Ac-225前体的技术,力图“变废为宝”,尽管尚处实验室阶段,但未来潜力巨大。
此外,产业链的区域化协同与一体化整合也成为破局关键。以秦山核电为核心的海盐核技术应用产业园,正吸引诺华等巨头落地,打造从核素制备到药物生产的完整链条。成都纽瑞特等企业则尝试打通上下游,实现关键核素的自主制备,为研发生产提供稳定保障。
结语
从Lu-177到Ac-225,从β粒子到α粒子,RDC赛道正从“一枝独秀”走向“群雄逐鹿”。尽管面临同位素供应、生产工艺、物流时效等多重挑战,但α核素代表的下一代RDC以其卓越的治疗潜力,已无可争议地成为战略高地。在这场关乎生命质量的竞赛中,中国创新药企或许暂时落后一个身位,但在核医学这个与时间赛跑的赛道上,基础设施的完善与产业链的深度整合,正在为未来积蓄超越的能量,一起期待吧。
扩展阅读:
1. 跨国药企加码核药赛道,阿斯利康24亿美元收购Fusion
3. BMS斥资41亿进军核药重启3期临床,RYZ101或成潜在全球首款
4. 恒瑞医药加速核药研发,氟[18F]美他酚注射液获批开展认知障碍临床试验
查数据,找摩熵!想要解锁更多药物研发信息吗?查询摩熵医药(原药融云)数据库(vip.pharnexcloud.com/?zmt-mhwz)掌握药物基本信息、市场竞争格局、销售情况与各维度分析、药企研发进展、临床试验情况、申报审批情况、各国上市情况、最新市场动态、市场规模与前景等,以及帮助企业抉择可否投入时提供数据参考!注册立享15天免费试用!








川公网安备51019002008863号
本网站未发布麻醉药品、精神药品、医疗用毒性药品、放射性药品、戒毒药品和医疗机构制剂的产品信息
收藏
登录后参与评论
暂无评论