
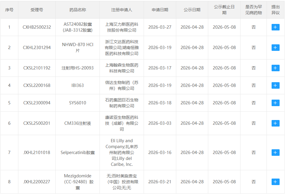
4月28日,CDE官网显示,8款创新药同日拟纳入突破性治疗,其中有7款1类新药,1款2.4类新药,涉及信达生物、石药集团、康诺亚、礼来、百时美施贵宝等多家头部药企,覆盖肿瘤、自免等多个重大疾病领域。

截图来源:CDE官网
短短一天之内,从ADC到双抗,从食管癌到结直肠癌,多款重磅疗法同步获得监管认可,为相关患者带来了新的希望曙光。
一、石药EGFR ADC再拓新适应症,食管鳞癌治疗格局或将改写
在本次拟纳入名单中,石药集团的1类新药SYS6010赫然在列,其拟突破的适应症为:既往一线接受含铂化疗和免疫检查点抑制剂(ICI)治疗后失败的不可切除的局部晚期或转移性食管鳞癌。

查数据,找摩熵!图源:摩熵医药-全球药物研发数据库
SYS6010是巨石生物研发的靶向表皮生长因子受体(EGFR)的抗体偶联药物(ADC),其由人源化抗EGFR单抗通过可裂解连接子,与拓扑异构酶Ⅰ抑制剂有效载荷偶联而成。该药物可精准结合肿瘤细胞表面的EGFR,经内化后在细胞内释放强效细胞毒性载荷,从而实现对癌细胞的精准杀伤。
据摩熵医药数据库显示,该药于2023年2月首次提交临床申请,4月14日获批开展临床试验,2024年8月进入非小细胞肺癌及转移性非小细胞肺癌Ⅲ期临床试验。2024年12月,其用于EGFR突变阳性晚期非小细胞肺癌(经EGFR-TKI和含铂化疗治疗失败)的申请已被CDE纳入突破性疗法,此次食管鳞癌领域突破,验证了其多癌种临床价值。

查数据,找摩熵!图源:摩熵医药-全球药物研发数据库
当前,含铂化疗联合免疫治疗是晚期食管鳞癌一线标准方案,但一线治疗失败后患者后续方案有限,临床需求未满足,SYS6010为这部分患者提供了新选择。2026年ASCO年会将公布的II期研究食管癌队列数据显示,SYS6010单药(3.6 mg/kg, Q2W)在既往标准治疗失败的ESCC患者中疗效与安全性良好,TOPOi-naïve患者疗效更佳。

查数据,找摩熵!图源:摩熵医药-全球药物研发数据库
此外,石药集团正围绕SYS6010构建广泛研发管线,除肺癌与食管鳞癌外,还拓展至鼻咽癌、胃癌、结直肠癌等领域。2026年AACR大会上,石药集团首次披露了SYS6010在晚期鼻咽癌患者中的首次人体研究积极结果。
二、信达全球首创双抗融合蛋白发力“冷肿瘤”,精准免疫治疗再下一城
同日,信达生物自主研发的全球首创(First-in-class)PD-1/IL-2α-bias双特异性抗体融合蛋白IBI363也迎来新进展。其联合贝伐珠单抗用于既往≥线标准治疗失败的晚期MSS/pMMR型结直肠癌的新适应症,拟被纳入突破性治疗品种。

查数据,找摩熵!图源:摩熵医药-全球药物研发数据库
IBI363的分子设计颇具巧思,它巧妙地融合了“免疫检查点阻断”与“细胞因子激动”双重机制:
- PD-1结合臂:能够阻断PD-1/PD-L1免疫抑制通路,解除肿瘤对T细胞的“刹车”效应。
- IL-2α-bias臂:采用独特的α偏向性设计,可优先激活和扩增具有抗肿瘤活性的效应T细胞和自然杀伤细胞,同时大幅降低传统IL-2疗法常见的、由激活调节性T细胞和内皮细胞导致的毒副作用。
简言之,IBI363既能“松开免疫刹车”,又能“踩下激活油门”,从两个关键维度协同增强抗肿瘤免疫反应。
其更核心的优势在于精准的靶向递送能力。PD-1结合臂能够将IL-2的活性精准导向肿瘤微环境中表达PD-1的T细胞富集区域,实现“在正确的地点,激活正确的细胞”,避免了IL-2全身激活带来的系统性毒性。这种特性使其在重塑肿瘤免疫微环境方面潜力巨大,不仅对“热肿瘤”有效,更有望攻克如MSS/pMMR型结直肠癌这类典型的免疫“冷肿瘤”。

查数据,找摩熵!图源:摩熵医药-全球药物研发数据库
MSS/pMMR型结直肠癌约占所有晚期结直肠癌的85%,对现有的免疫检查点抑制剂单药治疗普遍不敏感,是临床治疗的难点。IBI363联合抗血管生成药物贝伐珠单抗,有望通过改善肿瘤微环境、增强免疫细胞浸润,为这部分数量庞大的患者群体开辟全新的免疫治疗路径。
三、结语
一日之内,8款创新药在突破性治疗道路上齐头并进,从多靶点ADC到机制协同的双抗,清晰地勾勒出中国创新药研发正向技术纵深与临床价值高地开拓的路线图。
在监管鼓励、企业奋进的双重驱动下,这种针对重大临床未满足需求、聚焦前沿技术平台的密集突破,不仅将为患者带来更优的治疗选择,也正持续夯实中国医药产业的全球创新竞争力。未来,谁能在这条“突破”之路上率先将临床潜力转化为市场价值,值得持续关注。
参考来源:
[1] CDE官网
[2] 摩熵医药(原药融云)数据库
扩展阅读:
1. 信达生物创新研发加速:DLL3/CD3、IGF-1R/TSHR双抗同日获批临床,核心管线亮相2026ASCO年会!
2. 石药集团抗肿瘤新药HB1901达III期终点,有望成为晚期恶性PEComa的首款标准治疗方案
3. 突破性治疗认定双响炮:科兴制药儿童RSV吸入制剂迎新突破,强生特立妥单抗再扩新适应症
查数据,找摩熵!想要解锁更多药物研发信息吗?查询摩熵医药(原药融云)数据库(vip.pharnexcloud.com/?zmt-mhwz)掌握药物基本信息、市场竞争格局、销售情况与各维度分析、药企研发进展、临床试验情况、申报审批情况、各国上市情况、最新市场动态、市场规模与前景等,以及帮助企业抉择可否投入时提供数据参考!注册立享15天免费试用!








川公网安备51019002008863号
本网站未发布麻醉药品、精神药品、医疗用毒性药品、放射性药品、戒毒药品和医疗机构制剂的产品信息
收藏
登录后参与评论
暂无评论