
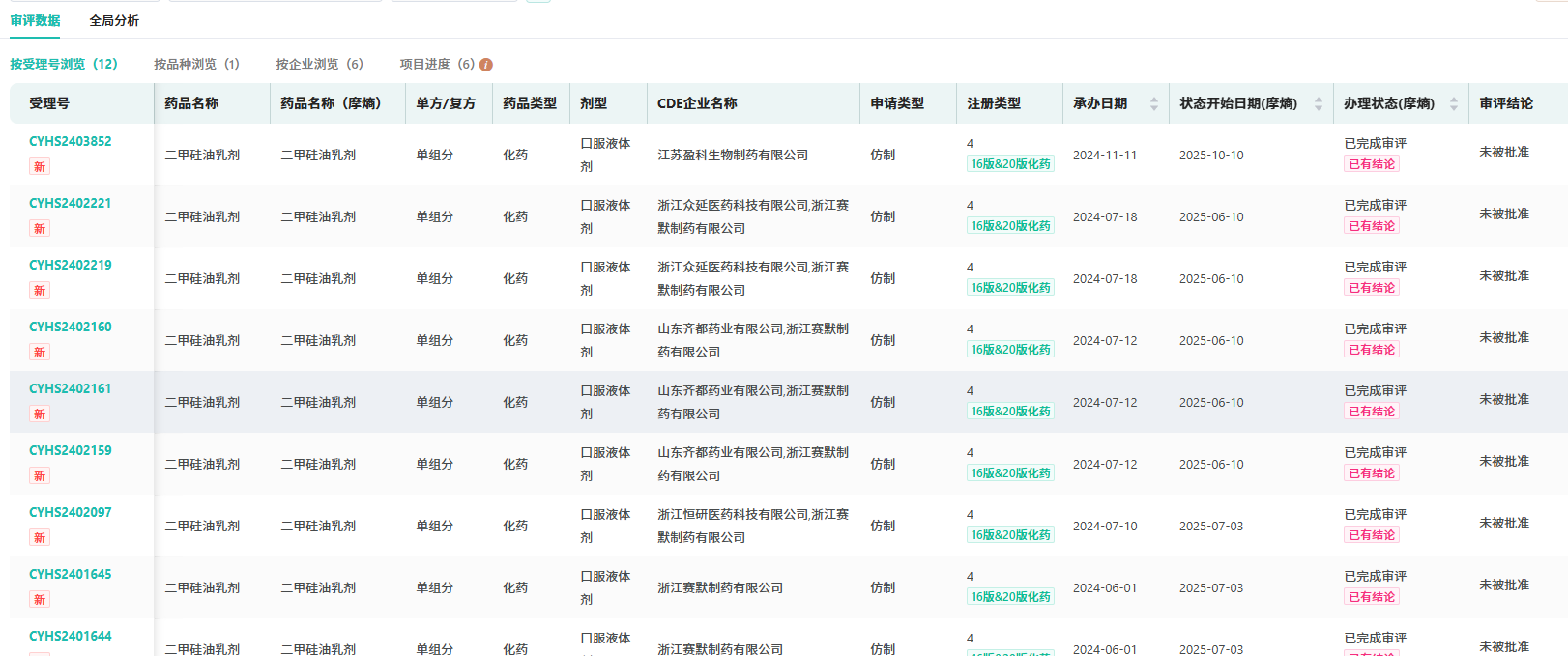
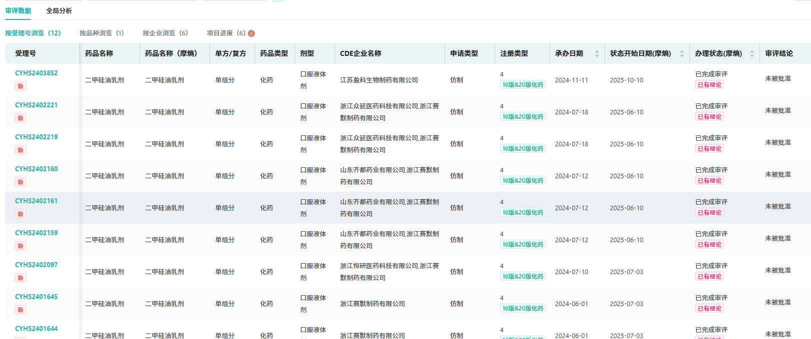
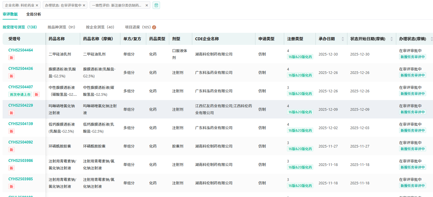
在医药行业的激烈竞争中,二甲硅油乳剂这一赛道近期备受关注。今年有6家药企连续收到驳回通知、累计拒批件达12项的严峻形势下,湖南科伦制药于12月30日递交的二甲硅油乳剂上市申请获CDE受理,强势入局。

截图来源:CDE
这个累计年销总额达10亿的胃镜“小品种”,已成为制剂领域的“隐形杀手”。科伦此次入局,能否打破困局?
市场格局:从独家垄断到竞争加剧
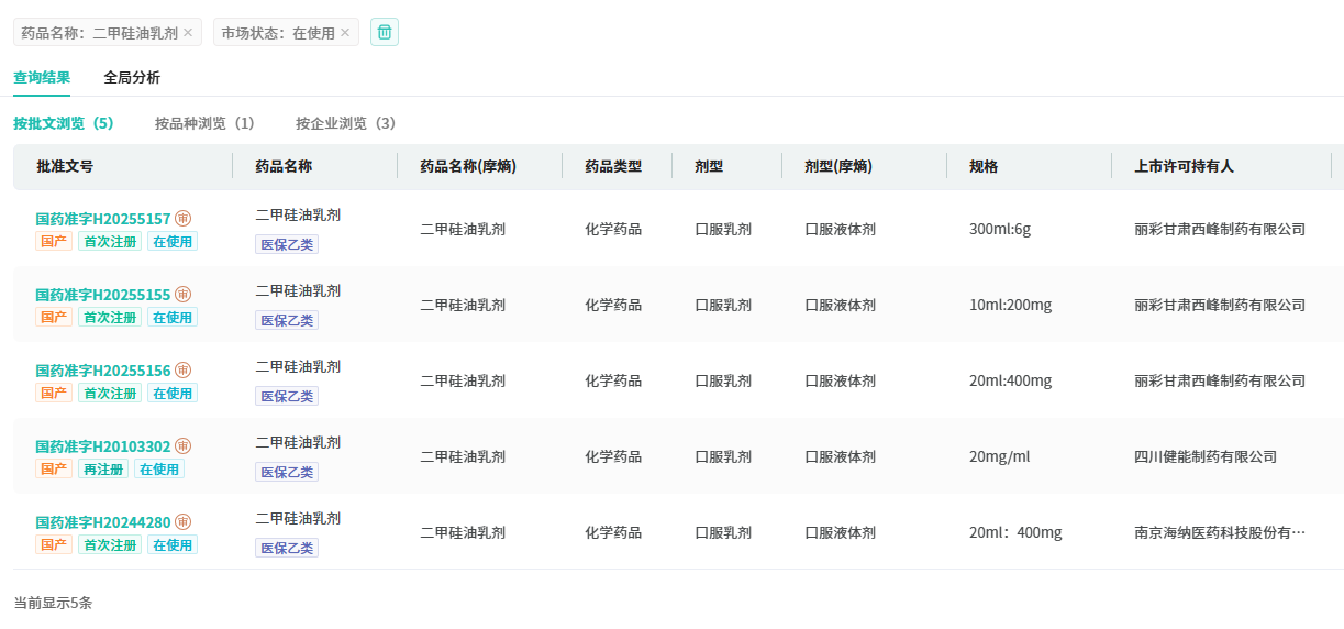
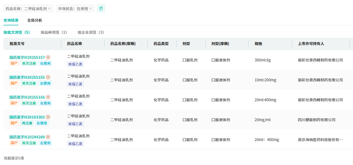
二甲硅油乳剂是胃镜、X光检查前的常规辅助用药,通过改变气泡表面张力消除胃肠道内泡沫,提高影像清晰度,已进入国家医保乙类目录。该品种的市场规模虽不算庞大,但足够稳定。2015年至2025年上半年,该品种在全终端医院销售总额超10亿元。











川公网安备51019002008863号
本网站未发布麻醉药品、精神药品、医疗用毒性药品、放射性药品、戒毒药品和医疗机构制剂的产品信息
收藏
登录后参与评论
暂无评论