
近日,据NMPA官网公示,湖南科伦制药提交的4类仿制化药奥拉帕利片获批上市并视同过评。据药融云数据统计,2023年5月齐鲁制药拿下该品种首仿,此次,科伦制药为国产第2家。

截图来源:NMPA官网
奥拉帕利片(Olaparib)由全球领先的制药公司阿斯利康研发,是一种口服多腺苷二磷酸核糖聚合酶(PARP)抑制剂。它被专门用于治疗上皮性卵巢癌、输卵管癌和原发性腹膜癌等严重疾病。这款创新药物在2017年首次获得美国批准,随后在2018年获得中国政府的进口批准。更重要的是,2019年,奥拉帕利片被正式纳入国家医保药品目录。
全球首款PARP抑制剂,2022年大卖26亿美元
奥拉帕利是全球首款获批上市的口服多腺苷二磷酸核糖聚合酶(PARP)抑制剂,通过抑制PARP酶活性和防止PARP与DNA解离,协同DNA损伤修复功能缺陷,杀死肿瘤细胞。原研由阿斯利康和默沙东-MSD联合开发,商品名为Lynparza。
2014年12月19日,奥拉帕利获FDA批准用于治疗卵巢癌。截至目前,奥拉帕利已相继斩获卵巢癌、乳腺癌、去势抵抗性前列腺癌、胰腺癌、输卵管癌、腹膜癌等多项适应症。自上市以来,奥拉帕利的销售额逐年增长。阿斯利康2022年财报显示,奥拉帕利全年销售额已达26.38亿美元。

截图来源:药融云全球药物研发数据库
在国内,奥拉帕利最早于2018年8月获NMPA批准上市,用于治疗卵巢恶性肿瘤,后陆续获批腹膜或腹膜后肿瘤、输卵管恶性肿瘤、前列腺癌等适应症。2019奥拉帕利通过谈判降价 61.8% 进入医保乙类目录,后经过多次新适应症获批+医保谈判,现医保使用范围已拓宽至3项:
- 携带胚系或体细胞BRCA突变的(gBRCAm或sBRCAm)晚期 上皮性卵巢癌、输卵管癌或原发性腹膜癌初治成人患者在一线 含铂化疗达到完全缓解或部分缓解后的维持治疗;
- 铂敏感的复发性上皮性卵巢癌、输卵管癌或原发性腹膜癌成人患者在含 铂化疗达到完全缓解或部分缓解后的维持治疗;
- 携带胚系或体细胞BRCA突变(gBRCAm或sBRCAm)且既往治疗(包括一种新型内分泌药物)失败的转移性去势抵抗性前列腺癌成人患者。

截图来源:药融云全国医院销售数据库
据药融云数据库,奥拉帕利片2022年院内销售额突破10亿元大关,同比增长18.5%,市场增长趋势明显。
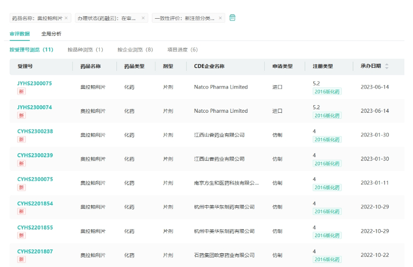
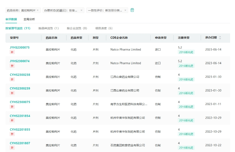
8家药企布局,科伦制药斩获国产第2家
据药融云数据统计,目前奥拉帕利片已有江苏利泰尔药业、南京方生和医药、石药集团欧意药业、江西山香药业、中美华东制药等8家企业递交了仿制上市申请,其中齐鲁制药率先获批,斩获首仿。此次科伦制药是第2家斩获该品种的企业。

截图来源:药融云中国药品审评数据库
除此次获批的品种,目前科伦制药还有哌柏西利胶囊、乳果糖口服溶液、异丙托溴铵雾化吸入溶液、左氧氟沙星氯化钠注射液等32款品种获批并过评。
<END>
要解锁更多企业药品研发信息吗?查询药融云数据库(vip.pharnexcloud.com/?zmt-mhwz)掌握药品各国上市情况、药品批文信息、销售情况与各维度分析、市场竞争格局、一致性评价情况、集采中标情况、药企申报审批信息、最新动态与前景等,以及帮助企业抉择可否投入时提供数据参考!注册立享15天免费试用!








川公网安备51019002008863号
本网站未发布麻醉药品、精神药品、医疗用毒性药品、放射性药品、戒毒药品和医疗机构制剂的产品信息
收藏
登录后参与评论
暂无评论