
近日,据CDE官网公示,石药集团中诺药业(石家庄)按化药注册分类3类申报的美沙拉秦缓释颗粒上市申请获受理。截至目前,石药集团有10款产品报产在审。

截图来源:CDE
美沙拉秦是轻至中度溃疡性结肠炎诱导治疗和维持缓解的一线药物,通过作用于肠道炎症黏膜,抑制引起炎症的前列腺素的合成和炎性介质白三烯的形成,从而对肠道壁炎症起显著的消炎作用,对发炎的肠壁结缔组织效果尤佳。据摩熵医药数据库显示,美沙拉秦缓释颗粒在2024年全终端销售额近4亿元,同比增长达9.21%。

近日,据CDE官网公示,石药集团中诺药业(石家庄)按化药注册分类3类申报的美沙拉秦缓释颗粒上市申请获受理。截至目前,石药集团有10款产品报产在审。

截图来源:CDE
美沙拉秦是轻至中度溃疡性结肠炎诱导治疗和维持缓解的一线药物,通过作用于肠道炎症黏膜,抑制引起炎症的前列腺素的合成和炎性介质白三烯的形成,从而对肠道壁炎症起显著的消炎作用,对发炎的肠壁结缔组织效果尤佳。据摩熵医药数据库显示,美沙拉秦缓释颗粒在2024年全终端销售额近4亿元,同比增长达9.21%。
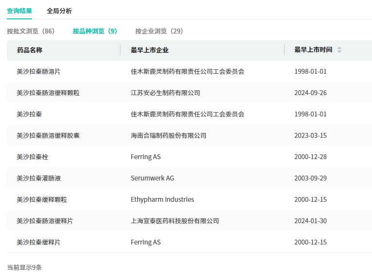
目前,国内市场上已有多种美沙拉秦制剂,包括肠溶片、缓释颗粒、缓释胶囊、缓释片、灌肠液及栓剂6款产品获批,企业竞争未算十分激烈。
截至目前,美沙拉秦缓释颗粒仅有上海爱的发制药获得首仿批准,而原研药尚未在国内上市,为国内独家剂型。

截图来源:摩熵医药中国药品批文数据库
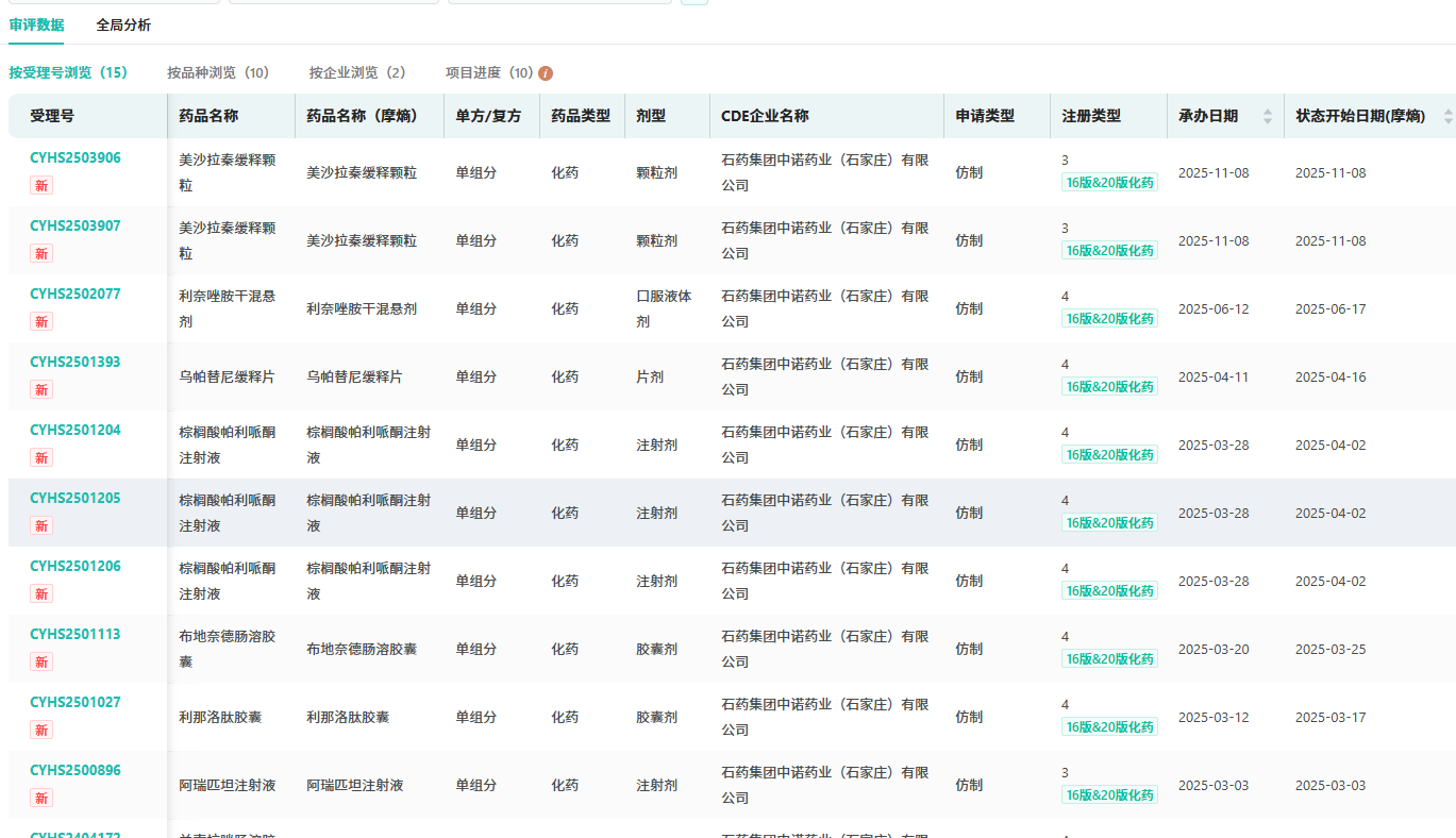
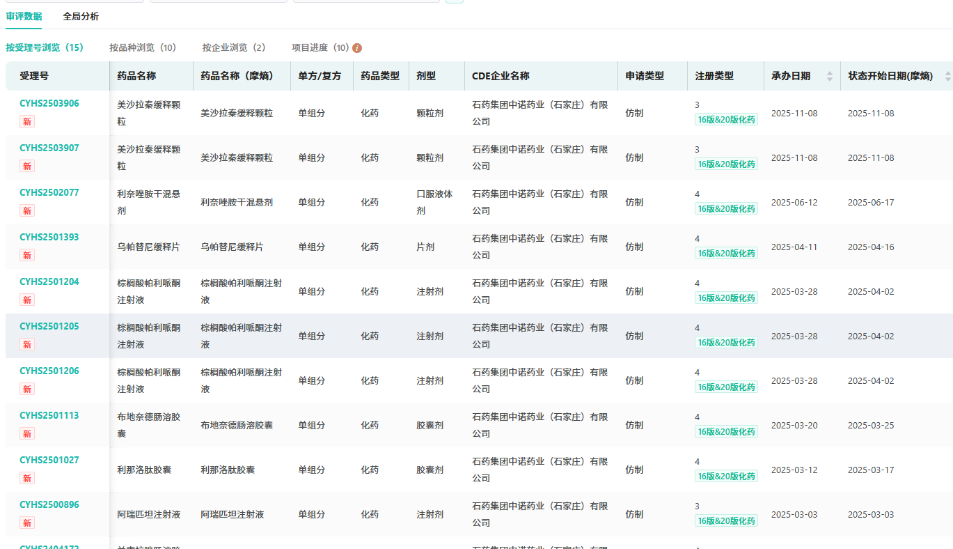
在仿制药布局上,济川药业今年1月率先提交美沙拉缓释颗粒3类仿制申请;11月8日,石药集团该品种3类注册申请获CDE受理。国产第2家或在这两家药企中产生。截至目前,石药集团有10款产品报产在审。

截图来源:摩熵医药中国药品审评数据库
今年以来,石药集团(含子公司)有24款品种获批并过评,其中美洛昔康注射液(Ⅲ)、艾普拉唑肠溶片2款为首家过评。
参考来源:
[1] CDE官网
[2] 摩熵医药(原药融云)数据库
扩展阅读:
3. 石药集团跻身全球TOP25 ,“明复乐”又一重磅临床研究新发现登刊!
4. 石药集团中诺药业的罗沙司他胶囊获批上市!成为国内首仿首仿+首家过评
5. 石药集团捷报频传!130款创新药在研,120+品种过评,26款品种备战第十批集采!
想要解锁更多药物研发信息吗?查询摩熵医药(原药融云)数据库(vip.pharnexcloud.com/?zmt-mhwz)掌握药物基本信息、市场竞争格局、销售情况与各维度分析、药企研发进展、临床试验情况、申报审批情况、各国上市情况、最新市场动态、市场规模与前景等,以及帮助企业抉择可否投入时提供数据参考!注册立享15天免费试用!

11039
2026年03月30日 08:00
收藏
登录后参与评论
暂无评论