近日,CDE官网显示,石药集团2款1类新药首次获得临床试验默示许可,均为抗肿瘤药。据药融云数据统计,2024年至今,石药集团已有5款1类新药申请并获批临床。

截图来源:CDE
石药集团重磅推出两款1类新药——SYS6023和SYH2039片,分别针对晚期实体瘤和晚期恶性肿瘤展开治疗。SYS6023是一款单克隆抗体药物偶联物,可与肿瘤表面的特异性受体结合,通过内吞作用进入细胞并释放毒素,达到杀伤肿瘤细胞的作用。本次获批临床的适应症为晚期实体瘤,临床前研究显示该产品对多种癌症均显示有较好的抗肿瘤作用,具备较高的临床开发价值。该产品已提交多项专利申请。
SYH2039则是一种高效的甲硫氨酸腺苷转移酶2A(MAT2A)抑制剂,能够针对性地杀灭非小细胞肺癌、胶质瘤、胃食管癌、胰腺癌和膀胱癌等多种MTAP缺失型肿瘤细胞,同时对正常细胞的影响微乎其微,有望成为同类药物中的佼佼者,展现出巨大的抗肿瘤药物潜力。据药融云数据统计,近年来,抗肿瘤药和免疫机能调节药在全国院内销售峰值超千亿元,2023年全国院内销售额超1千亿元。

截图来源:药融云全国医院销售数据库
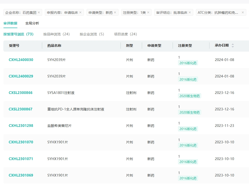
抗肿瘤药是石药集团重点布局的治疗领域之一。目前石药集团已有SYHX-1901片、SKLB-1028胶囊、SYHA-1815片、SYHX-1903片等24款1类抗肿瘤新药申请并获批临床。

截图来源:药融云中国药品审评数据库
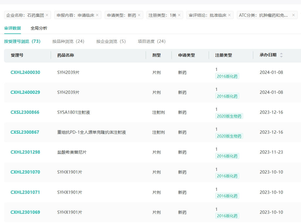
2024年至今,已有SYH-2039片、SYS-6023、SYSA-1801注射液、恩朗苏拜单抗注射液、盐酸希美替尼片5款1类新药申请并获批临床。其中小分子化药2款,大分子药物有3款。

截图来源:药融云中国药品审评数据库
石药集团作为国内药企创新转型的佼佼者,坚守创新与国际化理念,近年来研发投入持续增长。2022年研发投入约40亿元,2023年前三季度已达36.78亿元,同比增长25.9%,占成药业务收入的19%。
在仿制药抗肿瘤领域,石药集团还积极布局了哌柏西利片、奥拉帕利片、瑞戈非尼片3个品种的上市申请,均在审评审批中。
<END>
要解锁更多企业药品研发信息吗?查询药融云数据库(vip.pharnexcloud.com/?zmt-mhwz)掌握药品各国上市情况、药品批文信息、销售情况与各维度分析、市场竞争格局、一致性评价情况、集采中标情况、药企申报审批信息、最新动态与前景等,以及帮助企业抉择可否投入时提供数据参考!注册立享15天免费试用!








川公网安备51019002008863号
本网站未发布麻醉药品、精神药品、医疗用毒性药品、放射性药品、戒毒药品和医疗机构制剂的产品信息
收藏
登录后参与评论
暂无评论