
石药集团在研发创新领域持续引领,捷报频传。目前,石药集团有约130项创新药在研。公司(含子公司)累计有超120个品种过评(30个首家),26个品种备战第十批集采。今年以来,有19个品种过评,12款1类新药获批临床。近日,申报的4类仿制药注射用两性霉素B脂质体获批生产并视同过评,为国产第2家获批并首家视同过评。

截图来源:企业公告
超120个品种过评,26个品种备战第十批集采
目前公司(含子公司)累计有超120个品种过评(30个首家),26个品种备战第十批集采。今年以来,有19个品种过评,12款1类新药获批临床。9月19日,石药集团发布公告,其公司中申报的4类仿制药注射用两性霉素B脂质体获批生产并视同过评,为国产第2家获批并首家视同过评。据药融云数据库显示,注射用两性霉素B脂质体在2024年全国院内(Q1)市场的销售额超1600万元。

截图来源:药融云全国医院销售数据库
目前,注射用两性霉素B脂质体有2家国内药企获批。在仿制药布局方面,北京泰德制药、江西艾施特制药2家药企提交了4类仿制药注射用两性霉素B脂质体的新注册仿制申请,均在审评审批中。

截图来源:药融云中国药品审评数据库
第十批国采将至,石药集团已有26个过评品种满足集采门槛,符合申报资格企业数达5家及以上,包括帕拉米韦注射液、乙磺酸尼达尼布软胶囊、沙库巴曲缬沙坦钠片、磷酸西格列汀片、氢溴酸伏硫西汀片等近年新获批品种,可借助集采中标快速抢占市场。
130款创新药在研,12款1类新药获批临床
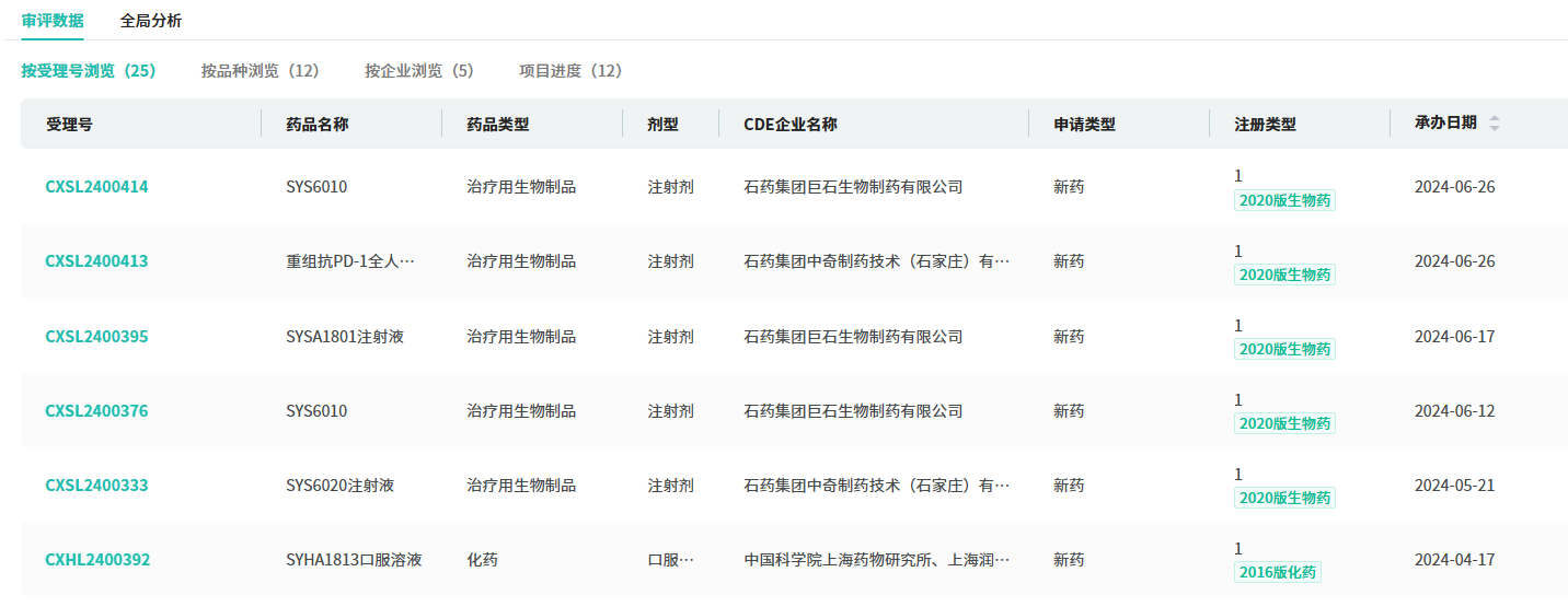
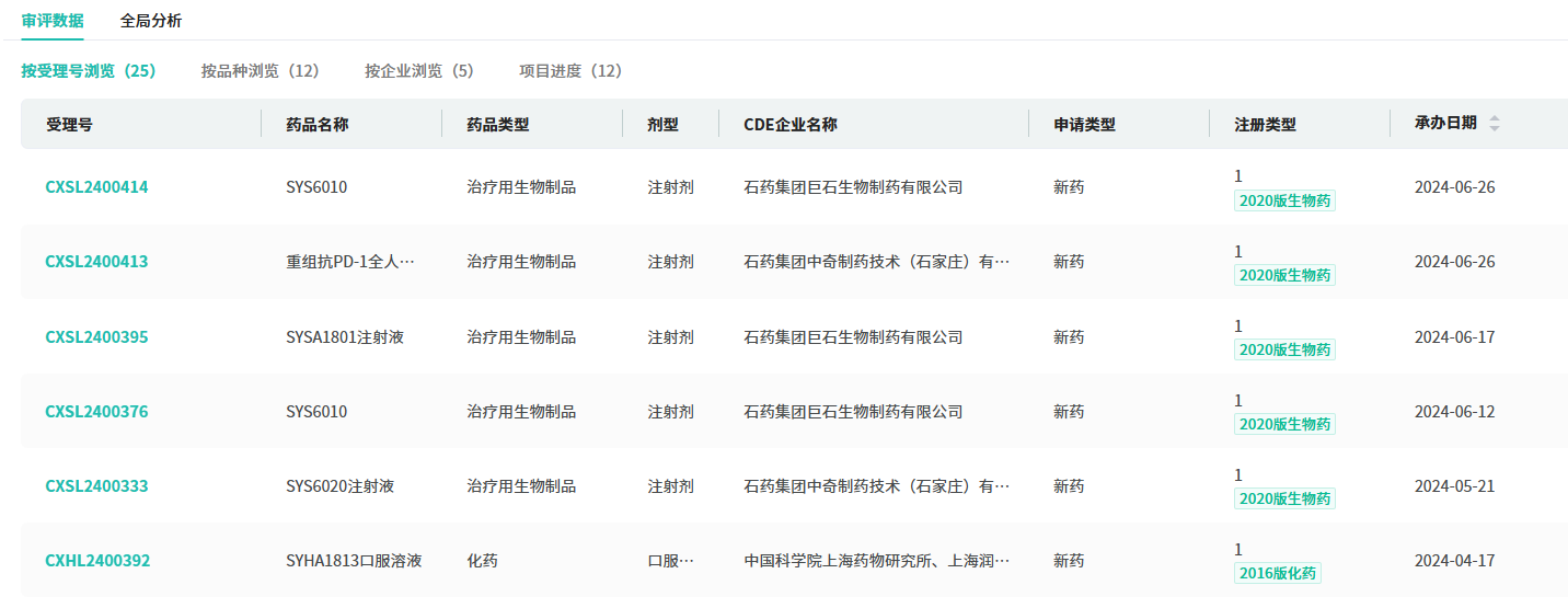
作为一家创新驱动型制药企业,石药集团坚信创新研发是未来发展的最重要引擎,并持续加大研发投入。研发投入方面,2024年石药集团上半年研发费用为25.42亿元,同比增加10.3%。2024年至今,石药集团(含子公司)有12款1类新药获批临床。其中5款1类新药SYS6020注射液、SYS6023、SYH2039片、JMT202注射液、呼吸道合胞病毒mRNA疫苗为首次递交IND申请,目前均已获得临床试验默示许可。

截图来源:药融云中国药品审评数据库
目前,石药集团在研创新药项目约130项,创新研发逐渐进入兑现期。其中大分子超40个、小分子超40个、新型制剂超30个,聚焦抗肿瘤、精神神经、心血管、免疫与呼吸、消化代谢和抗感染等重点治疗领域,并深度布局单抗、双抗、ADC等抗体领域。
<END>
想要解锁更多药物研发信息吗?查询药融云数据库(vip.pharnexcloud.com/?zmt-mhwz)掌握药物基本信息、市场竞争格局、销售情况与各维度分析、药企研发进展、临床试验情况、申报审批情况、各国上市情况、最新市场动态、市场规模与前景等,以及帮助企业抉择可否投入时提供数据参考!注册立享15天免费试用!








川公网安备51019002008863号
本网站未发布麻醉药品、精神药品、医疗用毒性药品、放射性药品、戒毒药品和医疗机构制剂的产品信息
收藏
登录后参与评论
暂无评论