
流感病毒,作为一种高度传染性的呼吸道疾病病原体,每年在全球范围内引发季节性爆发,并偶尔导致不可预测的大流行。相关数据显示,季节性流感每年感染全球5%-10%的成年人和20%-30%的儿童,造成300万至500万例重症病例,以及29万至65万人的死亡,死亡率在4.0-8.8/10万之间,对全球公共卫生构成重大威胁。
流感病毒根据其遗传特性和致病性,主要分为甲、乙、丙、丁四型。目前,感染人类的主要类型是甲型流感病毒中的A(H1N1)pdm09和A(H3N2)亚型,以及乙型流感病毒中的B(Victoria)和B(Yamagata)系。为应对流感病毒,基于其复制过程中的关键分子,科研人员目前已开发了多种抗病毒药物。
一、现有抗流感病毒药物
常用的抗流感药物种类多样,包括M2离子通道抑制剂(如金刚烷胺)、血凝素抑制剂(如阿比多尔)、神经氨酸酶抑制剂(NAI,如奥司他韦、帕拉米韦、扎拉米韦)和新型RNA聚合酶抑制剂(如玛巴洛沙韦)。
常用的抗流感病毒药物

然而,传统抗流感药物在实际应用中的耐药性问题逐渐凸显。M2离子通道抑制剂(金刚烷胺)因广泛耐药,已不再被推荐用于流感治疗。神经氨酸酶抑制剂(NAI)奥司他韦虽广泛使用,但对2009年的一些H1N1病毒株产生了耐药性,且对于乙型流感的疗效不如甲型流感。
加上流感病毒突变快、抗原变化难预测,疫苗生产滞后,无法及时有效保护人群,因此临床上迫切需要开发针对新靶点的抗流感病毒药物。近年来,针对流感病毒RNA聚合酶的抑制剂成为研究热点,玛巴洛沙韦作为该靶点的首创原研药积累了丰富的临床经验。
二、新型抗流感药物:玛巴洛沙韦
玛巴洛沙韦(Baloxavirmarboxil)作为首款帽依赖型核酸内切酶(CEN)抑制剂,通过抑制病毒RNA合成的关键步骤PA亚基,实现“源头阻截”。其创新性体现在:
1. 单剂量口服:全程仅需服用1次,显著提升患者依从性;
2. 快速起效:24小时内降低病毒载量,缩短症状持续时间1-2天;
3. 长半衰期:半衰期达79小时,远优于奥司他韦的6-10小时;
4. 广谱抗病毒:对甲/乙型流感及禽流感(如H5N1、H7N9)均有效。
临床研究显示,玛巴洛沙韦可显著降低单纯性流感患者的病毒载量,在重症病例中表现出色。例如,一例合并基础疾病的老年患者经其治疗后病情迅速改善;另一儿童病例在奥司他韦疗效不佳时换用玛巴洛沙韦,8小时内退热。此外,其呕吐发生率仅6.1%,安全性优于奥司他韦。
玛巴洛沙韦是新一代RNA聚合酶PA亚基抑制剂,原研厂家为日本盐野义。2016年罗氏制药与盐野义达成合作,共同负责玛巴洛沙韦的研发和商业推广。2018年2月,玛巴洛沙韦在日本获批上市,商品名为速福达(Xofluza)。2018年10月,在美国获准上市,成为近20年来美国FDA批准的第一款具有创新作用机制的抗流感新药。
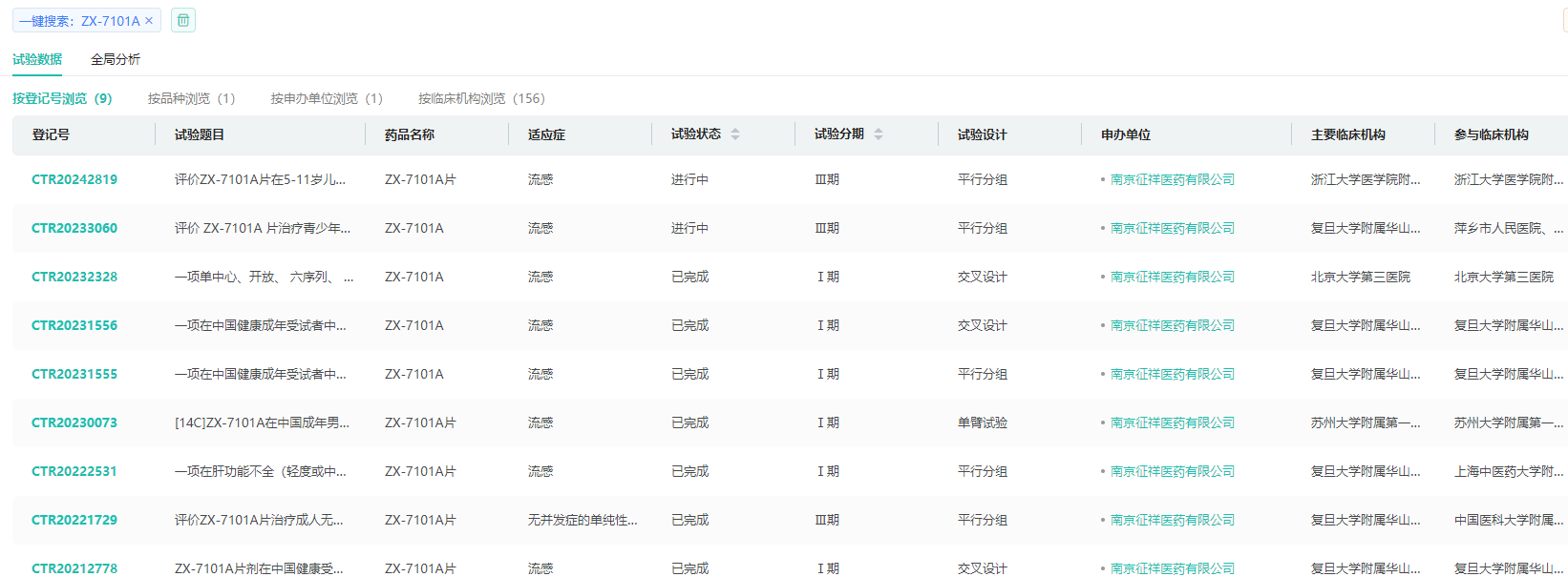
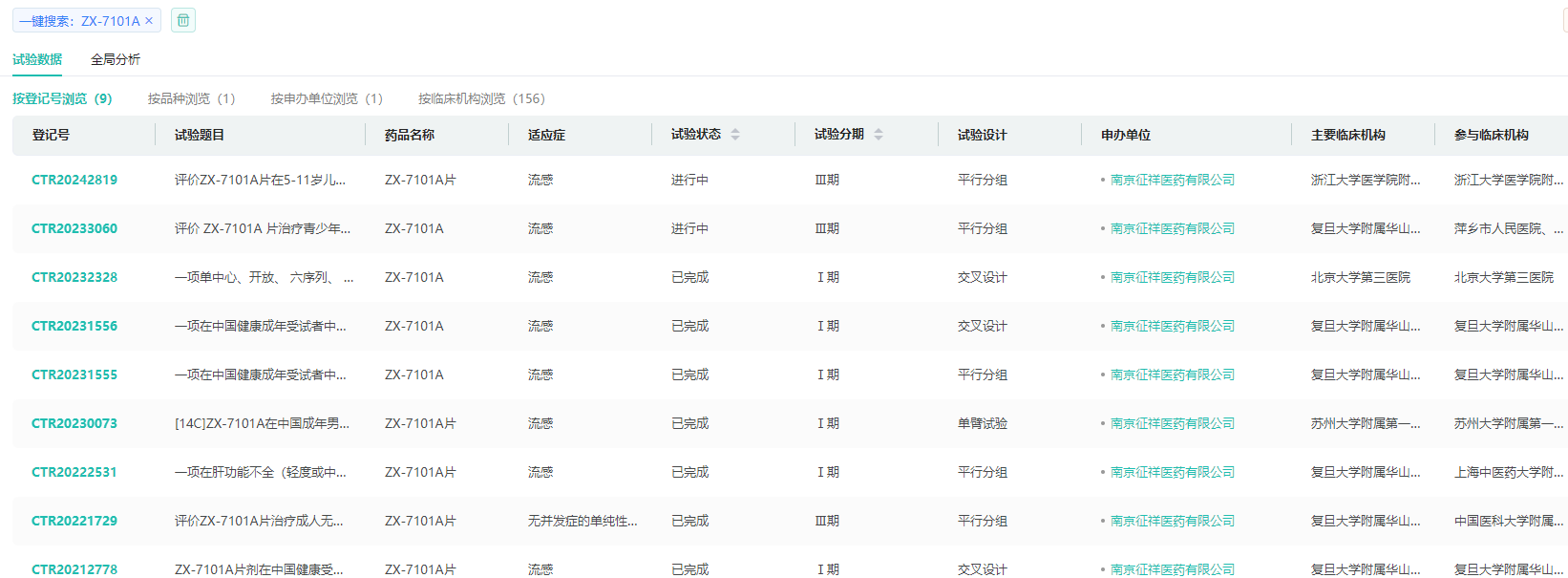
玛巴洛沙韦全球研发进度查询

图片来源:摩熵医药全球药物研发数据库
2021年4月,玛巴洛沙韦原研药在中国获批上市,剂型为片剂,商品名同样为“速福达”;同年12月成功进入新版医保目录,为医保乙类药物。2023年3月,玛巴洛沙韦片获NMPA批准扩大适应症,用于治疗既往健康的成人和5岁及以上儿童单纯性甲型和乙型流感患者,或存在流感相关并发症高风险的成人和12岁及以上儿童流感患者。
同时,罗氏制药的玛巴洛沙韦干混悬剂于2024年1月在国内获批,适用于儿童单纯性甲型和乙型流感患者,包括既往健康的患者以及存在流感并发症高风险的患者。










川公网安备51019002008863号
本网站未发布麻醉药品、精神药品、医疗用毒性药品、放射性药品、戒毒药品和医疗机构制剂的产品信息
收藏
登录后参与评论
暂无评论