
近日,据NMPA官网公示,瑞阳制药提交的注射用头孢他啶通过仿制药一致性评价。据药融云数据统计,瑞阳制药在仿制药注射剂领域,目前已有23个品种过评。

截图来源:NMPA
注射用头孢他啶为抗生素类药。主要用于敏感革兰阴性杆菌所致败血症、下呼吸系感染、腹腔胆系感染、复杂性尿路感染和严重皮肤软组织感染等。对于由多种耐药革兰氏阴性杆菌引起的免疫缺陷者感染、医院内感染以及革兰阴性杆菌或绿脓杆菌所致中枢神经系统感染尤为适用。据药融云数据统计,注射用头孢他啶在2023年全国院内销售额近15亿元。

截图来源:药融云全国医院销售数据库
据药融云数据统计,瑞阳制药在仿制药注射剂领域,目前已有23个品种过评,其中有注射用哌拉西林钠、盐酸甲哌卡因注射液等5个品种为首家过评。

截图来源:药融云过评药品汇总数据库
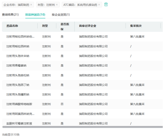
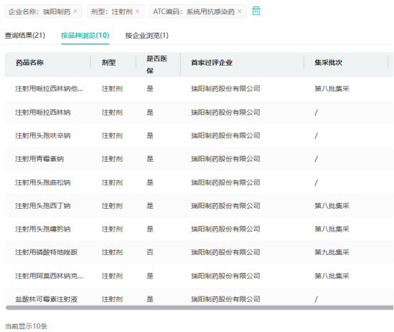
在抗感染药方面,其产品线尤为丰富,包括注射用哌拉西林钠他唑巴坦钠、注射用哌拉西林钠、注射用头孢呋辛钠等在内的10个注射剂品种过评,均为系统用抗感染药,为临床提供了多样的治疗选择。

截图来源:药融云过评药品汇总数据库
瑞阳制药在仿制药布局方面,目前已提交了吸入用盐酸氨溴索溶液、注射用尼可地尔、盐酸达泊西汀片、富马酸卢帕他定片等25个品种的仿制申请,均在审评审批中。其中注射剂有注射用尼可地尔、注射用头孢他啶阿维巴坦钠等7个品种。系统用抗感染领域,还布局了利匹韦林片、注射用头孢他啶阿维巴坦钠、阿奇霉素干混悬剂3个品种。
<END>
要解锁更多企业药品研发信息吗?查询药融云数据库(vip.pharnexcloud.com/?zmt-mhwz)掌握药品各国上市情况、药品批文信息、销售情况与各维度分析、市场竞争格局、一致性评价情况、集采中标情况、药企申报审批信息、最新动态与前景等,以及帮助企业抉择可否投入时提供数据参考!注册立享15天免费试用!








川公网安备51019002008863号
本网站未发布麻醉药品、精神药品、医疗用毒性药品、放射性药品、戒毒药品和医疗机构制剂的产品信息
收藏
登录后参与评论
暂无评论