
近期,据NMPA官网公示,海南倍特药业的重酒石酸间羟胺注射液仿制药获批上市并视同过评。据药融云数据显示,该品种在全国院内市场销售额超13亿元。(相关阅读:倍特药业的造影剂:钆特酸葡胺注射液获批上市并通过一致性评价!)

截图来源:NMPA官网
重酒石酸间羟胺注射液是一款经典升压药,该药是美国Fresenius Kabi公司研发的一种α肾上腺素受体激动药,主要是作用于α受体,商品名为“Aramine”,最早于1972年9月22日被美国FDA批准上市。主要用于治疗各种休克及手术时低血压。作为急救药品,重酒石酸间羟胺注射液曾多次被纳入短缺药名单。据药融云数据显示,该品种在全国院内市场销售额超13亿元,同比增长达33.14%;2023年(截止Q3)其销售额已超过11亿元,市场表现强劲。

截图来源:药融云全国医院销售数据库
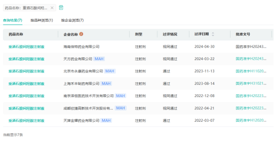
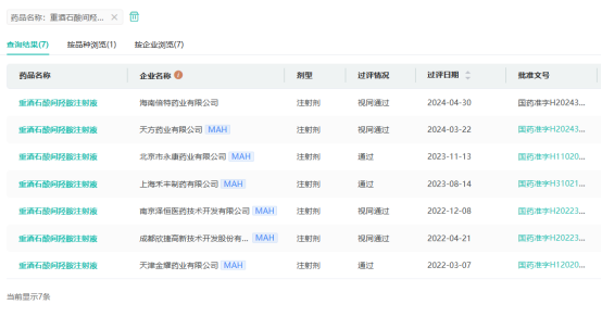
此前,国内已有14家企业获得了重酒石酸间羟胺注射液的生产批文,其中天津金耀药业、成都欣捷高新、南京泽恒医药、上海禾丰制药、北京永康药业、天方药业6家企业已过评,此次海南倍特药业是第7家过评的药企。

截图来源:药融云过评药品汇总数据库
在仿制药布局方面,今年(截止4月30日)海南倍特提交了盐酸去氧肾上腺素注射液、重酒石酸去甲肾上腺素注射液、左西孟旦注射液等9个品种的仿制申请,均在审评审批中。

截图来源:药融云中国药品审评数据库
2024年至今,海南倍特药业已有重酒石酸间羟胺注射液、钆特酸葡胺注射液、钆贝葡胺注射液3个品种过评,其中钆贝葡胺注射液是首家过评品种。
<END>
要解锁更多企业药品研发信息吗?查询药融云数据库(vip.pharnexcloud.com/?zmt-mhwz)掌握药品各国上市情况、药品批文信息、销售情况与各维度分析、市场竞争格局、一致性评价情况、集采中标情况、药企申报审批信息、最新动态与前景等,以及帮助企业抉择可否投入时提供数据参考!注册立享15天免费试用!








川公网安备51019002008863号
本网站未发布麻醉药品、精神药品、医疗用毒性药品、放射性药品、戒毒药品和医疗机构制剂的产品信息
收藏
登录后参与评论
暂无评论