
近日,据NMPA官网公示,海南倍特药业的4类仿制药钆特酸葡胺注射液获批上市并视同过评,成为国产第2家。据药融云数据统计,倍特药业目前已有5款造影剂获批。

截图来源:NMPA
钆特酸葡胺注射液是一种用于磁共振成像(MRI)的静脉注射造影剂,用于成人和儿童(包括新生儿)大脑(颅内)、脊柱和相关组织的核磁共振成像,以检查血脑屏障损伤和血管异常。据药融云数据统计,钆特酸葡胺注射液在2022年全国院内市场销售额超4亿元,同比增长达7.75%。

截图来源:药融云全国医院销售数据库
目前,钆特酸葡胺注射液有4家药企获批,其中通用电气、江苏恒瑞医药、海南倍特药业3家药企过评。
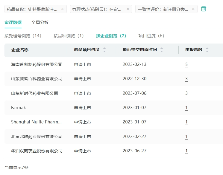
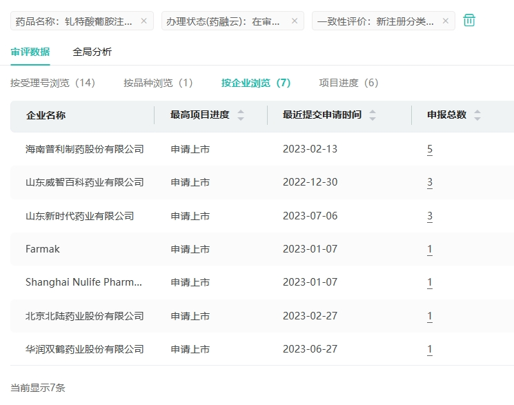
在仿制药布局方面,钆特酸葡胺注射液有海南普利制药、山东威智百科药业、山东新时代药业等7家药企提交了仿制申请,均在审评审批中。

截图来源:药融云中国药品审评数据库
倍特药业在造影剂领域的产品线不断壮大,目前已有5个品种获批,包括钆特酸葡胺注射液、钆贝葡胺注射液、碘克沙醇注射液、碘帕醇注射液和碘普罗胺注射液。其中钆特酸葡胺注射液、碘克沙醇注射液、碘帕醇注射液和碘普罗胺注射液4个品种均已登上2023年(数据截止Q3)全国医院内销售造影剂的TOP10榜单。

截图来源:药融云全国医院销售数据库-全局分析
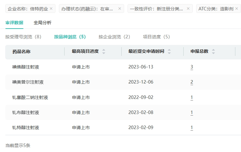
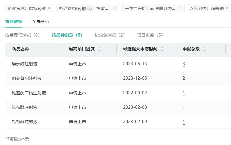
此外,倍特药业还提交了碘佛醇注射液、碘美普尔注射液、钆塞酸二钠注射液、钆布醇注射液、钆特醇注射液5个品种的仿制上市申请,均在审评审批中。

截图来源:药融云中国药品审评数据库
2024年至今,倍特药业已有达格列净片、吸入用乙酰半胱氨酸溶液、呋塞米口服溶液、钆特酸葡胺注射液等6个品种过评。
<END>
要解锁更多企业药品研发信息吗?查询药融云数据库(vip.pharnexcloud.com/?zmt-mhwz)掌握药品各国上市情况、药品批文信息、销售情况与各维度分析、市场竞争格局、一致性评价情况、集采中标情况、药企申报审批信息、最新动态与前景等,以及帮助企业抉择可否投入时提供数据参考!注册立享15天免费试用!








川公网安备51019002008863号
本网站未发布麻醉药品、精神药品、医疗用毒性药品、放射性药品、戒毒药品和医疗机构制剂的产品信息
收藏
登录后参与评论
暂无评论