众所周知,了解制药企业药品品种的现状及未来前景,有利于我们在评估市场竞争力、指导研发投入、适应政策变化和制定长远战略规划上帮助企业优化产品线、把握市场动态,并确保持续的创新能力和市场适应性。例如药企的市场动态、药品研发布局、子母公司企业关系、药品招投标情况、药品销售情况及交易事件等信息都值得我们去了解。
那么该如何了解某一个制药企业的上市药品及在研品种呢?
方法一、通过国家药品审评中心(CDE)

在CDE中提供了药物临床试验登记与信息公示平台、药品注册申请受理品种数据库与上市药品信息数据库,这些数据库都具有'申请人/企业名称'检索项,通过检索目标'申请人/企业名称'可了解目标药企的上市药品及在研品种各阶段信息。但如果我们还需要进一步了解药品研发布局、子母公司企业关系、药品招投标情况、药品销售情况及交易事件等信息,则需要通过下面第二种方法去了解。
方法二、通过摩熵医药企业公司分析数据库查询(更多用于医药企业分析调研)
摩熵医药-企业格局分析数据库收录了国内医药企业公司35000+家,将企业信息与药物研发深度关联,展示了各企业的全球、国内药物研发信息,国内药品中标信息,包含企业基础信息、国内产品概况、全球新药研发管线、靶点及数据明细。可直接查询特定企业、国内特定地区企业情况,统计信息涵盖治疗领域、靶点、上市药品数等;可查看企业基本信息、行业细分、产品概况、子母公司关系;可全面了解医药企业的格局和状况,为决策者提供数据支持和分析依据。
查询路径:摩熵医药官网-->摩熵医药数据库-->竞争情报-->企业格局数据库
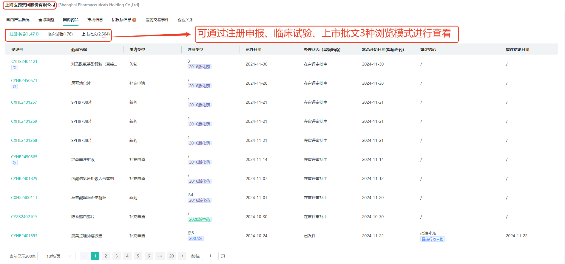
在摩熵医药企业格局数据库查询界面中,可根据企业名称(支持子公司查询)、社会信用代码、所在地区、企业类型(有限责任公司、股份有限公司、国企、外商投资企业......)、是否国内上市企业等字段检索与筛选目标药企。在结果展示区域中,详细展示了药企名称及所属集团、ATC分类的上市药品占比、靶点研发占比、主营剂型占比、国内在研药品数量、国内上市药品数量及官网信息。如下图。

通过点击上图中的绿色字体‘上海医药集团股份有限公司’,可以看到上海医药集团股份有限公司基本信息、国内药品概况、全球新药研发、国内药品上市、市场药品销售、招标投标、医药交易事件及企业关系等信息,同时关联了全球药物研发数据库、中国临床试验数据库、中国药品审评数据库与中国药品批文数据库等信息,如下图。

上海医药集团股份有限公司新药研发分析

上海医药集团股份有限公司国内药品研发分析

上海医药集团股份有限公司药品销售数据分析

上海医药集团股份有限公司招投标数据分析

统计企业的药品招投标情况,统计范围不包含未中标信息(即:过滤“价格属性”=参考价、未中标、医保支付价)
上海医药集团股份有限公司交易事件及企业关系分析

上海医药集团股份有限公司企业关系分析

上面通过摩熵医药-企业格局数据库多维度分析展现了上海医药集团股份有限公司的全局信息,包含基础信息、国内产品概况、全球新药研发进度及管线、靶点布局、靶点及数据明细、药品销售额、销售量、销售排名、企业的药品中标、企业子母公司关系等信息。这些信息的快速获取便于我们综合分析医药企业的基本信息、研发能力和产品布局等情况。
其实更多详细的关于药企信息也可以可通过企业上市年报查看,不仅仅是上述实例中所展示的几种方式,而在现实分析行业中,不一定要需要多么高深水准,但必须手握利器,能够迅速地搜集全面信息,高效地整合归纳,并做出准确的分析和判断。







川公网安备51019002008863号
本网站未发布麻醉药品、精神药品、医疗用毒性药品、放射性药品、戒毒药品和医疗机构制剂的产品信息
收藏
登录后参与评论
暂无评论