回看2024年,中国医疗健康行业在经历了监管趋严、集采持续深入、IPO通道实质性收紧等多重因素的影响后,整体增长承受了一定的压力,二级市场估值亦呈现出波动徘徊的态势。
摩熵咨询最新发布的《2024年中国医疗健康投融资全景洞察报告》,全景式展现了2024年医疗健康领域在一级市场与二级市场的融资变化趋势,还深入剖析了行业估值变化、IPO动态及市场交易情况等关键信息,帮助投资者和政策制定者洞悉市场变化,把握行业发展脉搏。本文基于该报告部分内容,聚焦2024年中国医疗健康领域,通过对不同细分行业的深入剖析以及相关企业投融资情况的呈现,为读者提供全面而细致的市场信息。

一、细胞治疗行业简析&上海信级医药
1. 细胞治疗定义及特点
细胞治疗是一种通过使用患者自身的细胞或体外培养的细胞来修复或替代受损组织和器官的治疗方法。具体来说,细胞治疗是指将正常或生物工程改造过的人体细胞移植或输入患者体内,使新输入的细胞能够替代原有受损细胞,或者发挥更强的免疫杀伤功能,从而达到治疗疾病的目的。
特点:
(1)治疗效果相对长久,植入活细胞,不会被身体代谢系统分解。
(2)副作用小,具有较低免疫原性,不会产生严重的排异反应。
(3)个性化治疗,量身定制治疗方案,确保治疗方案最适合。
2. 细胞治疗分类
(1)干细胞治疗:利用干细胞的分化潜能,将健康的干细胞移植到患者体内,修复病变细胞或再建正常的细胞或组织。常见的干细胞包括间充质干细胞、造血干细胞等。
(2)免疫细胞治疗:通过对免疫细胞进行体外处理和激活,增强其免疫功能,用于治疗癌症、感染性疾病等。常见的免疫细胞包括T细胞、NK细胞、DC细胞等。
(3)其他体细胞治疗:使用已经分化的体细胞,如肝细胞、胰岛细胞等,进行治疗。例如,胰岛细胞移植用于治疗糖尿病。
3. 上海信级医药
2024年4月25日,上海信级医药研发(集团)有限公司获美国高盛资本3500万美元Pre-A轮融资。该公司成立于2023年,作为上海生物研究院直属单位,依托研究院的领先地位,建立了八大产业集群,业务覆盖生物制药、细胞治疗等多个领域。目前已与全国110家三甲级医院合作,共同开展临床试验与细胞药物研究。
上海信级医药融资信息查询

图片来源:摩熵医药-医药投融资数据库
据摩熵医药数据库显示,上海信级医药研发产品丰富,涵盖UC-MSCs(脐带间充质干细胞)、HP-MSCs(胎盘源性间充质)、IPSCs(诱导多能干细胞)等多种细胞类型。
二、核药行业简析&上海辐联医药
1. 核药定义及特点
核药(又称“放射性药物”)是含放射性核素,用于医学诊断和治疗的一类特殊药物。它不仅具有药物的特点,还具有放射性,可广泛用于肿瘤的诊疗、心脏疾病的诊断、神经退行性疾病的早期发现和炎症组织的诊断等。
核药特点:具有放射性,能发射出粒子/射线;会自发衰变、不能长期储存;化学量比普通药物小很多,以放射性活度为计量单位。
2. 核药分类
(1)诊断类核药:利用药物放射性获取体内靶器官或病变组织的影像或功能参数,需搭配PET/SPECT显像设备实现诊断功能。
(2)治疗类药物:利用放射性核素衰变发射的α、β、γ射线,对体内病灶进行针对性照射,产生电离辐射效应破坏病变组织。
(3)诊疗一体类:利用共同的特定分子靶点,将诊断用的放射性核素与治疗用的放射性核素相结合或使用相似的配体,将诊断和治疗功能结合在一起。可用于多种疾病的诊断与治疗,如分化型甲状腺癌、嗜铬细胞瘤、骨转移瘤、神经内分泌肿瘤和前列腺癌等。
3. 上海辐联医药
2024年1月4日,上海辐联医药科技有限公司完成6330万美元融资,包括4730万美元B轮股权融资与1600万美元授信额度。本轮融资将助力公司推进放射性药物管线开发与生产能力建设,并优化专有发现平台UniRDC™。
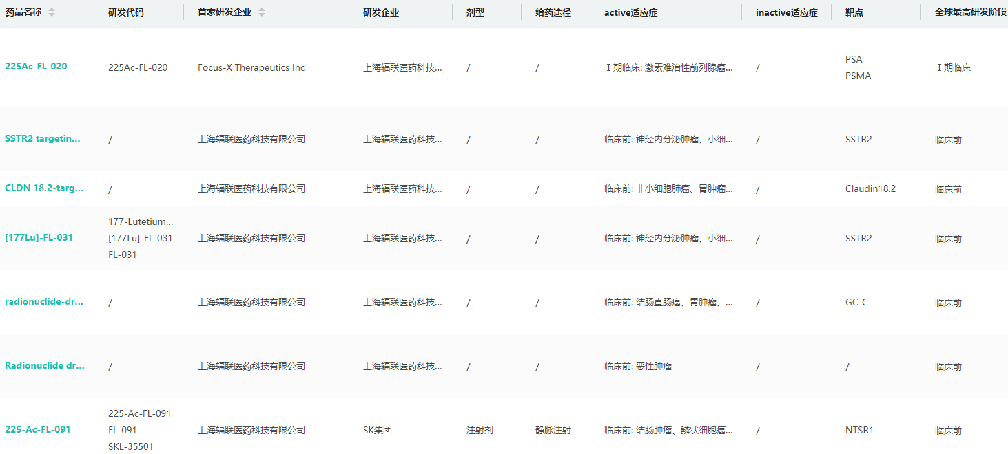
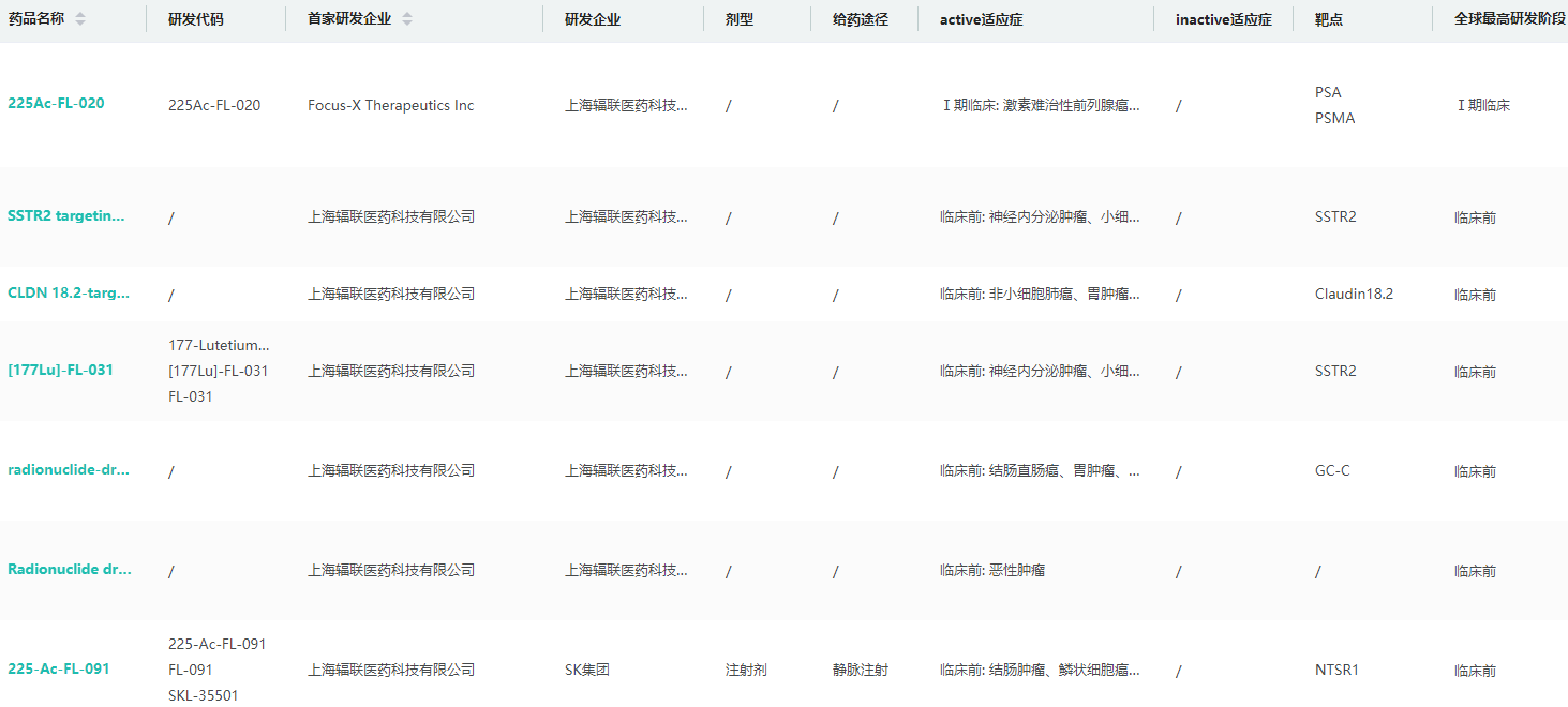
该公司成立于2021年8月,是国际化放射性药物治疗公司,在比利时、德国和中国设有办事处。公司以全球患者为中心,致力于构建全产业链核药公司,解决放射性药物面临的挑战,推动疗法发展。其研发管线涵盖PSMA、SSTR2、NTSR-1及多个癌症早期项目。
上海辐联医药核心管线研发进度查询

图片来源:摩熵医药全球药物研发数据库
三、宠物医药行业简析&艾益动物药品
1. 宠物医药定义及发展趋势
宠物医药专用于宠物疾病的预防、诊断与治疗,国内以犬猫疾病治疗药物居多。随着养宠人群增加,宠物角色和养宠理念转变,宠物主消费观念向品质化升级,宠物相关商品和服务需求多样,国内宠物消费市场规模快速增长。目前,国产宠物药多集中在常用药领域,产品矩阵有待完善,但大型动保公司加大研发,产品品类加速拓展。
2. 宠物医药主要产品分类
疫苗:(1)犬支气管败血波氏杆菌疫苗:用于预防犬感染支气管败血波氏杆菌引起的咳嗽、气喘等呼吸道疾病,以及重症和死亡。(2)猫三联疫苗:用于预防猫的多种传染病,如猫瘟、猫鼻支等。
驱虫药:(1)片剂(体内驱虫):如贝卫多氟雷拉纳咀嚼片、拜宠清复方非班太尔片、双羟萘酸噻嘧啶吡喹酮片、海正动保米尔贝肟吡喹酮片。(2)滴剂(体外驱虫):如大宠爱赛拉菌素滴剂、爱沃克吡虫啉莫昔克丁滴剂、旺滴静-吡虫啉滴剂。
皮肤类药品:用于治疗脂溢性皮炎、癣菌病、过敏性皮炎、皮肤感染、瘙痒症、皮肤消毒以及特应性皮炎等,据摩熵医药数据库统计,2024年有15款皮肤类药品获批。
其他:抗感染剂和抗生素、止痛药和消炎药、镇静剂、消化系统用药等。
3. 艾益动物药品
2024年2月,苏州艾益动物药品有限公司完成数亿元人民币C轮融资。本轮由元希海河基金、松青申汇嘉瑞基金联合领投,多家资本跟投,老股东苏高新融晟追加投资。
艾益动物药品成立于2018年8月,作为领先的宠物疫苗企业,致力于研发、注册和生产高品质宠物疫苗,解决国内宠物疫苗市场品种匮乏与菌毒株匹配问题。其产品管线涵盖国内稀缺的宠物疫苗品种、全球创新疫苗以及进口疫苗的国产替代与升级产品,核心研发管线包括犬支气管败血波氏杆菌疫苗、性征控制疫苗。
艾益动物药品核心研发管线进度

图片来源:摩熵咨询《2024年中国医疗健康投融资全景洞察报告》
四、手术机器人行业简析&瑞龙外科
1. 手术机器人定义及特点
手术机器人是一种集临床医学、生物力学、机械学、计算机科学、微电子学等诸多学科为一体的新型医疗器械。能够从视觉、听觉和触觉上为医生手术操作提供支持,从而实现对手术器械的精准控制。主要功能包括术中定位、切断、穿刺、止血、缝合等操作,现已应用于普腹外科、泌尿外科、心血管外科、胸心外科、妇科、骨科、神经外科等多个领域。
手术机器人特点:(1)高精度操作,可以完成毫米级的手术操作。(2)过滤震颤,使手术操作更稳定。(3)操作灵活,可进行540°旋转,突破了双手的动作限。(4)减少创伤和并发症。
2. 手术机器人分类
按功能划分:(1)手术导航系统(即定位型手术机器人),用于制定/配合手术计划方案、辅助外科手术导航,带有机械臂的可在外科微创手术中提供定位支持/夹持,不在人体上进行操作。(2)手术控制系统(即主从式操作手术机器人),能遵从医生的遥控指令来精确控制手术操作。
按手术类型/科室划分:腔镜手术机器人、骨科手术机器人、神外手术机器人、血管介入手术机器人、经自然腔道手术机器人、经皮穿刺手术机器人、口腔种植手术机器人、植发手术机器人、眼科手术机器人。
3. 瑞龙外科
2024年6月,瑞龙诺赋(上海)医疗科技有限公司(简称:瑞龙外科)完成超3亿人民币B轮融资,由无锡国联和渶策资本领投,KingStarMedLP和老股东LongRiver江远投资跟投。本轮融资将加速模块化海山一®腹腔镜手术机器人商业化进程,推动公司国际化战略。
该公司于2019年在上海创立,响应临床需求,推动手术机器人多专科规模化应用。海山一®是国内首创的模块化腔镜手术机器人,拥有完整自主知识产权。其三年完成海山一®从概念设计到多中心多专科临床试验。核心研发管线有处于注册临床试验阶段的海山一®腹腔镜手术机器人(三类),上市产品包括胸腹腔内窥镜手术系统配套用穿刺器(二类)、胸腹腔内窥镜手术系统配套用无菌保护套(二类)。
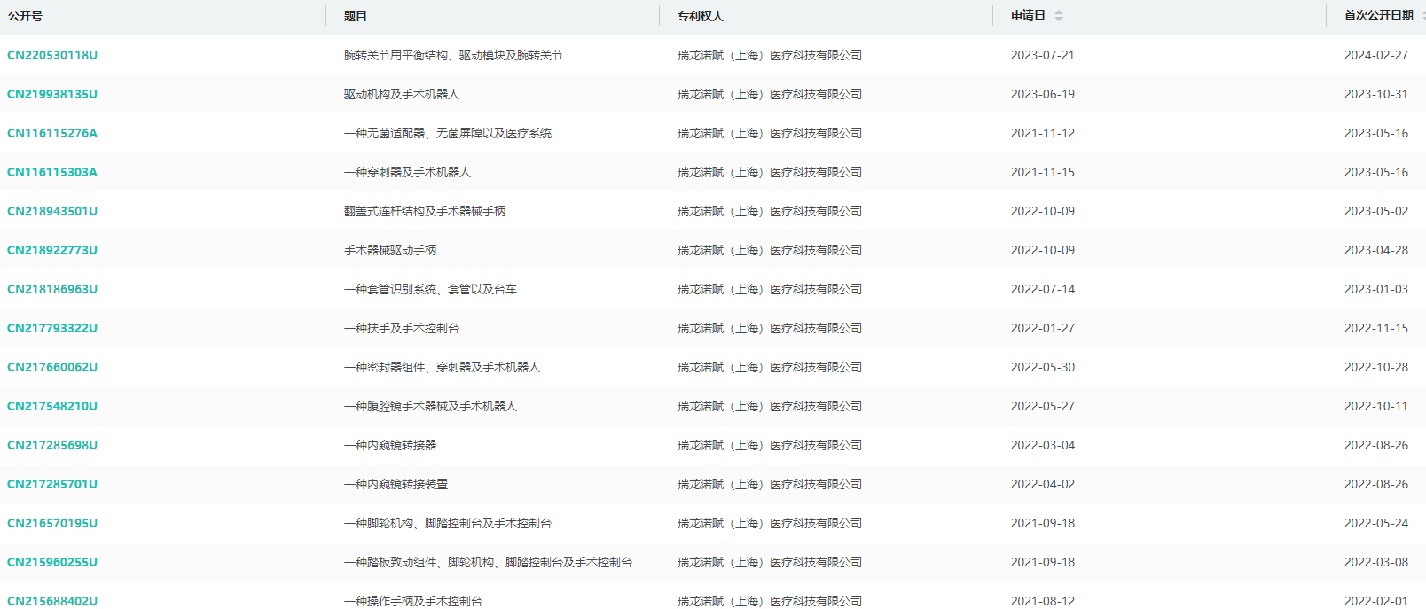
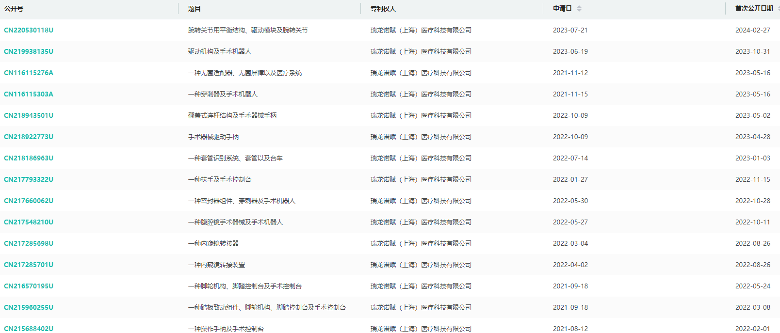
瑞龙外科全球医药专利查询

图片来源:摩熵医药-全球医药专利数据库
五、脑机接口行业简析&神络医疗
1. 脑机接口定义
脑机接口(BrainComputerInterfaces,BCI)是在生物脑与智能机器之间建立通信的技术,既可以捕捉大脑电信号,并将这些信号转换为控制命令,实现对外部设备的控制;也可以将信息编码输入大脑,实现替代、修复、增强或改善脑功能的作用,在医疗领域、教育领域、游戏能力均有应用。
2. 脑机接口分类、特点及应用
(1)侵入式脑机接口:通过手术等方式将将电极或芯片植入大脑皮层,直接采集神经元活动,信号清晰但创伤性风险较大、经济成本较高。主要用于治疗严重的神经系统疾病,如癫痫、帕金森病、脊髓损伤等。
(2)半侵入式脑机接口:同样是通过手术方式植入电极,但电极处于颅腔内,未达到大脑皮层,不直接接触神经细胞,在信号清晰度和创伤性之间找到平衡,安全系数较高。主要用于脊髓损伤的康复治疗。
(3)非侵入式脑机接口:通过在头皮上放置电极来采集脑电图(EEG)信号,无需手术,信号较弱且不稳,但避免了不良反应。主要用于睡眠障碍、抑郁症等轻度神经系统疾病,中风、偏瘫患者康复训练,以及娱乐和游戏领域。
3. 神络医疗
2024年4月,杭州神络医疗科技有限公司获数亿元B+轮融资,由奥博资本领投,老股东博远资本跟投。本轮融资用于新产品研发、临床研究、注册申请、技术迭代及商业化拓展。
该公司成立于2018年,建有GMP厂房和生化实验室。致力于植入式神经刺激和脑机接口领域医疗器械研发生产,以提供普惠神经调控治疗产品为目标。自成立已申请专利及软著100余件,拥有短期植入、可充电IPG、无线携能三大技术平台,掌握电极、芯片等关键核心技术。其核心研发管线包括植入式脊髓神经刺激器(SCS)、短期外周神经刺激器(PNS)、胫神经刺激(TNS)。
神络医疗核心研发管线进度

结语:
2024年中国医疗健康领域的投融资活动呈现出多元化和专业化的特点。细胞治疗、核药、宠物医药、手术机器人和脑机接口等领域均涌现出具有潜力的代表性企业,获得了重要的融资支持。未来,随着技术的不断进步和市场需求的增长,这些领域有望实现更广泛的商业化应用,推动整个行业的持续发展。
拓展阅读:
1. 2024年中国医疗健康领域一级市场融资:市场趋势、领域分布与投资机会
2. 2024年中国医疗健康领域二级市场融资分析:IPO缩减、募集趋势、股价表现
以上内容均来自摩熵咨询{2024年中国医疗健康投融资全景洞察报告},如需查看或下载完整版报告,可点击!
想要解锁更多药企信息吗?查询摩熵医药(原药融云)数据库(vip.pharnexcloud.com/?zmt-mhwz)掌握药企公司基本信息、投融资情况、产品管线分布、药物销售情况与各维度分析、药物研发情况、年度报告、最新进展动态、临床试验信息、市场规模与前景等,以及帮助企业抉择可否投入时提供数据参考!注册立享15天免费试用!








川公网安备51019002008863号
本网站未发布麻醉药品、精神药品、医疗用毒性药品、放射性药品、戒毒药品和医疗机构制剂的产品信息
收藏
登录后参与评论
暂无评论