
3月15日,NMPA最新发布的一批药品批准证明文件待领取信息显示,上海信谊金朱药业的甲硫酸新斯的明注射液通过仿制药一致性评价,这是该品种仿制药首家过评。


截图来源:NMPA官网
据了解,甲硫酸新斯的明注射液是一款神经系统用药,可用于术后非去极化神经肌肉阻滞剂作用的逆转,原研产品为EXELA PHARMA SCIENCES LLC持有,2013年5月获FDA批准上市。近两年,甲硫酸新斯的明市场快速扩张,2020年院内销售额一举突破3亿元,同比增加650%。去年前三季度已突破8亿元,已远超2020年全年,同比增长283%。其中,甲硫酸新斯的明注射液为主力产品(市场占比92%)。企业方面,上海信谊金朱药业以近7成的市场份额牢占高地,此次过评将是其巩固市场的有力支持。
甲硫酸新斯的明院内销售情况

截图来源:药融云全国医院销售数据库
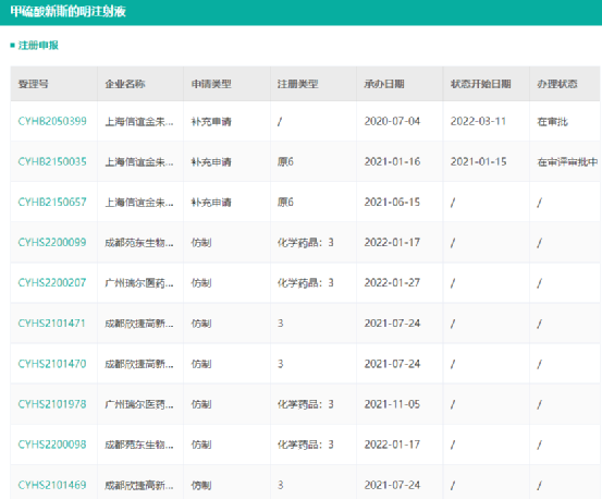
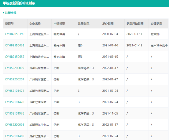
目前国内上海信谊金朱药业、博士伦、浙江仙琚制药等企业获批生产甲硫酸新斯的明相关制剂,其中上海信谊金朱药业递交了甲硫酸新斯的明注射液的仿制药一致性评价补充申请,并于近期首家过评。此外,还有太极集团/成都欣捷高新技术、苑东生物和广东瑞尔医药/河北凯威制药等企业均以仿制3类报产了甲硫酸新斯的明注射液。

截图来源:药融云仿制药一致性评价数据库
想要解锁更多仿制药一致性评价信息吗?查询药融云数据库(https://www.pharnexcloud.com/?zmt-mhwz)掌握仿制药申报情况、最新进展、过评情况、竞争格局、销售情况、市场规模与前景,可否投入仿制!注册立享15天免费试用和虎年首份医药数据大礼包!

—END—







川公网安备51019002008863号
本网站未发布麻醉药品、精神药品、医疗用毒性药品、放射性药品、戒毒药品和医疗机构制剂的产品信息
收藏
登录后参与评论
暂无评论