作为介入放射学的常用药物,造影剂拥有庞大的市场规模。目前我国院内造影剂市场累计销售额达1410.84亿元,且集中度较高,前十产品合计占据超80%的市场份额。从单品表现看,有21个产品累计销售额超1亿元,其中碘普罗胺注射液位列第四。

截图来源:摩熵医药全国医院(全终端)销售数据库
碘普罗胺注射液由德国拜耳公司研发生产,于1985年首次在欧洲上市,1997年1月在中国获批上市。此后,拜耳的产品独占国内市场二十余年。
2022年9月,倍特药业的碘普罗胺注射液获批上市,成为国内首仿。2024年3月,正大天晴的4类仿制药碘普罗胺注射液获批上市并视同过评,成为国产第2家。

截图来源:摩熵医药一致性评价数据库
从市场份额来看,当前碘普罗胺注射液院内市场仍由拜耳主导,占据99.85%的份额,倍特药业以2404万元的销售额位列第二(0.15%),重庆圣华曦药业排名第三。

截图来源:摩熵医药全国医院(全终端)销售数据库
目前已有多家药企积极布局碘普罗胺注射液市场。该产品有10家企业拥有生产批文,倍特药业、正大天晴、四川科伦药业、重庆圣华曦药业等9家国内药企过评。

截图来源:摩熵医药过评药品汇总数据库
除前文提及的鲁南贝特制药外,重庆药友制药与北京北陆药业也以仿制4类提交了上市申请,正处于审评阶段,获批后将视同通过一致性评价。

截图来源:摩熵医药中国药品审评数据库
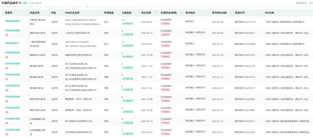
今年以来,造影剂已有8个品种(11个受理号)获批上市,涵盖注射用六氟化硫微泡、八氟丙烷脂质微球注射液、碘海醇注射液、钆喷酸葡胺注射液等,涉及企业包括华润双鹤药业、四川国瑞药业、博瑞制药、浙江兄弟药业等。

截图来源:摩熵医药中国药品审评数据库
此外,有8个品种(21个受理号)报产在审,包括南京正大天晴制药/四川汇宇制药的碘佛醇注射液、石家庄四药的钆布醇注射液等,八氟丙烷脂质微球注射液暂无仿制药企业获批,南京正大天晴制药、广州康臣药业均以仿制4类报产。

截图来源:摩熵医药中国药品审评数据库
想要解锁更多药物研发信息吗?查询摩熵医药(原药融云)数据库(vip.pharnexcloud.com/?zmt-mhwz)掌握药物基本信息、市场竞争格局、销售情况与各维度分析、药企研发进展、临床试验情况、申报审批情况、各国上市情况、最新市场动态、市场规模与前景等,以及帮助企业抉择可否投入时提供数据参考!注册立享15天免费试用!

收藏
登录后参与评论
暂无评论