
2月16日,浙江诺得药业递交的3类仿制药化药坎地氢噻片上市申请获CDE受理。据药融云数据库显示,目前该降压药在国内仅有江苏德源药业的国产仿制药独家生产销售,2022年迎来重大转折点,销售额大涨120%。另外,在当前浙江诺得药业已过评的10品种中,6款均为降压药物、医保品种。

截图来源:CDE官网
坎地氢噻片原研是由武田制药和阿斯利康研发的降压药,于2000年获FDA批准在美国上市。这是一种复方制剂,主要成分是ARB类药物坎地沙坦酯和利尿剂氢氯噻嗪,坎地氢噻片采用固体分散体技术,极大提高了两者的体外溶出,提高了药物稳定性。
2011年,江苏德源药业的国产仿制药获批在国内上市,坎地氢噻片被纳入国家医保乙类品种目录。据药融云医院销售数据库,近年来,坎地氢噻片市场逐渐打开,2021年院内销售额涨幅超200%;2022年前三季度销售额突破5千万元,同比增长120%。

截图来源:药融云全国医院销售数据库
目前坎地氢噻片原研药尚未在中国获批上市,国内仅有德源药业一家企业拥有其生产批文,为该产品国产仿制药的首仿+首家过评企业。除了此次报产的浙江诺得药业外,暂无其他药企申报该品种。
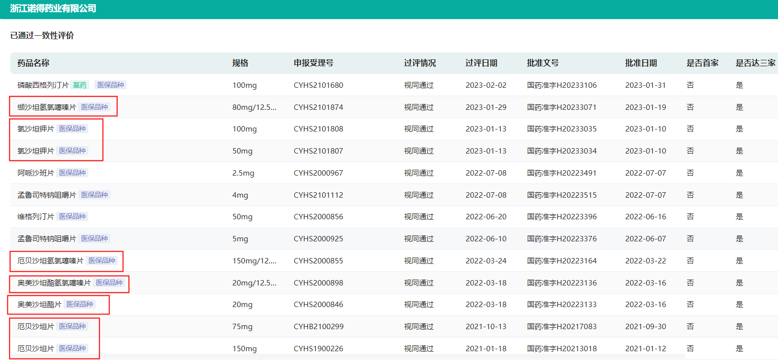
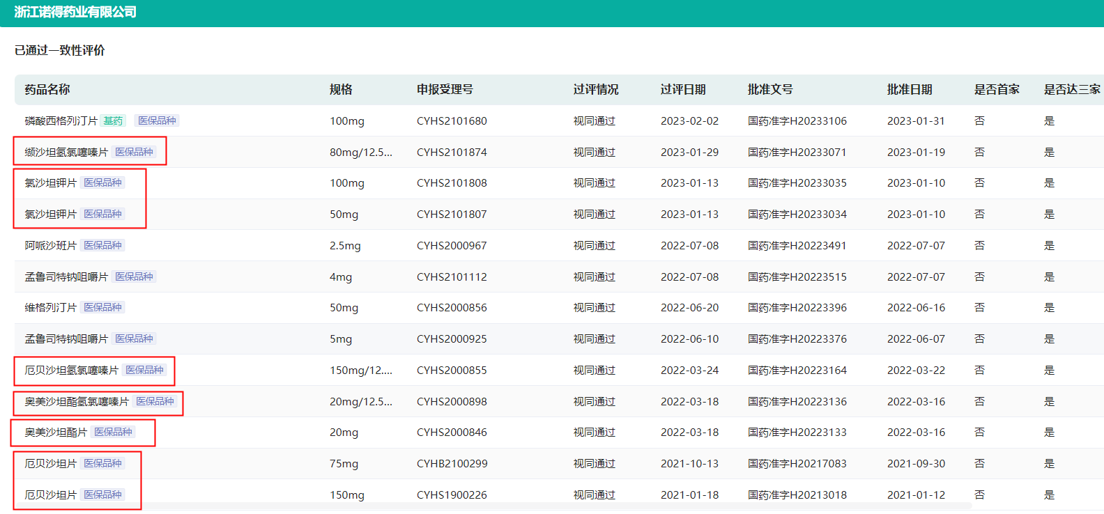
据药融云数据库,浙江诺得药业共有10个品种通过/视同通过仿制药一致性评价,其中氯沙坦钾片、缬沙坦氢氯噻嗪片、厄贝沙坦氢氯噻嗪片、奥美沙坦酯片、奥美沙坦酯氢氯噻嗪片、厄贝沙坦片等6款均为降压药物、均为医保品种、过评企业均达三家。
浙江诺得药业过评品种(红框内为降压药)

截图来源:药融云一致性评价数据库
参考来源:
[1] CDE官网
[2] 药融云数据库
想要解锁更多仿制药信息吗?查询药融云数据库(vip.pharnexcloud.com/?zmt-mhwz)掌握仿制药药企申报情况、上市情况、销售情况与各维度分析、国家审批最新进展、药品批文信息、集采情况、企业市场占比与前景等,以及帮助企业抉择可否投入时提供数据参考!注册立享15天免费试用!

<END>







川公网安备51019002008863号
本网站未发布麻醉药品、精神药品、医疗用毒性药品、放射性药品、戒毒药品和医疗机构制剂的产品信息
收藏
登录后参与评论
暂无评论