
近日,据NMPA官网公示,南京正大天晴制药的4类仿制化药马来酸阿伐曲泊帕片获批上市视同通过一致性评价,并斩获该品种首仿。据药融云数据统计,南京正大天晴已斩获8个首仿,此次马来酸阿伐曲泊帕片是今年最新斩获的第6个首仿。

截图来源:NMPA官网
阿伐曲泊帕原研来自美国AkaRx公司,是一款血小板生成素受体(TPO-R)激动剂,于2018年5月获FDA批准上市(商品名:Doptelet®),用于CLD相关血小板减少症的成年患者,这是全球首个FDA批准用于慢性肝病(CLD)相关血小板减少症的口服血小板生成素受体激动剂(TPO-RA)。主要通过刺激巨核细胞从骨髓祖细胞的增殖分化,促进血小板的生成,可短时间内(治疗后3-5天)快速提升血小板计数,适用于择期行诊断性操作或者手术的慢性肝病相关血小板减少症的成年患者。2020年4月,阿伐曲泊帕正式获得国家药品监督管理局批准进入国内,用于择期行诊断性操作或者手术的慢性肝病相关血小板减少症的成年患者治疗。这是复星医药首个引进的小分子创新药,也是国内首个获批用于慢性肝病相关血小板减少症的药物,现已纳入医保目录(乙类)。
据药融云数据库统计,马来酸阿伐曲泊帕片自上市后便开始了高速放量,上市次年院内销售额便突破1亿元,2022年达3.9亿元,同比增长超187% ,2023年H1全国院内销售达2.8亿元,已接近2022全年销售额,这一数据充分显示了该品种具有很大的市场潜力。

截图来源:药融云全国医院销售数据库
马来酸阿伐曲泊帕片是复星医药的主要收入支柱之一,过去一直由该公司在市场上独占鳌头。然而,近年来多家企业已经瞄准了这个具有巨大潜力的品种,市场竞争日趋激烈。
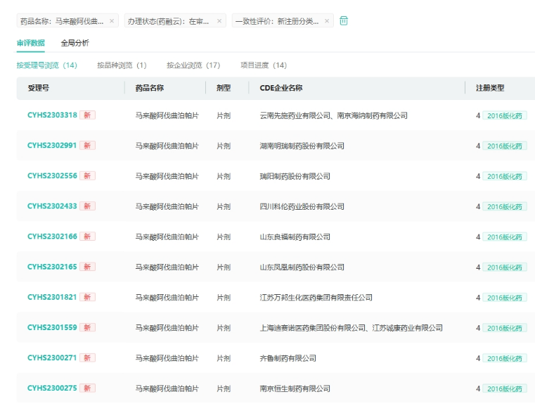
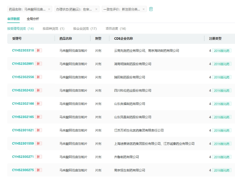
据药融云数据统计,目前马来酸阿伐曲泊帕片还有齐鲁制药、江苏万邦生化医药、成都倍特药业、四川科伦药业等17家企业提交了仿制申请,均在审评审批中。南京正大天晴制药是最早提交马来酸阿伐曲泊帕片上市申请的企业,此次成功获批并顺利拿下该品种的首仿,市场占据先发优势。

截图来源:药融云中国药品审评数据库
南京正大天晴在抢仿领域一直展现出卓越实力。现如今,南京正大天晴共有43个品种(60品规)通过/视同通过一致性评价,其中斩获马昔腾坦片、聚多卡醇注射液、芦比前列酮软胶囊、培唑帕尼片以及磷酸特地唑胺片等8个品种首仿。此次马来酸阿伐曲泊帕片是今年最新斩获的第6个首仿。

截图来源:药融云过评汇总+批文数据库
此外,南京正大天晴还提交了沙库巴曲缬沙坦钠片、罗沙司他胶囊、达格列净二甲双胍缓释片等18个品种的仿制申请,均在审评审批中。
<END>
要解锁更多企业药品研发信息吗?查询药融云数据库(vip.pharnexcloud.com/?zmt-mhwz)掌握药品各国上市情况、药品批文信息、销售情况与各维度分析、市场竞争格局、一致性评价情况、集采中标情况、药企申报审批信息、最新动态与前景等,以及帮助企业抉择可否投入时提供数据参考!注册立享15天免费试用!








川公网安备51019002008863号
本网站未发布麻醉药品、精神药品、医疗用毒性药品、放射性药品、戒毒药品和医疗机构制剂的产品信息
收藏
登录后参与评论
暂无评论