
近日,NMPA发布最新一批药品批准证明文件送达信息,其中,注射用头孢唑林钠迎来2家药企同日过评,分别是上海欣峰制药和安徽威尔曼制药。据药融云数据统计,该品种在2022年全国院内市场销售额超13亿元。

截图来源:NMPA官网
注射用头孢唑林钠属于国家医保目录甲类药物,1971年全球首次上市,于1973年以BRAND-NAME:ANCEF安斯夫®、KEFZOL®(ACSDOBFAR SPA)在美国注册上市。头孢唑林钠是第一代头孢中的经典药物,可用于甲氧西林敏感葡萄球菌、A组溶血性链球菌和肺炎链球菌等所致的上、下呼吸道感染,尿路感染,血流感染,心内膜炎,骨、关节感染及皮肤及软组织感染等;亦可用于流感嗜血杆菌、奇异变形杆菌、大肠埃希菌敏感株所致的尿路感染以及肺炎等。
据药融云数据统计,注射用头孢唑林钠在2018年全国院内市场销售额突破30亿元大关,2022年全国院内市场销售额超13亿元,2023年,截止Q3的最新数据显示,其全国医院市场销售额近11亿元。

截图来源:药融云全国医院销售数据库
在新注册分类仿制药申报方面,注射用头孢唑林钠有信东生技、重庆科瑞制药等4家药企提交了仿制申请,均在审评审批中。
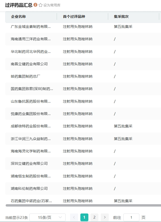
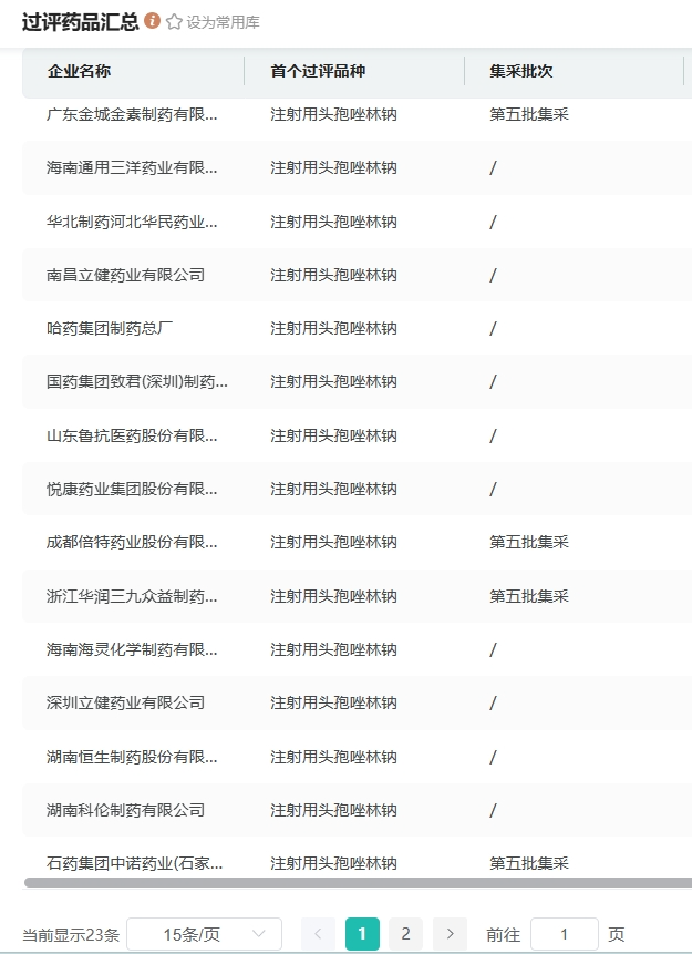
目前,注射用头孢唑林钠已有成都倍特药业、湖南科伦制药、石药集团等超百家药企拥有生产批文。此外,注射用头孢唑林钠有23家药企过评。其中有4家药企的注射用头孢唑林钠进入第5批集采,分别是广东金城金素制药、成都倍特药业、浙江华润三九众益制药、石药集团中诺药业(石家庄)。

截图来源:药融云过评药品汇总数据库
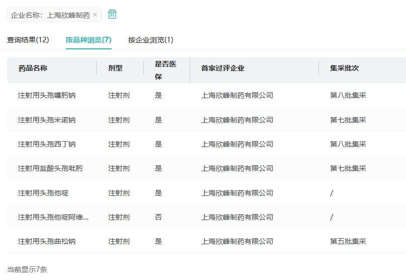
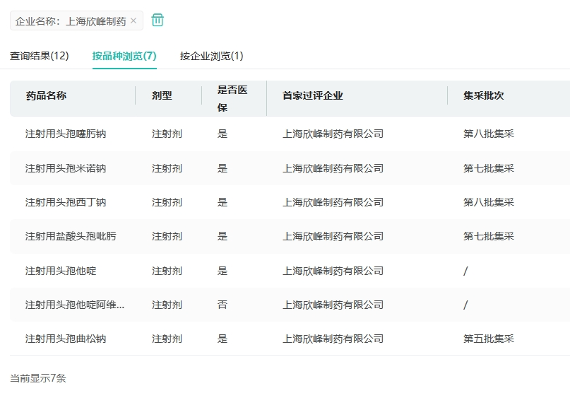
上海欣峰制药在仿制药领域持续深耕,目前已有注射用盐酸头孢吡肟、注射用头孢他啶阿维巴坦钠、注射用头孢米诺钠等7款品种过评。

截图来源:药融云过评药品汇总数据库
值得一提的是,上海欣峰制药在集采中取得了显著成果。其生产的注射用头孢噻肟钠和注射用头孢西丁钠2个品种成功进入第8批集采,同时,注射用头孢米诺钠和注射用盐酸头孢吡肟2个品种也顺利进入第7批集采。此外,该公司生产的注射用头孢曲松钠品种进入了第5批集采。
<END>
要解锁更多企业药品研发信息吗?查询药融云数据库(vip.pharnexcloud.com/?zmt-mhwz)掌握药品各国上市情况、药品批文信息、销售情况与各维度分析、市场竞争格局、一致性评价情况、集采中标情况、药企申报审批信息、最新动态与前景等,以及帮助企业抉择可否投入时提供数据参考!注册立享15天免费试用!








川公网安备51019002008863号
本网站未发布麻醉药品、精神药品、医疗用毒性药品、放射性药品、戒毒药品和医疗机构制剂的产品信息
收藏
登录后参与评论
暂无评论