
近日,辽宁省药品集中采购网发布一则药品降价通知。于7月17日起,执行新的挂网采购价格,本次共有23个药品主动调价,降价产品设置采购过渡期,时间为1周。

来源:辽宁省药品集中采购网
本次药品价格调整中,湖北民康制药的香丹注射液以超77%的显著降幅领跑,成为降价幅度最大的品种。在主动降价的23款药品中,化药占据了绝大多数席位,共计21款,而生物制品与中成药则各有1款上榜。
从药品剂型分布来看,片剂以高达40%的占比稳居首位,成为降价药品中的主要剂型,反映出该类药品在市场需求与供应调整上的灵活性。紧随其后的是注射剂,占比达到30%。
从治疗领域大类来看,心血管系统药物以6个品种的数量优势位居榜首,紧随其后得是抗肿瘤药和免疫机能调节药物,有5个品种。

来源:辽宁省药品集中采购网,药融云整理
本次降价最高的香丹注射液,由丹参及降香提取物组成的中药注射液,有效成分为丹参酮、原儿茶醛、原二茶酸等,具有活血化瘀、通脉养心之功能。据药融云数据库显示,香丹注射液在2023年全国院内市场的销售额超13亿元,同比增长达50.70%。

截图来源:药融云全国医院销售数据库
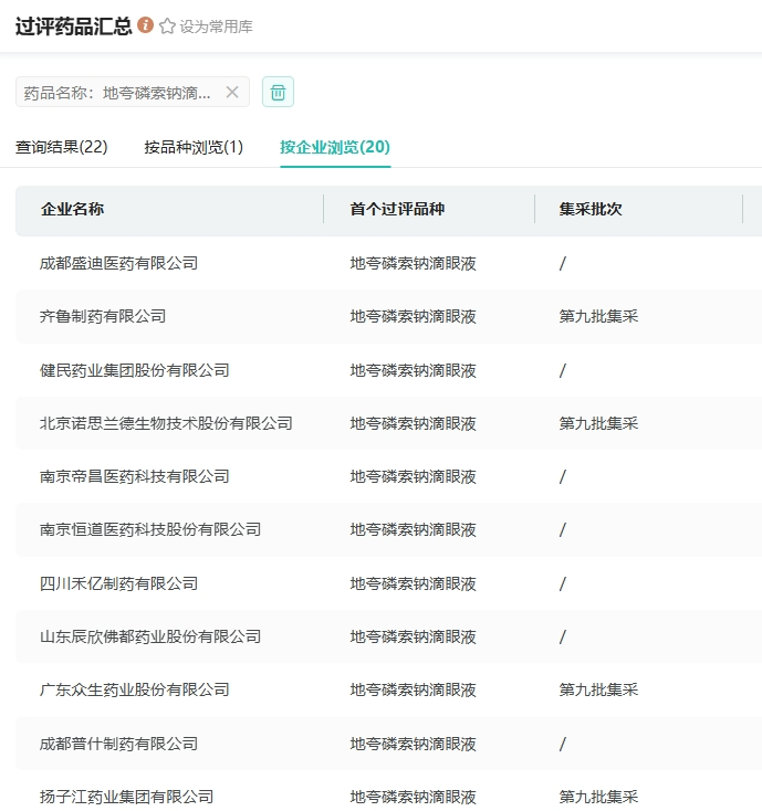
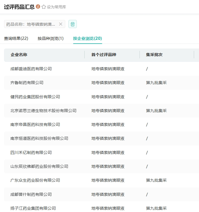
其中,恒瑞医药子公司成都盛迪医药的地夸磷索钠滴眼液品种降幅微小,地夸磷索钠滴眼液原研为参天制药,由其获Inspire制药公司(默克子公司)授权后开发。该药最早于2010年12月在日本上市,用于干眼症的治疗。盛迪医药于2023年9月获批上市。据药融云数据库显示,地夸磷索钠滴眼液在2023年全国院内销售额超1亿元,同比增长达10.03%。目前,地夸磷索钠滴眼液有成都盛迪医药、齐鲁制药、扬子江药业,江苏万高药业等20家药企获批并过评。

截图来源:药融云过评药品汇总数据库
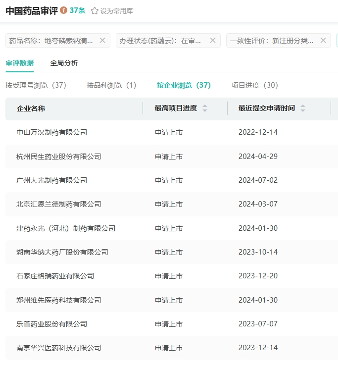
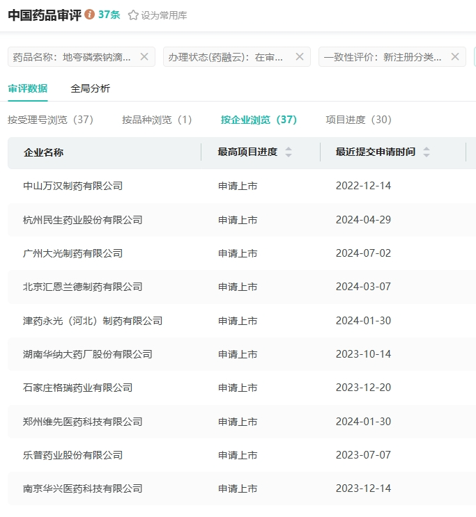
在仿制药布局方面,地夸磷索钠滴眼液有杭州民生药业、中山万汉制药、广州大光制药、石家庄格瑞药业等37家药企提交了上市申请,均在审评审批中。

截图来源:药融云中国药品审评数据库
此外,辽宁省此次药品调价名单中,达沙替尼片、硫唑嘌呤片、盐酸美金刚缓释胶囊、枸橼酸托法替布缓释片、酒石酸溴莫尼定滴眼液、孟鲁司特钠咀嚼片、地夸磷索钠滴眼液7个品种降幅均低于5%。
<END>
想要解锁更多药品信息吗?查询药融云数据库(vip.pharnexcloud.com/?zmt-mhwz)掌握药品各国上市情况、药品批文信息、销售情况与各维度分析、市场竞争格局、一致性评价情况、集采中标情况、药企申报审批信息、最新动态与前景等,以及帮助企业抉择可否投入时提供数据参考!注册立享15天免费试用!








川公网安备51019002008863号
本网站未发布麻醉药品、精神药品、医疗用毒性药品、放射性药品、戒毒药品和医疗机构制剂的产品信息
收藏
登录后参与评论
暂无评论